TOP
|
特許
|
意匠
|
商標
特許ウォッチ
Twitter
他の特許を見る
10個以上の画像は省略されています。
公開番号
2025120495
公報種別
公開特許公報(A)
公開日
2025-08-15
出願番号
2025101900,2024071108
出願日
2025-06-18,2020-06-11
発明の名称
ズームレンズ及びそれを有する撮像装置
出願人
キヤノン株式会社
代理人
個人
,
個人
,
個人
主分類
G02B
15/20 20060101AFI20250807BHJP(光学)
要約
【課題】像振れ補正時の収差変動を良好に補正し、全ズーム範囲にわたり像振れ補正時に高い光学性能が得られる小型なズームレンズを提供する。
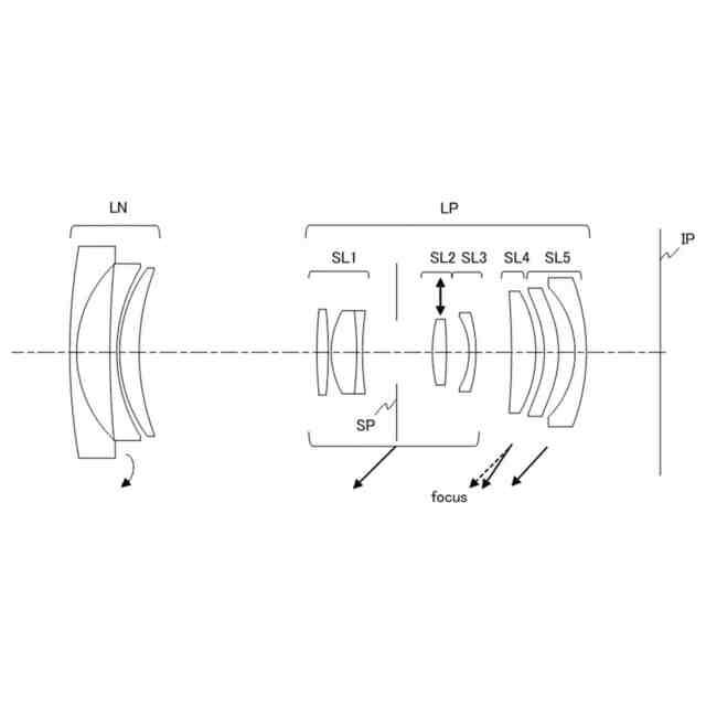
【解決手段】ズームレンズは、物体側から像側へ順に配置された、負の屈折力の前群(LN)と、全体として正の屈折力の後群(LP)と、からなり、後群は、物体側から像側へ順に配置された、正の屈折力の第1部分群(SL1)と、正の屈折力の第2部分群(SL2)と、負の屈折力の第3部分群(SL3)と、第4部分群(SL4)とを有し、前群は、物体側に凸面を向けた正メニスカスレンズを有し、ズーミングに際して前群と後群の間隔は変化し、ズーミングおよびフォーカシングの少なくとも一方に際して第3部分群と第4部分群の間隔は変化し、第1部分群、第3部分群、および第4部分群は、像振れ補正の際に不動であって、第2部分群は、像振れ補正の際に、光軸に対して垂直方向の成分を持つように移動する。
【選択図】図1
特許請求の範囲
【請求項1】
物体側から像側へ順に配置された、負の屈折力の前群と、全体として正の屈折力の後群と、からなるズームレンズであって、
前記後群は、物体側から像側へ順に配置された、正の屈折力の第1部分群と、正の屈折力の第2部分群と、負の屈折力の第3部分群と、第4部分群とを有し、
ズーミングに際して前記前群と前記後群の間隔は変化し、
ズーミングおよびフォーカシングの少なくとも一方に際して前記第3部分群と前記第4部分群の間隔は変化し、
前記第1部分群、前記第3部分群、および前記第4部分群は、像振れ補正の際に不動であって、
前記第2部分群は、正レンズと負レンズとが接合された接合レンズからなり、前記像振れ補正の際に光軸に対して垂直方向の成分を持つように移動することを特徴とするズームレンズ。
続きを表示(約 1,200 文字)
【請求項2】
望遠端における前記第2部分群の横倍率をβ22t、望遠端における前記第2部分群より像側の全てのレンズの横倍率をβ22rtとしたとき、
1.0<(1-β22t)×β22rt<3.0
なる条件を満たすことを特徴とする請求項1に記載のズームレンズ。
【請求項3】
前記第1部分群の焦点距離をf21p、前記第2部分群の焦点距離をf22pとしたとき、
0.5<f21p/f22p<2.0
なる条件を満たすことを特徴とする請求項1または2に記載のズームレンズ。
【請求項4】
前記第2部分群の焦点距離をf22p、前記第3部分群の焦点距離をf23nとしたとき、
-1.5<f22p/f23n<-0.5
なる条件を満たすことを特徴とする請求項1から3のいずれか一項に記載のズームレンズ。
【請求項5】
前記第2部分群の焦点距離をf22p、広角端における前記第1部分群から前記第3部分群までの合成焦点距離をf2wとしたとき、
0.5<f22p/f2w<2.0
なる条件を満たすことを特徴とする請求項1から4のいずれか一項に記載のズームレンズ。
【請求項6】
前記第3部分群の焦点距離をf23n、広角端における前記第1部分群から前記第3部分群までの合成焦点距離をf2wとしたとき、
-2.0<f23n/f2w<-0.5
なる条件を満たすことを特徴とする請求項1から5のいずれか一項に記載のズームレンズ。
【請求項7】
前記第1部分群と前記第2部分群の間に配置された絞りを更に有し、
広角端における前記絞りから前記第2部分群の物体側面頂点までの距離をdw、広角端における全系の光学全長をLwとしたとき、
0.01<|dw/Lw|<0.10
なる条件を満たすことを特徴とする請求項1から6のいずれか一項に記載のズームレンズ。
【請求項8】
前記第3部分群の最も物体側のレンズ面の曲率半径をrn1、前記第3部分群の最も像側の曲率半径をrn2としたとき、
-8.0<(rn1+rn2)/(rn1-rn2)<-2.0
なる条件を満たすことを特徴とする請求項1から7のいずれか一項に記載のズームレンズ。
【請求項9】
前記第4部分群は正の屈折力を有し、
フォーカシングの際、前記第4部分群の一部または全てのレンズが移動すること特徴とする請求項1から8のいずれか一項に記載のズームレンズ。
【請求項10】
前記前群は、前記ズーミングに際して移動することを特徴とする請求項1から9のいずれか一項に記載のズームレンズ。
(【請求項11】以降は省略されています)
発明の詳細な説明
【技術分野】
【0001】
本発明はズームレンズ及びそれを有する撮像装置に関し、特にデジタルスチルカメラ、ビデオカメラ、監視用カメラ、車載カメラなどの撮像装置に好適なものである。
続きを表示(約 1,800 文字)
【背景技術】
【0002】
近年、デジタルスチルカメラ、ビデオカメラにおいて、全系が小型で高解像力(高い光学性能)のズームレンズが求められている。
【0003】
また、ズームレンズに手ぶれ等の偶発的な振動が伝わったときに生ずる画像のぶれ(像振れ)を補償する機構(防振機構)を備えていること等が要求されている。これらの要求に応えるズームレンズとして、最も物体側に負の屈折力のレンズ群を配置したネガティブリード型のズームレンズが知られている。このネガティブリード型のズームレンズにおいて、像振れを一部のレンズ群(防振群、像振れ補正群)を光軸に対して垂直方向の成分を持つように移動させて補償する防振機構を有したズームレンズが知られている(特許文献1、特許文献2)。
【0004】
特許文献1では、物体側から像側へ順に、負の屈折力の第1レンズ群、正の屈折力の第2レンズ群、負または正の屈折力の後続群を持つ3群構成または4群構成のズームレンズが開示されている。特許文献1のズームレンズでは、第2レンズ群内の一部のレンズ部を光軸と垂直方向に移動させ、像振れ補正を行うズームレンズを開示している。
【0005】
特許文献2では、物体側から像側へ順に、負の屈折力の第1レンズ群、正の屈折力の第2レンズ群、正の屈折力の第3レンズ群、負の屈折力の第4レンズ群よりなる4群構成のズームレンズが開示されている。特許文献2のズームレンズでは、第2レンズ群内の一部のレンズ部で像振れ補正を行い、第3レンズ群が光軸方向に移動することでフォーカシングを行うズームレンズを開示している。
【先行技術文献】
【特許文献】
【0006】
特開2018-025572号公報
特開2019-008235号公報
【発明の概要】
【発明が解決しようとする課題】
【0007】
近年、像振れ補正のために像振れ補正群を光軸に対して垂直方向に移動させて補正する場合には、移動機構(防振機構)の小型化、及び省電力を図るために像振れの補正群が小型軽量であることが求められている。また、像振れ補正時の収差変動、特に色収差の変動が少なく、像振れ補正時にも良好なる光学性能が維持されること等が求められている。
【0008】
一般的にズームレンズの一部のレンズ群を像振れ補正群とし、光軸に対して垂直方向に移動させて像振れの補正を行うことができる。しかしながら、ズームレンズのレンズ構成及び像振れ補正のために移動させる像振れ補正群のレンズ構成が適切でないと、所望の像振れ補正量を得るために、像振れ補正群の移動量が大きくなる。あるいは、像振れ補正時の光学性能が大きく低下したり、像振れ補正群のレンズ径の大型化したりする。このため、防振機構を有するズームレンズにおいて、全体のズーム構成や像振れ補正群のレンズ構成等を適切に設定することが重要になってくる。特に、ズームレンズを構成するレンズ群の数、各レンズ群の屈折力、像振れ補正群の構成等を適切に設定することが必要となる。
【0009】
本発明は、像振れ補正時の収差変動を良好に補正し、全ズーム範囲にわたり像振れ補正時に高い光学性能が得られる小型なズームレンズを提供する。
【課題を解決するための手段】
【0010】
本発明の一側面としてのズームレンズは、 物体側から像側へ順に配置された、負の屈折力の前群と、全体として正の屈折力の後群と、からなるズームレンズであって、前記後群は、物体側から像側へ順に配置された、正の屈折力の第1部分群と、正の屈折力の第2部分群と、負の屈折力の第3部分群と、第4部分群とを有し、ズーミングに際して前記前群と前記後群の間隔は変化し、ズーミングおよびフォーカシングの少なくとも一方に際して前記第3部分群と前記第4部分群の間隔は変化し、前記第1部分群、前記第3部分群、および前記第4部分群は、像振れ補正の際に不動であって、前記第2部分群は、正レンズと負レンズとが接合された接合レンズからなり、前記像振れ補正の際に光軸に対して垂直方向の成分を持つように移動することを特徴とするズームレンズ。 本発明の他の目的及び特徴は、以下の実施例において説明される。
【発明の効果】
(【0011】以降は省略されています)
この特許をJ-PlatPat(特許庁公式サイト)で参照する
関連特許
個人
立体像表示装置
13日前
住友化学株式会社
偏光板
10日前
カンタツ株式会社
光学系
5日前
住友化学株式会社
垂直偏光板
10日前
東レ株式会社
赤外線遮蔽構成体
13日前
東レ株式会社
貼合体の製造方法
13日前
古河電気工業株式会社
融着機
5日前
日本電気株式会社
光集積回路素子
17日前
三菱電機株式会社
レンズモジュール
10日前
個人
眼鏡装着位置変更具および眼鏡
11日前
AGC株式会社
インフィニティミラー
6日前
住友化学株式会社
偏光板
13日前
住友化学株式会社
積層体
17日前
住友化学株式会社
偏光板
13日前
日東電工株式会社
調光フィルム
18日前
住友化学株式会社
偏光積層体
13日前
新光電気工業株式会社
光導波路部品
10日前
住友化学株式会社
光学積層体
13日前
新光電気工業株式会社
光導波路部品
10日前
富士通株式会社
波長変換装置および波長変換方法
3日前
キヤノン電子株式会社
光学部材、撮像装置及び宇宙航行体
11日前
キヤノン電子株式会社
光学部材、撮像装置及び宇宙航行体
11日前
株式会社小糸製作所
画像投影装置
10日前
TDK株式会社
メタサーフェスレンズ
17日前
日東電工株式会社
積層光学部材及び光学装置
17日前
京セラ株式会社
走査装置及び制御装置
17日前
住友ベークライト株式会社
光学シート
17日前
京セラ株式会社
走査装置及び制御装置
17日前
住友ベークライト株式会社
光学性積層体
17日前
住友ベークライト株式会社
光学性積層体
17日前
日本カーバイド工業株式会社
微小球型再帰反射シート
17日前
日本カーバイド工業株式会社
微小球型再帰反射シート
17日前
株式会社表面・界面工房
反射防止膜
13日前
住友化学株式会社
積層体および表示装置
17日前
キヤノン株式会社
走査光学装置及び画像形成装置
6日前
株式会社エビデント
顕微鏡システム
10日前
続きを見る
他の特許を見る