TOP
|
特許
|
意匠
|
商標
特許ウォッチ
Twitter
他の特許を見る
公開番号
2025122117
公報種別
公開特許公報(A)
公開日
2025-08-20
出願番号
2025085789,2021032897
出願日
2025-05-22,2021-03-02
発明の名称
直液式芳香消臭剤容器
出願人
三菱鉛筆株式会社
代理人
個人
,
個人
,
個人
,
個人
主分類
A61L
9/12 20060101AFI20250813BHJP(医学または獣医学;衛生学)
要約
【課題】 持ち運び性、耐振動性及び利便性を高度に両立することができ、要求性能を満足することができる直液式芳香消臭剤容器を提供する。
【解決手段】 少なくとも、容器10と、該容器10に貯留された液状芳香消臭剤20と、上記容器10に設けられた芳香揮発部材30とバルブ部材40とを有し、上記バルブ部材40の開閉により、液状芳香消臭剤20の密閉と、芳香揮発部材30に液状芳香消臭剤20が供給されて揮発することを特徴とする直液式芳香消臭剤容器A。
上記液状芳香消臭剤20としては、例えば、揮発して芳香を発する成分、消臭作用のある成分、森林浴効果などの有効な作用を発する成分、人を鎮静させる作用を有する成分、眠気を覚ましたりする覚醒作用を有する少なくとも1種の芳香消臭成分を含有するものが挙げられる。
【選択図】 図1
特許請求の範囲
【請求項1】
本願明細書に記載の発明。
発明の詳細な説明
【技術分野】
【0001】
本発明は、持ち運び性、耐振動性、利便性に優れる直液式芳香消臭剤容器に関する。
続きを表示(約 2,600 文字)
【背景技術】
【0002】
従来より、芳香消臭剤容器は、多種多様の形状、構造のものが知られている。直液式タイプでは、少なくとも、液状芳香消臭剤を直接収容する容器と、揮発を促進させる多孔質体との組み合わせで構成されている。
従来の直液式タイプの芳香消臭剤容器としては、例えば、
1) 一定濃度の芳香、消臭剤を長期間揮散せしめるトイレや部屋等の芳香、消臭器を提供するために、水或いは油により膨潤する基材を揮散面に使用する芳香、消臭器、又はこの基材の膨潤作用を利用して外壁或いは蓋の自動的開閉が行なわれ、芳香、消臭効果が達成される芳香、消臭器(例えば、特許文献1参照)、
2) 芳香剤等の液剤を、常温で蒸発させるための開口部に、浸透、透液または透湿する物質を設置した、硝子、金属またはプラスチック等の芳香容器(例えば、特許文献2参照)、
3) 常温で気化可能な蚊取り殺虫薬液を収容した薬液収容部と、この薬液収容部に連通状に接続して、蚊取り殺虫薬液を毛細管移動させて表面部から気化・放散可能な薬液放散部とからなることを特徴とする携帯用蚊取り器(例えば、特許文献3参照)、
4) 視覚的な意外性を与えることができるうえ、これ以外の付加価値も付加できる筆記具を提供するために、インク用液体と、このインク用液体に着色するための着色剤の主体とが分離されて収納され、インク用液体が筆記先端へ誘導される途中で、着色剤がインク用液体に添加されるように設けられている筆記具であって、前記インク用液体が香料を含んでいることを特徴とする筆記具(例えば、特許文献4照)、
などが知られている。
【0003】
しかしながら、上記特許文献1~4の直液式タイプの芳香消臭剤容器等では、持ち運び性、耐振動性、利便性などの内、少なくとも1つ以上の点で満足のいくものでなく、未だ不十分であるなどの課題があるのが現状であった。
【先行技術文献】
【特許文献】
【0004】
特開平7-31670号公報(特許請求の範囲、図1~図4)
実開平5-48944号公報(実用新案登録請求の範囲、図1)
特開2003-199473号公報(特許請求の範囲、図1等)
特開2004-142255号公報(特許請求の範囲、図1等)
【発明の概要】
【発明が解決しようとする課題】
【0005】
本開示は、上記従来技術の課題及び現状等に鑑み、これを解消しようとするものであり、要求される持ち運び性、耐振動性及び利便性を高度に両立することができる直液式芳香消臭剤容器を提供することを目的とする。
【課題を解決するための手段】
【0006】
本発明者らは、上記従来の課題等に鑑み、これを解消しようとするものであり、少なくとも、容器と、該容器に貯留された液状芳香消臭剤と、上記容器に設けられた所定部材の開閉により、液状芳香消臭剤の密閉と、芳香揮発部材に液状芳香消臭剤が供給されて揮発する構成などとすることにより、上記目的の直液式芳香消臭剤容器が得られることを見出し、本開示を完成するに至ったのである。
【0007】
すなわち、本開示の直液式芳香消臭剤容器は、少なくとも、容器と、該容器に貯留された液状芳香消臭剤と、上記容器に設けられた芳香揮発部材とバルブ部材とを有し、上記バルブ部材の開閉により、液状芳香消臭剤の密閉と、芳香揮発部材に液状芳香消臭剤が供給されて揮発することを特徴とする。
また、本開示の直液式芳香消臭剤容器は、少なくとも、容器と、該容器に貯留された液状芳香消臭剤と、上記容器に設けられた芳香揮発部材とを有し、上記容器には、容器の内圧が上昇した際に、液状芳香消臭剤の芳香揮発部材からの噴出を防止する一時貯留部材を備えてなることを特徴とする。
前記液体芳香消臭組成物は、擬塑性が付与されていることが好ましい。
前記芳香揮発部材は、カーボン多孔質体であることが好ましい。
前記芳香揮発部材は、矩形断面の多孔質体であることが好ましい。
【発明の効果】
【0008】
本開示によれば、持ち運び性、耐振動性及び利便性を高度に両立することができ、要求性能を満足することができる直液式芳香消臭剤容器が提供される。
本発明の目的及び効果は、特に請求項において指摘される構成要素及び組み合わせを用いることによって認識され且つ得られるものである。上述の一般的な説明及び後述の詳細な説明の両方は、例示的及び説明的なものであり、特許請求の範囲に記載されている本発明を制限するものではない。
【図面の簡単な説明】
【0009】
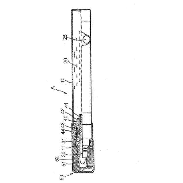
第1の実施形態を示す直液式芳香消臭剤容器の部分縦断面図である。
(a)及び(b)は、第2の実施形態を示す直液式芳香消臭剤容器であり、(a)は縦断面図、(b)は分解縦断面図である。
(a)~(c)は、第3の実施形態を示す直液式芳香消臭剤容器の平面図、正面図、縦断面図である。
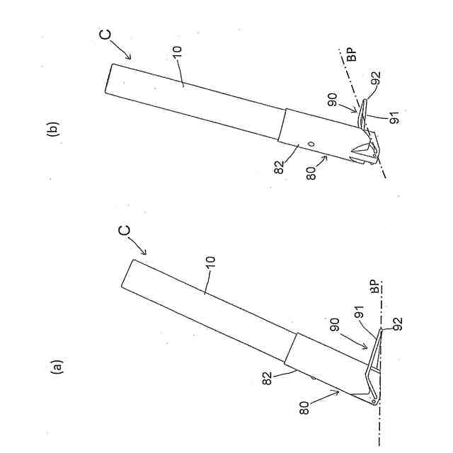
(a)及び(b)は、第3の実施形態の直液式芳香消臭剤容器の各使用状態の説明を斜視図態様で示す説明図である。
(a)及び(b)は、第3の実施形態の直液式芳香消臭剤容器の各使用状態の説明を斜視図態様で示す説明図である。
【発明を実施するための形態】
【0010】
以下に、各実施形態について図面を参照しながら詳しく説明する。但し、本発明の技術的範囲は下記で詳述するそれぞれの実施の形態に限定されず、特許請求の範囲に記載された発明とその均等物に及ぶ点に留意されたい。
なお、各図において、筆記具A、B、C及びその構成部品についての「前方」とは、筆記具A、B、Cの先端の方向を示し、「後方」とはその反対側の方向を示し、「軸方向」とは、軸筒10等の前方から後方までを貫く軸の方向を示し、「横断方向」とは、軸方向に直交する方向を示すものとする。また、各図面間で共通して付されている符号は、特に各図面の説明において言及がなくとも、同じ構成又は部材を表している。
(【0011】以降は省略されています)
この特許をJ-PlatPat(特許庁公式サイト)で参照する
関連特許
三菱鉛筆株式会社
筆記具
1日前
三菱鉛筆株式会社
塗布具
1日前
三菱鉛筆株式会社
筆記具
6日前
三菱鉛筆株式会社
化粧料塗布具
8日前
三菱鉛筆株式会社
化粧関連製品セット
1日前
三菱鉛筆株式会社
炭素繊維-樹脂複合シート
6日前
個人
短下肢装具
2か月前
個人
排尿補助器具
1日前
個人
嚥下鍛錬装置
3か月前
個人
前腕誘導装置
2か月前
個人
矯正椅子
4か月前
個人
アイマスク装置
1か月前
個人
汚れ防止シート
16日前
個人
バッグ式オムツ
4か月前
個人
歯の修復用材料
3か月前
個人
胸骨圧迫補助具
1か月前
個人
シャンプー
5か月前
個人
歯の保護用シール
4か月前
個人
湿布連続貼り機。
1か月前
個人
哺乳瓶冷まし容器
2か月前
個人
陣痛緩和具
3か月前
個人
エア誘導コルセット
1か月前
個人
治療用酸化防御装置
1か月前
株式会社八光
剥離吸引管
4か月前
個人
性行為補助具
2か月前
株式会社大野
骨壷
3か月前
個人
精力増強キット
20日前
株式会社ニデック
眼科装置
28日前
株式会社コロナ
サウナ装置
5か月前
個人
形見の製造方法
3か月前
個人
シリンダ式歩行補助具
2か月前
株式会社ニデック
眼科装置
28日前
個人
手指運動ツール
1か月前
株式会社ニデック
検眼装置
3か月前
個人
高気圧環境装置
4か月前
株式会社GSユアサ
歩行器
4か月前
続きを見る
他の特許を見る