TOP
|
特許
|
意匠
|
商標
特許ウォッチ
Twitter
他の特許を見る
公開番号
2025125890
公報種別
公開特許公報(A)
公開日
2025-08-28
出願番号
2024022141
出願日
2024-02-16
発明の名称
表皮加飾部品
出願人
日本プラスト株式会社
代理人
個人
,
個人
主分類
B29C
65/48 20060101AFI20250821BHJP(プラスチックの加工;可塑状態の物質の加工一般)
要約
【課題】表皮体の端末部における余り皴に起因する外観不良を抑制できる表皮加飾部品を提供する。
【解決手段】基材2と、加飾用の表皮体3と、を備える表皮加飾部品1であって、基材2は、基材本体部5と、基材本体部5の裏側に立設され、基材本体部5の外縁部10に沿って位置する周縁壁部14と、基材本体部5の裏側に立設され、基材本体部5の外縁部10に対して基材本体部5の内方に傾斜する方向に沿って位置する延設壁部17と、を有する。表皮体3は、基材本体部5の表側の少なくとも一部を覆う表皮体本体部22と、基材本体部5の外縁部10から周縁壁部14の表側を覆う第一端末部23aと、基材本体部5の裏側から延設壁部17の表側を覆い第一端末部23aと連なる第二端末部23bと、を有する。
【選択図】図1
特許請求の範囲
【請求項1】
基材と、加飾用の表皮体と、を備える表皮加飾部品であって、
前記基材は、
基材本体部と、
前記基材本体部の裏側に立設され、前記基材本体部の外縁部に沿って位置する周縁壁部と、
前記基材本体部の裏側に立設され、前記基材本体部の外縁部に対して前記基材本体部の内方に傾斜する方向に沿って位置する延設壁部と、を有し、
前記表皮体は、前記基材本体部の表側の少なくとも一部を覆う表皮体本体部と、前記基材本体部の外縁部から前記周縁壁部の表側を覆う第一端末部と、前記基材本体部の裏側から前記延設壁部の表側を覆い前記第一端末部と連なる第二端末部と、を有する
ことを特徴とする表皮加飾部品。
続きを表示(約 120 文字)
【請求項2】
基材本体部は、外縁部の裏側に形成されて延設壁部と近接する面部を備え、
前記面部における前記基材本体部の外縁部端面と前記延設壁部の面とが所定の角度をなして交差している
ことを特徴とする請求項1記載の表皮加飾部品。
発明の詳細な説明
【技術分野】
【0001】
本発明は、基材と、加飾用の表皮体と、を備える表皮加飾部品に関する。
続きを表示(約 1,300 文字)
【背景技術】
【0002】
従来、例えば自動車の内装材などとして用いられる表皮加飾部品として、合成樹脂製の基材の表面を皮革などにより形成された表皮体により覆うものが知られている。基材には、基材本体部の外縁部から裏側へと立設された縦壁部が設定されており、表皮体は、基材本体部から縦壁部に亘って基材の表面を覆うとともに、端末部が縦壁部の先端部から裏側へと折り返されて基材に固定されている。四角形状の基材の場合には、縦壁部のコーナー部において表皮体の端末部に余りが生じるため、この余りを逃がすために縦壁部の肉厚をコーナー部に形成している(例えば、特許文献1参照。)。
【先行技術文献】
【特許文献】
【0003】
特開平7-81487号公報
【発明の概要】
【発明が解決しようとする課題】
【0004】
上述の構成の場合、縦壁部の肉厚がコーナー部近傍とその他の部分とで均一でないため、表皮体において縦壁部を覆う意匠部分の外観が肉厚の不均一さの影響を受けることが懸念される。
【0005】
本発明は、このような点に鑑みなされたもので、表皮体の端末部における余り皴に起因する外観不良を抑制できる表皮加飾部品を提供することを目的とする。
【課題を解決するための手段】
【0006】
本発明の態様に係る表皮加飾部品は、基材と、加飾用の表皮体と、を備える表皮加飾部品であって、前記基材は、基材本体部と、前記基材本体部の裏側に立設され、前記基材本体部の外縁部に沿って位置する周縁壁部と、前記基材本体部の裏側に立設され、前記基材本体部の外縁部に対して前記基材本体部の内方に傾斜する方向に沿って位置する延設壁部と、を有し、前記表皮体は、前記基材本体部の表側の少なくとも一部を覆う表皮体本体部と、前記基材本体部の外縁部から前記周縁壁部の表側を覆う第一端末部と、前記基材本体部の裏側から前記延設壁部の表側を覆い前記第一端末部と連なる第二端末部と、を有する。
【発明の効果】
【0007】
本発明によれば、表皮体の端末部の余り皴を第二端末部に集中させ、第一端末部に余り皴を生じさせにくくでき、この余り皴に起因する外観不良を抑制できる。
【図面の簡単な説明】
【0008】
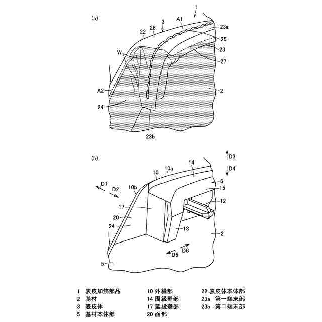
(a)は本発明の一実施の形態の表皮加飾部品の一部を示す斜視図、(b)は表皮加飾部品の基材の一部を示す斜視図である。
同上基材の一部を反意匠側から示す平面図である。
【発明を実施するための形態】
【0009】
以下、本発明の一実施の形態について、図面を参照して説明する。
【0010】
図1(a)において、1は表皮加飾部品を示す。表皮加飾部品1は、任意のものとしてよいが、本実施の形態では、例えば自動車などの車両用の内装材などである。表皮加飾部品1は、基材2と、基材2の加飾用の表皮体3と、を備えている。基材2と表皮体3との間の少なくとも一部に、弾性材(クッション材)などの別部材が配置されていてもよい。表皮加飾部品1の形状は、四角形状や円形状など、任意に設定してよい。
(【0011】以降は省略されています)
この特許をJ-PlatPat(特許庁公式サイト)で参照する
関連特許
日本プラスト株式会社
ロック装置及び収納装置
2日前
個人
気泡緩衝材減容装置
17日前
東レ株式会社
吹出しノズル
10か月前
豊田鉄工株式会社
金型
2か月前
シーメット株式会社
光造形装置
9か月前
CKD株式会社
型用台車
9か月前
東レ株式会社
フィルムの製造方法
3か月前
グンゼ株式会社
ピン
10か月前
東レ株式会社
フィルムの製造方法
6か月前
東レ株式会社
フィルムの製造方法
3か月前
株式会社FTS
ロッド
8か月前
株式会社カワタ
計量混合装置
4か月前
日機装株式会社
加圧システム
5か月前
個人
樹脂可塑化方法及び装置
8か月前
東レ株式会社
フィルムの製造方法。
2か月前
東レ株式会社
樹脂フィルムの製造方法
4か月前
株式会社FTS
成形装置
9か月前
トヨタ自動車株式会社
射出装置
7か月前
NOK株式会社
樹脂ゴム複合体
1か月前
株式会社シロハチ
真空チャンバ
11か月前
株式会社漆原
シートの成形方法
4か月前
株式会社不二越
射出成形機
6か月前
株式会社不二越
射出成形機
6か月前
株式会社不二越
射出成形機
1か月前
株式会社不二越
射出成形機
4か月前
株式会社不二越
射出成形機
6か月前
株式会社リコー
画像形成システム
10か月前
東レ株式会社
炭素繊維シートの製造方法
5か月前
株式会社コスメック
射出成形装置
4か月前
株式会社神戸製鋼所
混練機
8か月前
株式会社FTS
セパレータ
8か月前
株式会社バルカー
シートガスケット
12日前
日産自動車株式会社
成形装置
3か月前
トヨタ自動車株式会社
3Dプリンタ
10か月前
日東工業株式会社
インサート成形機
10か月前
コイト電工株式会社
フレーム成形品
1か月前
続きを見る
他の特許を見る