TOP
|
特許
|
意匠
|
商標
特許ウォッチ
Twitter
他の特許を見る
公開番号
2025127275
公報種別
公開特許公報(A)
公開日
2025-09-01
出願番号
2024023919
出願日
2024-02-20
発明の名称
ショーケース
出願人
富士電機株式会社
代理人
弁理士法人酒井国際特許事務所
主分類
F25D
21/04 20060101AFI20250825BHJP(冷凍または冷却;加熱と冷凍との組み合わせシステム;ヒートポンプシステム;氷の製造または貯蔵;気体の液化または固体化)
要約
【課題】前面開口を閉塞する扉体の結露の発生を抑制すること。
【解決手段】前面に形成された前面開口10aを開閉する態様で扉体17が設けられたケース本体10と、ケース本体10の内部に前面開口10aを臨む態様で設けられた収納室11に、上下方向に沿って複数段設けられた商品載置棚12と、収納室11の前方下部に開口する吸込口141より収納室11の空気を吸い込み、かつ収納室11の前方上部に開口する吹出口142から収納室11に空気を吹き出す態様で、収納室11の内部と外部との間で空気を循環させる循環ファン21と、循環ファン21により循環させられる空気を冷却する冷却ユニット22とを備え、商品載置棚12に載置された商品を冷却するショーケース1であって、前面開口10aを閉塞する扉体17の上方側内面17aに向けて空気を送出する送風ファン26を備えている。
【選択図】図1
特許請求の範囲
【請求項1】
前面に形成された前面開口を開閉する態様で扉体が設けられたケース本体と、
前記ケース本体の内部に前記前面開口を臨む態様で設けられた収納室に、上下方向に沿って複数段設けられた商品載置棚と、
前記収納室の前方下部に開口する吸込口より前記収納室の空気を吸い込み、かつ前記収納室の前方上部に開口する吹出口から前記収納室に空気を吹き出す態様で、前記収納室の内部と外部との間で空気を循環させる循環ファンと、
前記循環ファンにより循環させられる空気を冷却する冷却ユニットと
を備え、前記商品載置棚に載置された商品を冷却するショーケースであって、
前記前面開口を閉塞する前記扉体の上方側内面に向けて空気を送出する送風ファンを備えたことを特徴とするショーケース。
続きを表示(約 1,200 文字)
【請求項2】
前記送風ファンは、前記ケース本体の上部前端を構成するキャノピーの内部に設置され、該キャノピーに形成された通風孔を通じて空気を送出することを特徴とする請求項1に記載のショーケース。
【請求項3】
前記送風ファンは、前記キャノピーに形成された取込孔を通じて前記吹出口から吹き出された空気の一部を取り込み、前記通風孔を通じて空気を送出することを特徴とする請求項2に記載のショーケース。
【請求項4】
前記吹出口から吹き出された空気の一部を前記取込孔に向けて案内するための風向部材を備えたことを特徴とする請求項3に記載のショーケース。
【請求項5】
前記前面開口の開閉を検知する開閉検知部と、
前記開閉検知部により前記前面開口の閉塞が検知されたことを条件として、前記送風ファンを駆動させる制御部と
を備えたことを特徴とする請求項1に記載のショーケース。
【請求項6】
前記ケース本体の周囲の温湿度を検出する温湿度センサを備え、
前記制御部は、前記温湿度センサの検出結果が予め決められた駆動条件を具備する場合に、前記送風ファンを駆動させることを特徴とする請求項5に記載のショーケース。
【請求項7】
前面に形成された前面開口を開閉する態様で扉体が設けられたケース本体と、
前記ケース本体の内部に前記前面開口を臨む態様で設けられた収納室に、上下方向に沿って複数段設けられた商品載置棚と、
前記収納室の前方下部に開口する吸込口より前記収納室の空気を吸い込み、かつ前記収納室の前方上部に開口する吹出口から前記収納室に空気を吹き出す態様で、前記収納室の内部と外部との間で空気を循環させる循環ファンと、
前記循環ファンにより循環させられる空気を冷却する冷却ユニットと
を備え、前記商品載置棚に載置された商品を冷却するショーケースであって、
前記吹出口を閉塞する態様で配設され、該吹出口から吹き出される空気の流れを整える整流部材を備え、
前記整流部材は、前端部分にスリットが形成され、かつ該スリットを通過する空気の風速を相対的に大きくして、前記前面開口を閉塞する前記扉体の上方側内面に向けて該空気を送出させることを特徴とするショーケース。
【請求項8】
前記整流部材は、前記スリットに近接するに従って厚みが漸次小さくなる態様で形成されたことを特徴とする請求項7に記載のショーケース。
【請求項9】
前記整流部材は、ハニカム構造を有していることを特徴とする請求項7又は請求項8に記載のショーケース。
【請求項10】
前記扉体は、断熱性のガラス扉であることを特徴とする請求項1又は請求項7に記載のショーケース。
発明の詳細な説明
【技術分野】
【0001】
本発明は、ショーケースに関するものである。
続きを表示(約 1,300 文字)
【背景技術】
【0002】
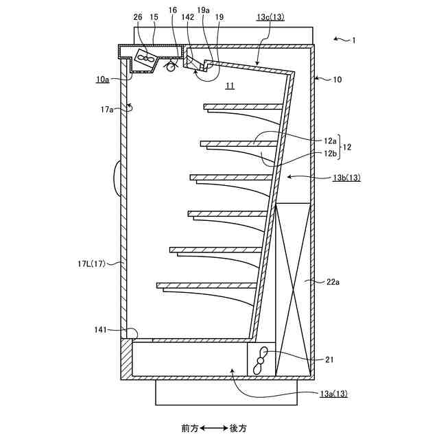
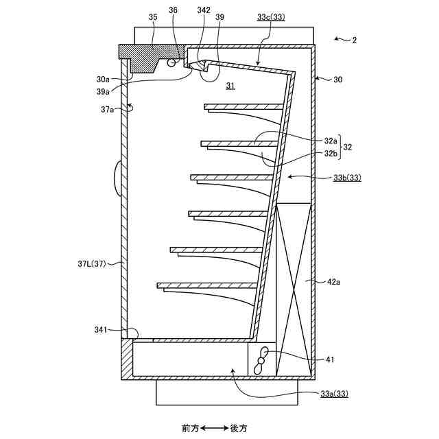
従来、ショーケースとして、ケース本体の前面開口を臨む収納室に商品載置棚が上下方向に沿って複数段設けられたものが知られている。そのようなショーケースでは、消費電力の低減化のため、前面開口を開閉する扉体を後付けで装着されたものがある(例えば、特許文献1参照)。
【先行技術文献】
【特許文献】
【0003】
特開2012-161345号公報
【発明の概要】
【発明が解決しようとする課題】
【0004】
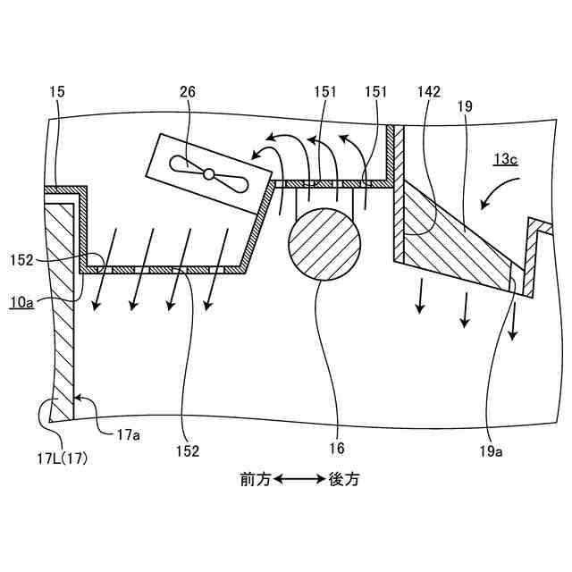
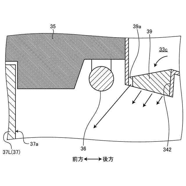
ところで、上述した特許文献1のショーケースでは、前面開口を扉体が閉塞する場合、扉体の上方側内面付近に空気溜まり部分が発生し、該上方側内面に結露が生ずることがあった。特に、扉体を後付けで装着した場合、吹出口と扉体との距離が比較的大きくなってしまい、前面開口を閉塞する扉体の上方側内面付近に空気が滞留する空気溜まり部分が発生しやすく、該上方側内面の結露の発生が顕著であった。
【0005】
本発明は、上記実情に鑑みて、前面開口を閉塞する扉体の結露の発生を抑制することができるショーケースを提供することを目的とする。
【課題を解決するための手段】
【0006】
上記目的を達成するために、本発明に係るショーケースは、前面に形成された前面開口を開閉する態様で扉体が設けられたケース本体と、前記ケース本体の内部に前記前面開口を臨む態様で設けられた収納室に、上下方向に沿って複数段設けられた商品載置棚と、前記収納室の前方下部に開口する吸込口より前記収納室の空気を吸い込み、かつ前記収納室の前方上部に開口する吹出口から前記収納室に空気を吹き出す態様で、前記収納室の内部と外部との間で空気を循環させる循環ファンと、前記循環ファンにより循環させられる空気を冷却する冷却ユニットとを備え、前記商品載置棚に載置された商品を冷却するショーケースであって、前記前面開口を閉塞する前記扉体の上方側内面に向けて空気を送出する送風ファンを備えたことを特徴とする。
【0007】
また本発明は、上記ショーケースにおいて、前記送風ファンは、前記ケース本体の上部前端を構成するキャノピーの内部に設置され、該キャノピーに形成された通風孔を通じて空気を送出することを特徴とする。
【0008】
また本発明は、上記ショーケースにおいて、前記送風ファンは、前記キャノピーに形成された取込孔を通じて前記吹出口から吹き出された空気の一部を取り込み、前記通風孔を通じて空気を送出することを特徴とする。
【0009】
また本発明は、上記ショーケースにおいて、前記吹出口から吹き出された空気の一部を前記取込孔に向けて案内するための風向部材を備えたことを特徴とする。
【0010】
また本発明は、上記ショーケースにおいて、前記前面開口の開閉を検知する開閉検知部と、前記開閉検知部により前記前面開口の閉塞が検知されたことを条件として、前記送風ファンを駆動させる制御部とを備えたことを特徴とする。
(【0011】以降は省略されています)
この特許をJ-PlatPat(特許庁公式サイト)で参照する
関連特許
富士電機株式会社
半導体装置
3日前
富士電機株式会社
自動販売装置
4日前
富士電機株式会社
ショーケース
13日前
富士電機株式会社
半導体モジュール
6日前
富士電機株式会社
集積回路、電源回路
3日前
富士電機株式会社
半導体装置の製造方法
5日前
富士電機株式会社
制御回路および電力供給回路
4日前
富士電機株式会社
電力変換装置及びその制御方法
13日前
富士電機株式会社
部分放電測定装置及び部分放電測定方法
3日前
富士電機株式会社
制御支援装置、制御支援方法、及びプログラム
3日前
富士電機株式会社
半導体モジュールおよび半導体モジュールの製造方法
4日前
富士電機株式会社
セキュリティテスト実施装置およびセキュリティテスト実施方法
5日前
富士電機株式会社
診断装置、診断システム、診断方法、プログラム
3日前
タニコー株式会社
貯水槽
1か月前
株式会社コロナ
ヒートポンプ装置
2か月前
アクア株式会社
冷蔵庫
1か月前
個人
ヒートポンプ型空気調和機
1か月前
ホシザキ株式会社
製氷機
25日前
株式会社ツインバード
スターリング機関
2か月前
富士電機株式会社
冷却装置
24日前
ホシザキ株式会社
冷凍装置
3日前
富士電機株式会社
冷却装置
1か月前
富士電機株式会社
冷却装置
1か月前
富士ベンダーサービス株式会社
保管庫
1か月前
富士電機株式会社
冷却システム
1か月前
ダイキン工業株式会社
冷凍装置
10日前
シャープ株式会社
冷蔵庫
1か月前
フクシマガリレイ株式会社
冷却貯蔵庫
3日前
個人
液体窒素凝縮による冷凍サイクル
1か月前
フクシマガリレイ株式会社
ショーケース
12日前
三菱重工冷熱株式会社
低温冷水供給装置
1か月前
株式会社ゼロカラ
冷凍装置
2か月前
シャープ株式会社
冷却装置
1か月前
ダイキン工業株式会社
冷媒充填方法
10日前
アクア株式会社
冷蔵庫
18日前
フクシマガリレイ株式会社
商品販売システム
5日前
続きを見る
他の特許を見る