TOP
|
特許
|
意匠
|
商標
特許ウォッチ
Twitter
他の特許を見る
公開番号
2025128652
公報種別
公開特許公報(A)
公開日
2025-09-03
出願番号
2024025443
出願日
2024-02-22
発明の名称
冷蔵庫
出願人
アクア株式会社
代理人
個人
,
個人
主分類
F25D
21/08 20060101AFI20250827BHJP(冷凍または冷却;加熱と冷凍との組み合わせシステム;ヒートポンプシステム;氷の製造または貯蔵;気体の液化または固体化)
要約
【課題】更なる設備を備えることなく、効率的に蒸発器の除霜を行うことができる冷蔵庫を提供する。
【解決手段】内部を冷媒が流れる冷却チューブ24及び冷却チューブ24に取り付けられた冷却フィン26を有する蒸発器20と、蒸発器20の下方に配置され、冷却フィン26及び冷却チューブ24を加熱して付着した霜を溶解するヒータであって、可視光域から近赤外線域または赤外線域までの波長の光を出射する除霜ヒータ30と、を備え、少なくとも冷却フィン26の表面の一部に除霜ヒータ30から出射された光で活性化する光触媒がコーティングされている冷蔵庫を提供する。
【選択図】図3B
特許請求の範囲
【請求項1】
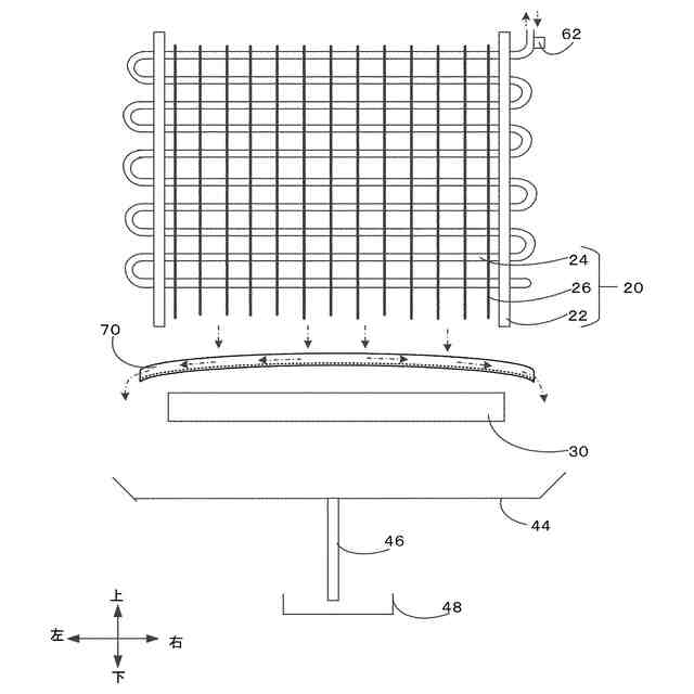
内部を冷媒が流れる冷却チューブ及び前記冷却チューブに取り付けられた冷却フィンを有する蒸発器と、
前記蒸発器の下方に配置され、前記冷却フィン及び前記冷却チューブを加熱して付着した霜を溶解するヒータであって、可視光域から近赤外線域または赤外線域までの波長の光を出射する除霜ヒータと、
を備え、
少なくとも前記冷却フィンの表面の一部に前記除霜ヒータから出射された光で活性化する光触媒がコーティングされていることを特徴とする冷蔵庫。
続きを表示(約 490 文字)
【請求項2】
棒状の前記除霜ヒータの上方に前記除霜ヒータの長手方向に沿って防滴カバーが配置され、
前記長手方向から見た側面視で、上方が前記防滴カバーで覆われていない領域に前記除霜ヒータから出射された光を上方へ反射する反射面が配置されていることを特徴とする請求項1に記載の冷蔵庫。
【請求項3】
棒状の前記除霜ヒータの上方に前記除霜ヒータの長手方向に沿って防滴カバーが配置され、
前記長手方向から見た側面視で、前記防滴カバーを構成する薄板は、前記除霜ヒータの中央の位置を最下点とする下に凸の形状を有することを特徴とする請求項1に記載の冷蔵庫。
【請求項4】
前記長手方向に直交する方向から見た側面視で、前記防滴カバーの上面は、中央が高く両端が低い傾斜または一方の端部が高く他方の端部が低い傾斜を有することを特徴とする請求項3に記載の冷蔵庫。
【請求項5】
棒状の前記除霜ヒータの上方に前記除霜ヒータの長手方向に沿って防滴カバーが配置され、
前記防滴カバーが透光性を有することを特徴とする請求項1に記載の冷蔵庫。
発明の詳細な説明
【技術分野】
【0001】
本発明は、蒸発器を備えた冷蔵庫に関し、特に蒸発器の除霜に関する。
続きを表示(約 1,600 文字)
【背景技術】
【0002】
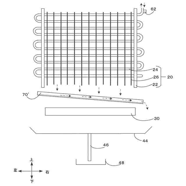
冷蔵庫では、蒸発器の冷却性能を維持するため、蒸発器の冷却フィンの表面に付着した霜を除去する除霜が重要である。効率的に除霜を行うため、蒸発器の冷却フィンの表面に可視光反応型の光触媒皮膜を施した冷蔵庫が提案されている(例えば、特許文献1参照)。特許文献1に記載の冷蔵庫では、光触媒皮膜に可視光が当って活性化し、超親水性となる。冷却フィンに施された光触媒皮膜が超親水性となるので、着霜や氷結の粒状化が抑制され、融解も平準化されて除霜作用を進行させることができる。
【先行技術文献】
【特許文献】
【0003】
特開2010-261669号公報
【発明の概要】
【発明が解決しようとする課題】
【0004】
しかしながら、特許文献1に記載の冷蔵庫では、蒸発器を加熱する除霜ヒータに加えて、蒸発器の上方に可視光を光触媒に照射する光源を備える必要がある。このため、製造コストが上がり、蒸発器を通過した冷気が流れる流路スペースに制約が生じ、制御も複雑になる問題が生じる。
【0005】
従って、本発明の目的は、上記の課題を解決するものであり、更なる設備を備えることなく、効率的に蒸発器の除霜を行うことができる冷蔵庫を提供することにある。
【課題を解決するための手段】
【0006】
上記の目的を達成するため、本発明の第1の態様は、
内部を冷媒が流れる冷却チューブ及び前記冷却チューブに取り付けられた冷却フィンを有する蒸発器と、
前記蒸発器の下方に配置され、前記冷却フィン及び前記冷却チューブを加熱して付着した霜を溶解するためヒータであって、可視光域から近赤外線域または赤外線域までの波長の光を出射する除霜ヒータと、
を備え、
少なくとも前記冷却フィンの表面の一部に前記除霜ヒータから出射された光で活性化する光触媒がコーティングされている冷蔵庫である。
【0007】
本態様では、蒸発器を加熱して除霜を行う除霜ヒータが可視光域から近赤外線域または赤外線域までの波長の光を出射し、蒸発器の冷却フィンにコーティングされた光触媒が、除霜ヒータから出射された光で活性化して超親水性となり、除霜が促進される。よって、光源のような更なる設備を備えることなく、効率的に蒸発器の除霜を行うことができる。
【0008】
また、本発明の第2の態様は、第1の態様において、
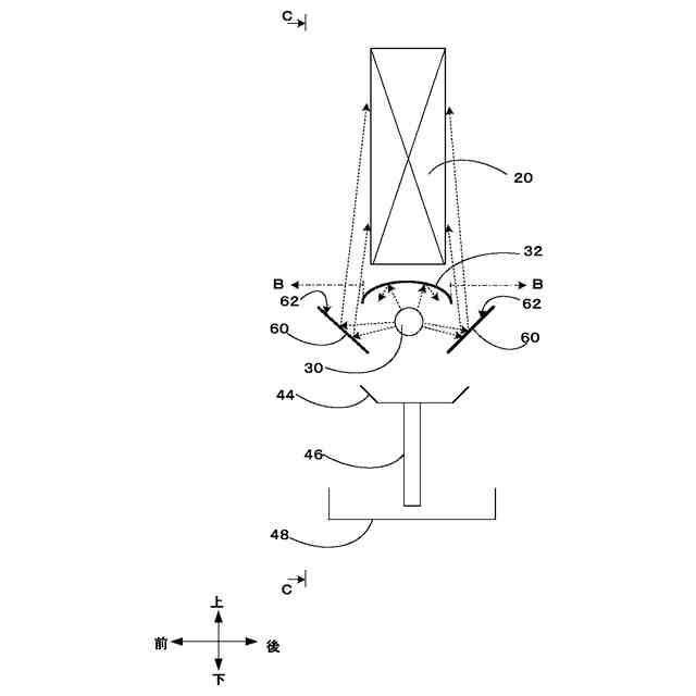
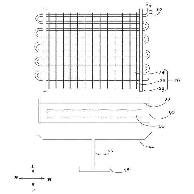
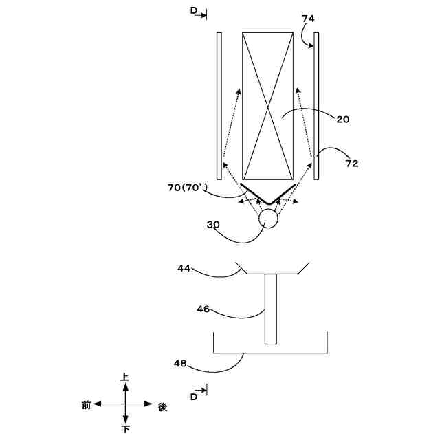
棒状の前記除霜ヒータの上方に前記除霜ヒータの長手方向に沿って防滴カバーが配置され、
前記長手方向から見た側面視で、上方が前記防滴カバーで覆われていない領域に前記除霜ヒータから出射された光を上方へ反射する反射面が配置されている冷蔵庫である。
【0009】
除霜ヒータの上方には、蒸発器に付着した霜が溶解した除霜水が落下して、除霜ヒータに当たるのを防ぐ防滴カバーが配置されている。一方、除霜ヒータから上方に出射された光は、この防滴カバーに遮られて、冷却フィンにコーティングされた光触媒に到達しない。しかし、本態様では、上方が防滴カバーで覆われていない両側の外側の領域に反射面が配置されている。このような反射面で、除霜ヒータから側方または斜め側方に出射された光を上方へ反射することができ、反射光を冷却フィン等にコーティングされた光触媒に当てて活性化させることができる。
【0010】
また、本発明の第3の態様は、第1の態様において、
棒状の前記除霜ヒータの上方に前記除霜ヒータの長手方向に沿って防滴カバーが配置され、
前記長手方向から見た側面視で、前記防滴カバーを構成する薄板は、前記除霜ヒータの中央の位置を最下点とする下に凸の形状を有する冷蔵庫である。
(【0011】以降は省略されています)
この特許をJ-PlatPat(特許庁公式サイト)で参照する
関連特許
日本アクア株式会社
スパウト及びスパウト付き容器
6日前
青島海爾洗衣机有限公司
排水フィルタ及び洗濯機
17日前
タニコー株式会社
貯水槽
1か月前
アクア株式会社
冷蔵庫
1か月前
ホシザキ株式会社
製氷機
25日前
個人
ヒートポンプ型空気調和機
1か月前
富士電機株式会社
冷却装置
1か月前
ホシザキ株式会社
冷凍装置
3日前
富士電機株式会社
冷却装置
24日前
富士ベンダーサービス株式会社
保管庫
1か月前
ダイキン工業株式会社
冷凍装置
10日前
富士電機株式会社
冷却システム
1か月前
シャープ株式会社
冷蔵庫
1か月前
フクシマガリレイ株式会社
冷却貯蔵庫
3日前
シャープ株式会社
冷却装置
1か月前
フクシマガリレイ株式会社
ショーケース
12日前
三菱重工冷熱株式会社
低温冷水供給装置
1か月前
ダイキン工業株式会社
冷媒充填方法
10日前
アクア株式会社
冷蔵庫
18日前
シャープ株式会社
冷蔵庫
1か月前
フクシマガリレイ株式会社
商品販売システム
5日前
FrostiX株式会社
急速冷凍装置
1か月前
ホシザキ株式会社
液体凍結装置
1か月前
シャープ株式会社
冷蔵庫
1か月前
株式会社アイシン
冷暖房システム
17日前
島田工業株式会社
製氷装置及び製氷方法
18日前
株式会社富士通ゼネラル
冷凍サイクル装置
11日前
株式会社オカムラ
故障予知システム
25日前
東芝ライフスタイル株式会社
冷蔵庫
1か月前
株式会社富士通ゼネラル
冷凍サイクル装置
4日前
株式会社前川製作所
冷却装置
10日前
タキゲン製造株式会社
冷蔵庫の庫内気圧調整装置
1か月前
株式会社富士通ゼネラル
冷凍サイクル装置
11日前
日本碍子株式会社
空調システム
5日前
三菱重工冷熱株式会社
冷却装置
1か月前
三菱重工冷熱株式会社
冷却装置
1か月前
続きを見る
他の特許を見る