TOP
|
特許
|
意匠
|
商標
特許ウォッチ
Twitter
他の特許を見る
公開番号
2025139373
公報種別
公開特許公報(A)
公開日
2025-09-26
出願番号
2024038278
出願日
2024-03-12
発明の名称
冷却装置
出願人
富士電機株式会社
代理人
個人
,
個人
主分類
F25B
41/385 20210101AFI20250918BHJP(冷凍または冷却;加熱と冷凍との組み合わせシステム;ヒートポンプシステム;氷の製造または貯蔵;気体の液化または固体化)
要約
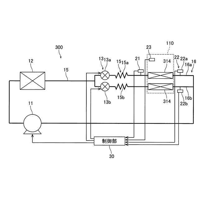
【課題】蒸発器における冷媒の蒸発温度を冷却装置の運転状況に合わせた最適な値に制御することが可能な冷却装置を提供する。
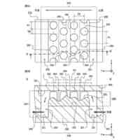
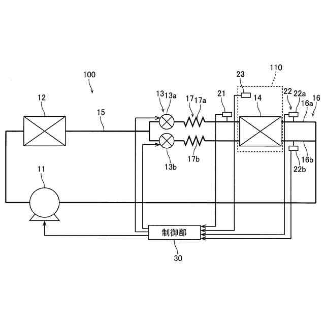
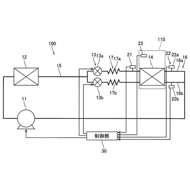
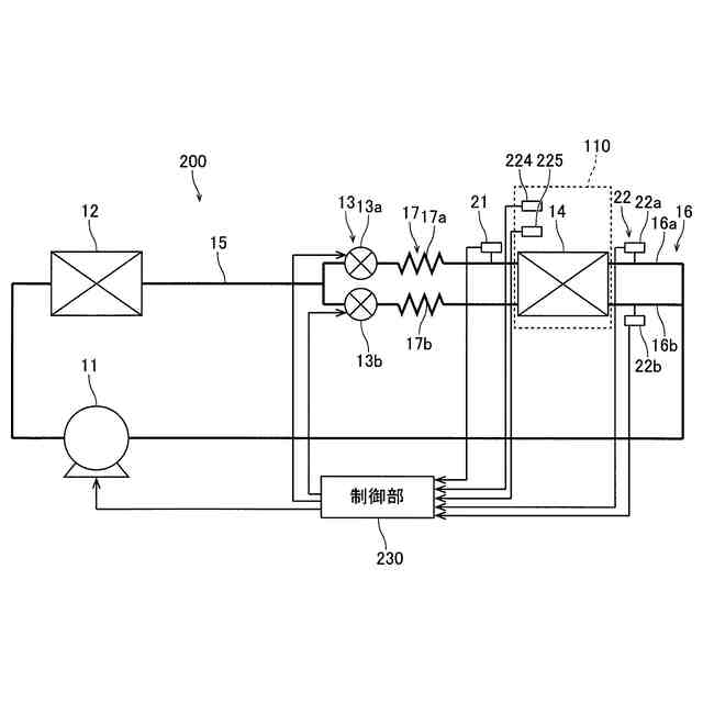
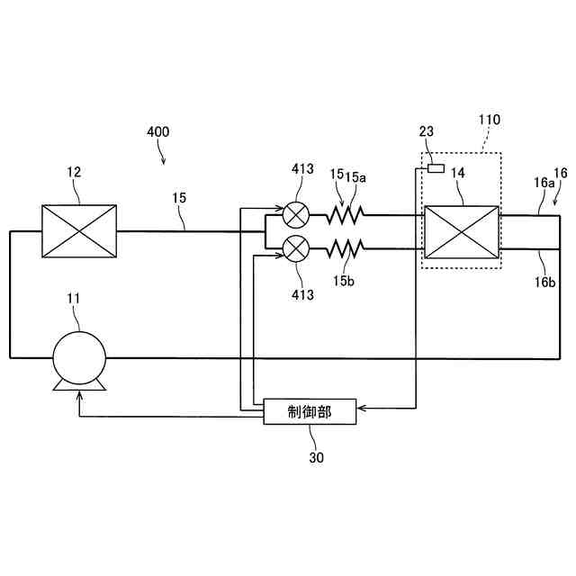
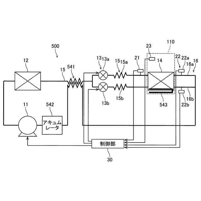
【解決手段】この冷却装置100では、膨張弁13は、複数の分岐冷媒流路16の各々に1つずつ設けられている。また、蒸発器14が、同一の冷却領域110を冷却するように、複数の分岐冷媒流路16が通過するように1つ設けられている。
【選択図】図1
特許請求の範囲
【請求項1】
冷媒を圧縮する圧縮機と、
前記圧縮機により圧縮された前記冷媒を凝縮させる凝縮器と、
前記凝縮器により凝縮された前記冷媒を膨張させ前記冷媒の流量を調整する膨張弁と、
前記膨張弁により膨張された前記冷媒を蒸発させる蒸発器と、
前記冷媒が流れる冷媒流路と、を備え、
前記冷媒流路は、前記凝縮器の下流側かつ前記膨張弁の上流側において複数に分岐され、前記蒸発器の下流側かつ前記圧縮機の上流側において合流する複数の分岐冷媒流路を含み、
前記膨張弁は、前記複数の分岐冷媒流路の各々に1つずつ設けられており、
前記蒸発器は、同一の冷却領域を冷却するように、前記複数の分岐冷媒流路が通過するように1つ設けられているか、または、前記同一の冷却領域を冷却するように、前記複数の分岐冷媒流路の各々に1つずつ設けられている、冷却装置。
続きを表示(約 930 文字)
【請求項2】
前記同一の冷却領域を冷却するように、前記複数の分岐冷媒流路の各々における、前記蒸発器の入口温度と前記蒸発器の出口温度との差である過熱度の各々に基づいて、前記複数の膨張弁の各々の開閉度を個別に制御する制御部をさらに備える、請求項1に記載の冷却装置。
【請求項3】
前記複数の分岐冷媒流路のうちの少なくとも1つに設けられ、前記蒸発器の入口温度を検出する入口温度センサと、
前記複数の分岐冷媒流路の各々に1つずつ設けられ、前記蒸発器の出口温度を検出する複数の出口温度センサと、をさらに備える、請求項2に記載の冷却装置。
【請求項4】
前記冷却領域は、内部の商品を冷凍するための冷凍室であり、
前記冷媒は、R1234yfである、請求項1に記載の冷却装置。
【請求項5】
前記複数の分岐冷媒流路の各々において前記凝縮器と前記蒸発器との間に配置された複数のキャピラリチューブをさらに備える、請求項1に記載の冷却装置。
【請求項6】
自動販売機またはショーケースに用いられる、請求項1に記載の冷却装置。
【請求項7】
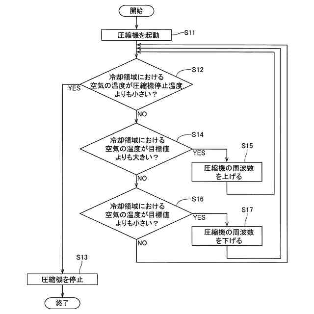
前記蒸発器における前記冷媒の蒸発温度に基づいて、前記圧縮機の周波数を制御する制御部をさらに備え、
前記制御部は、前記冷却領域における前記蒸発器の吸込口と前記蒸発器の吹出口との間の出入口温度差が低下するのに伴って、前記蒸発温度の目標値を段階的に低下させながら、前記圧縮機の周波数を制御するように構成されている、請求項1に記載の冷却装置。
【請求項8】
前記制御部は、
前記出入口温度差が第1閾値まで低下した場合に、前記蒸発温度の目標値を第1目標値に低下させ、前記蒸発温度が前記第1目標値となるように前記圧縮機の周波数を制御するとともに、
前記出入口温度差が前記第1閾値よりも小さい第2閾値まで低下した場合に、前記蒸発温度の目標値を前記第1目標値よりも小さい第2目標値に低下させ、前記蒸発温度が前記第2目標値となるように、前記圧縮機の周波数を制御するように構成されている、請求項7に記載の冷却装置。
発明の詳細な説明
【技術分野】
【0001】
この発明は、冷却装置に関する。
続きを表示(約 2,000 文字)
【背景技術】
【0002】
従来、冷媒流路が複数の分岐冷媒流路を含む冷却装置が知られている(たとえば、特許文献1参照)。
【0003】
上記特許文献1には、冷媒流路が、膨張弁の下流側かつ蒸発器の上流側において複数に分岐され、蒸発器の下流側かつ圧縮機の上流側において合流する、複数のパス(分岐冷媒流路)を含む冷却装置が記載されている。上記特許文献1に記載されている冷却装置では、冷媒流路は、分配器により複数のパスに分岐されている。
【先行技術文献】
【特許文献】
【0004】
特開2011-232011号公報
【発明の概要】
【発明が解決しようとする課題】
【0005】
しかしながら、上記特許文献1に記載されている冷却装置では、上記のように、冷媒流路は、分配器により複数のパス(分岐冷媒流路)に分岐されているので、複数の分岐冷媒流路毎に冷媒の流量を個別に調整するがことができない。この場合、蒸発器における冷媒の蒸発温度を冷却装置の運転状況に合わせた最適な値に制御するのが比較的難しい。このため、複数の分岐冷媒流路毎に冷媒の流量を調整して、蒸発器における冷媒の蒸発温度を冷却装置の運転状況に合わせた最適な値に制御することが可能な冷却装置が望まれている。
【0006】
この発明は、上記のような課題を解決するためになされたものであり、この発明の1つの目的は、蒸発器における冷媒の蒸発温度を冷却装置の運転状況に合わせた最適な値に制御することが可能な冷却装置を提供することである。
【課題を解決するための手段】
【0007】
上記目的を達成するために、この発明の一の局面による冷却装置は、冷媒を圧縮する圧縮機と、圧縮機により圧縮された冷媒を凝縮させる凝縮器と、凝縮器により凝縮された冷媒を膨張させ冷媒の流量を調整する膨張弁と、膨張弁により膨張された前記冷媒を蒸発させる蒸発器と、冷媒が流れる冷媒流路と、を備え、冷媒流路は、凝縮器の下流側かつ膨張弁の上流側において、複数の分岐冷媒流路に分岐されるとともに、蒸発器の下流側かつ圧縮機の上流側において、複数の分岐冷媒流路が合流するように構成されており、膨張弁は、複数の分岐冷媒流路の各々に1つずつ設けられており、蒸発器は、同一の冷却領域を冷却するように、複数の分岐冷媒流路が通過するように1つ設けられているか、または、同一の冷却領域を冷却するように、複数の分岐冷媒流路の各々に1つずつ設けられている。
【0008】
この発明の一の局面による冷却装置では、上記のように、膨張弁は、複数の分岐冷媒流路の各々に1つずつ設けられており、蒸発器は、同一の冷却領域を冷却するように、複数の分岐冷媒流路が通過するように1つ設けられているか、または、同一の冷却領域を冷却するように、複数の分岐冷媒流路の各々に1つずつ設けられている。これにより、複数の分岐冷媒流路の各々に1つずつ設けられた膨張弁により、複数の分岐冷媒流路毎に冷媒の流量を個別に調整することができる。その結果、蒸発器における冷媒の蒸発温度を冷却装置の運転状況に合わせた最適な値に制御することができる。また、冷媒が蒸発器を通過する際の圧力損失を抑制することができる。
【0009】
上記一の局面による冷却装置において、好ましくは、同一の冷却領域を冷却するように、複数の分岐冷媒流路の各々における、蒸発器の入口温度と蒸発器の出口温度との差である過熱度の各々に基づいて、複数の膨張弁の各々の開閉度を個別に制御する制御部をさらに備える。このように構成すれば、制御部により、複数の分岐冷媒流路の各々に1つずつ設けられた膨張弁の開閉度を制御して、複数の分岐冷媒流路毎に冷媒の流量を容易に個別に調整することができる。
【0010】
上記複数の分岐冷媒流路の各々における過熱度の各々に基づいて複数の膨張弁の各々の開閉度を個別に制御する制御部を備える構成において、好ましくは、複数の分岐冷媒流路のうちの少なくとも1つに設けられ、蒸発器の入口温度を検出する入口温度センサと、複数の分岐冷媒流路の各々に1つずつ設けられ、蒸発器の出口温度を検出する複数の出口温度センサと、をさらに備える。このように構成すれば、複数の分岐冷媒流路のうちの少なくとも1つに設けられた入口温度センサと、複数の分岐冷媒流路の各々に1つずつ設けられた複数の出口温度センサとにより、複数の分岐冷媒流路の各々における、蒸発器の入口温度と蒸発器の出口温度との差である過熱度を容易に個別に取得することができる。なお、蒸発器の入口温度は、複数の分岐冷媒流路同士で略同じであるので、入口温度センサは、複数の分岐冷媒流路のうちの少なくとも1つに設けられていればよい。
(【0011】以降は省略されています)
この特許をJ-PlatPat(特許庁公式サイト)で参照する
関連特許
富士電機株式会社
溶接装置
4日前
富士電機株式会社
搬送機構
4日前
富士電機株式会社
冷却装置
7日前
富士電機株式会社
半導体装置
23日前
富士電機株式会社
回路遮断器
1日前
富士電機株式会社
電磁接触器
今日
富士電機株式会社
半導体装置
4日前
富士電機株式会社
半導体装置
今日
富士電機株式会社
半導体装置
22日前
富士電機株式会社
電磁接触器
今日
富士電機株式会社
電磁接触器
今日
富士電機株式会社
電磁接触器
今日
富士電機株式会社
電磁接触器
今日
富士電機株式会社
エンコーダ
1日前
富士電機株式会社
チャンネルベース
今日
富士電機株式会社
チャンネルベース
今日
富士電機株式会社
電力変換システム
4日前
富士電機株式会社
電力変換システム
今日
富士電機株式会社
エレベータ制御装置
2日前
富士電機株式会社
エレベータ制御装置
2日前
富士電機株式会社
自動販売機の保護装置
7日前
富士電機株式会社
測定方法及び製造方法
7日前
富士電機株式会社
冷却器及び半導体装置
今日
富士電機株式会社
半導体モジュール及び車両
8日前
富士電機株式会社
半導体装置及びその製造方法
今日
富士電機株式会社
冷却装置および電力変換装置
8日前
富士電機株式会社
店舗用冷却装置制御システム
8日前
富士電機株式会社
測定装置および冷却システム
2日前
富士電機株式会社
窒化物半導体装置の製造方法
今日
富士電機株式会社
冷却器及び半導体モジュール
今日
富士電機株式会社
店舗内位置情報取得システム
1日前
富士電機株式会社
炭化珪素半導体装置の製造方法
今日
富士電機株式会社
最適制御方法、及び最適制御装置
4日前
富士電機株式会社
過電圧保護回路および半導体装置
8日前
富士電機株式会社
情報処理システム及び情報処理方法
14日前
富士電機株式会社
スイッチング制御回路、及び電源回路
7日前
続きを見る
他の特許を見る