TOP
|
特許
|
意匠
|
商標
特許ウォッチ
Twitter
他の特許を見る
公開番号
2025130057
公報種別
公開特許公報(A)
公開日
2025-09-05
出願番号
2025028001
出願日
2025-02-25
発明の名称
手指アシスト装置および関節動作支援方法
出願人
国立大学法人 東京大学
代理人
個人
,
個人
,
個人
,
個人
主分類
A61H
1/02 20060101AFI20250829BHJP(医学または獣医学;衛生学)
要約
【課題】関節ごとの独立した制御が可能な手指アシスト装置を提供する。
【解決手段】N個の指節を有する指に沿って、背側と掌側にそれぞれ1本以上、かつ、合計でN+1本装着され、張力によって関節の動作を制御するN+1本のワイヤー状の関節動作支援部材と、各々の関節動作支援部材の張力を調節する張力制御部と、関節動作支援部材を指に装着するための装着部材と、を備え、各々の指節には、少なくとも1本の関節動作支援部材が取り付けられており、指先に近い指節ほど、取り付けられている関節支援部材の本数が少ないものである。
【選択図】図1
特許請求の範囲
【請求項1】
N個の指節を有する指に沿って、背側と掌側にそれぞれ1本以上、かつ、合計でN+1本装着され、張力によって関節の動作を制御するN+1本のワイヤー状の関節動作支援部材と、
各々の関節動作支援部材の張力を調節する張力制御部と、
前記関節動作支援部材を指に装着するための装着部材と、を備え、
各々の指節には、少なくとも1本の関節動作支援部材が取り付けられており、指先に近い指節ほど、取り付けられている関節支援部材の本数が少ない、
手指アシスト装置。
続きを表示(約 880 文字)
【請求項2】
前記関節動作支援部材は、
最先端の指節の背側と掌側にそれぞれ1本装着され、前記最先端の指節よりも根本側の指節には、少なくとも背側か掌側に1本以上装着される、請求項1に記載の手指アシスト装置。
【請求項3】
各々の指節に取り付けられている関節支援部材の本数は、指先側に行くにしたがって1本ずつ少なくなる、請求項1に記載の手指アシスト装置。
【請求項4】
前記装着部材は、N個の指節を覆うN個の指節被覆部を備え、
各々の関節動作支援部材は、それぞれが動作を制御する関節の遠位にある指節を覆う指節被覆部に一端が固定される、請求項1に記載の手指アシスト装置。
【請求項5】
前記張力制御部は、
各々の関節動作支援部材を巻き取る長さを調節することにより張力を制御する、請求項1または2に記載の手指アシスト装置。
【請求項6】
関節の屈曲動作を制御する場合には、背側にN本と掌側に1本の関節動作支援部材を装着し、関節の伸展動作を制御する場合には、掌側にN本と背側に1本の関節動作支援部材を装着する、請求項1または2に記載の手指アシスト装置。
【請求項7】
前記N個の指節被覆部は、それぞれの間隔が、装着する手指の指節間の距離に合わせて調節できるように形成されている、請求項4に記載の手指アシスト装置。
【請求項8】
前記指節被覆部は、それぞれが覆う指節の太さに合わせた調節ができるように形成されている、請求項4に記載の手指アシスト装置。
【請求項9】
N個の指節を有する指に沿って、背側と掌側にそれぞれ1本以上、かつ、合計でN+1本の、張力によって関節の動作を制御するワイヤー状の関節動作支援部材を装着し、
各々の関節動作支援部材の張力を調節し、
各々の指節には、少なくとも1本の関節動作支援部材が取り付けられており、指先に近い指節ほど、取り付けられている関節支援部材の本数が少ない、関節動作支援方法。
発明の詳細な説明
【関連出願の相互参照】
【0001】
本出願は、2024年2月26日に出願された米国仮特許出願番号63/557,839に基づくもので、ここにその記載内容を援用する。
続きを表示(約 1,300 文字)
【技術分野】
【0002】
本発明は、手指のリハビリ動作等を支援する手指アシスト装置および関節動作支援方法に関する。
【背景技術】
【0003】
手指の機能障害を有する患者のリハビリテーションを支援するための装具として、手袋のように装着して用いるアシスト装置が知られている。例えば、特許文献1には、手指の末節と基節に取り付けられた固定具に連結されたワイヤケーブルを牽引することにより、手指の屈曲、伸展動作を補助する装置が記載されている。
【先行技術文献】
【特許文献】
【0004】
特開2015-208511号公報
【発明の概要】
【発明が解決しようとする課題】
【0005】
しかしながら、従来の装置では、指全体での屈曲伸展動作の制御に留まり、各関節を独立して制御することができなかった。このため、患者の症状や複雑な動作に対応した精緻な制御を行うことが困難であった。
【0006】
そこで本発明は、関節ごとの独立した制御が可能な手指アシスト装置を提供することを目的の一つとする。
【課題を解決するための手段】
【0007】
本発明に係る手指アシスト装置は、N個の指節を有する指に沿って、背側と掌側にそれぞれ1本以上、かつ、合計でN+1本装着され、張力によって関節の動作を制御するN+1本のワイヤー状の関節動作支援部材と、各々の関節動作支援部材の張力を調節する張力制御部と、前記関節動作支援部材を指に装着するための装着部材と、を備え、各々の指節には、少なくとも1本の関節動作支援部材が取り付けられており、指先に近い指節ほど、取り付けられている関節支援部材の本数が少ないものである。
【0008】
本発明に係る関節動作支援方法は、N個の指節を有する指に沿って、背側と掌側にそれぞれ1本以上、かつ、合計でN+1本の、張力によって関節の動作を制御するワイヤー状の関節動作支援部材を装着し、各々の関節動作支援部材の張力を調節し、各々の指節には、少なくとも1本の関節動作支援部材が取り付けられており、指先に近い指節ほど、取り付けられている関節支援部材の本数が少ないものである。
【発明の効果】
【0009】
本発明によれば、関節ごとの独立した制御が可能な手指アシスト装置を提供することができる。
【図面の簡単な説明】
【0010】
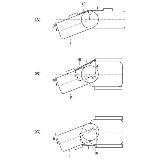
発明の実施の形態に係る手指アシスト装置1の構造を例示する図。
発明の実施の形態に係る手指アシスト装置1のワイヤー10の張力を調節する制御ユニット30の構成を示すブロック図。
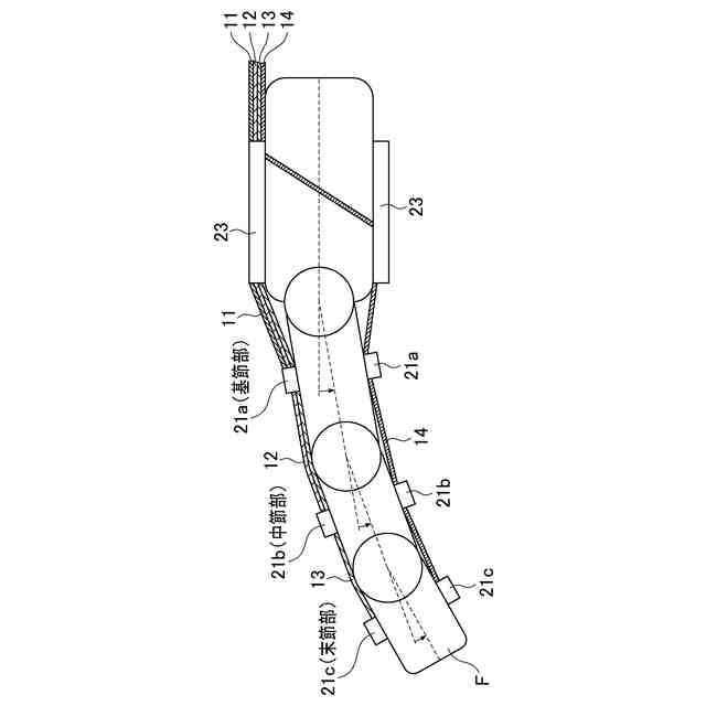
発明の実施の形態に係る手指アシスト装置1のワイヤーの配置を例示する図。
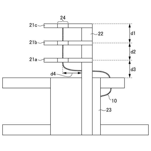
発明の実施の形態に係る手指アシスト装置1の装着部材20を展開した状態を例示する図。
発明の実施の形態に係る手指アシスト装置1のワイヤー10の調節方法を例示する図。
【発明を実施するための形態】
(【0011】以降は省略されています)
この特許をJ-PlatPat(特許庁公式サイト)で参照する
関連特許
国立大学法人 東京大学
ガス処理方法
4日前
国立大学法人 東京大学
担持金属触媒
18日前
国立大学法人 東京大学
コンパレータ回路
8日前
国立大学法人 東京大学
推定装置、及びプログラム
19日前
国立大学法人 東京大学
読出回路及び磁気メモリ装置
18日前
NTT株式会社
圧力センサ
19日前
国立大学法人 東京大学
接着性細胞の浮遊培養用基材
4日前
国立大学法人 東京大学
ドローンを用いた配送システム
4日前
太平洋セメント株式会社
セメント組成物
18日前
国立大学法人 東京大学
情報処理デバイス、情報処理方法及びプログラム
27日前
国立大学法人 東京大学
プログラム、情報処理方法及び情報処理システム
26日前
国立大学法人 東京大学
情報処理システム、情報処理方法及びプログラム
18日前
NTT株式会社
通信システム、方法及びプログラム
4日前
NTT株式会社
通信システム、方法及びプログラム
4日前
NTT株式会社
電子署名システム、方法及びプログラム
4日前
NTT株式会社
座屈剥離構造の予測装置および予測方法
4日前
国立大学法人 東京大学
マイクロ粒子
6日前
ダイキン工業株式会社
処理方法、処理装置及び処理プログラム
27日前
国立大学法人 東京大学
刺激付与システム
1日前
国立大学法人 東京大学
アデノ随伴ウイルスセロタイプ9に対するアプタマー及びその使用
8日前
国立大学法人 東京大学
ゼオライトの加熱方法、反応方法、反応生成物の製造方法、および触媒
8日前
国立大学法人 東京大学
非ヒト哺乳動物の腫瘍に対する分子標的抗腫瘍剤のスクリーニング方法
27日前
清水建設株式会社
土壌資材、土壌資材の設計方法および土壌資材の製造方法
8日前
学校法人日本大学
ファン装置、空調用室外機及び給湯ヒートポンプ用室外機
18日前
国立大学法人 東京大学
プログラム、情報処理方法及び情報処理システム
26日前
国立大学法人 東京大学
信号処理回路、半導体ピクセル検出器、情報処理方法、プログラム、情報処理装置、情報処理システム及び装置
18日前
国立大学法人 東京大学
HTLV-1関連脊髄症(HAM)治療又は予防剤、及びHAMの治療方法
20日前
三井化学株式会社
ポリカーボネート樹脂のアルコリシス用触媒、ポリカーボネート樹脂の分解方法、及びジオールの製造方法。
26日前
国立大学法人 東京大学
crRNA、タイプI CRISPR-Casシステム、標的DNAを編集する方法、標的DNAが編集された細胞を製造する方法、標的DNAを検出する方法、及びキット
4日前
個人
健康器具
7か月前
個人
鼾防止用具
7か月前
個人
短下肢装具
2か月前
個人
嚥下鍛錬装置
3か月前
個人
脈波測定方法
7か月前
個人
脈波測定方法
7か月前
個人
白内障治療法
6か月前
続きを見る
他の特許を見る