TOP
|
特許
|
意匠
|
商標
特許ウォッチ
Twitter
他の特許を見る
公開番号
2025136347
公報種別
公開特許公報(A)
公開日
2025-09-19
出願番号
2024034854
出願日
2024-03-07
発明の名称
担持金属触媒
出願人
国立大学法人 東京大学
代理人
弁理士法人フィールズ国際特許事務所
主分類
B01J
23/63 20060101AFI20250911BHJP(物理的または化学的方法または装置一般)
要約
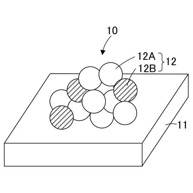
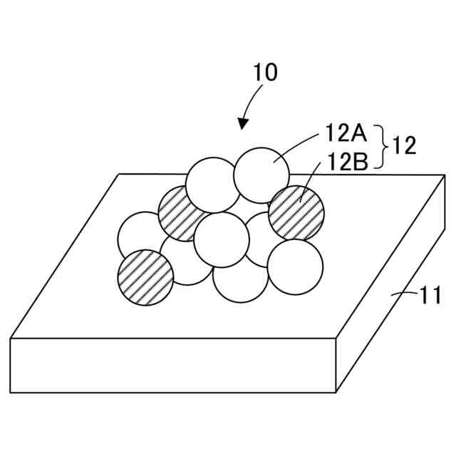
【課題】温和な条件下であってもプラスチックの加水素分解を可能にする担持金属触媒を提供する。
【解決手段】
本発明の一の態様によれば、プラスチックの加水素分解に用いられる担持金属触媒10であって、金属酸化物からなる担体11と、担体11に担持され、ルテニウムからなる1以上のルテニウム粒子12Aと、水素を活性化する機能を有する金属からなる1以上の金属粒子12Bとを含む触媒金属粒子12と、を含み、金属粒子12Bが、ルテニウム粒子12Aに接している、担持金属触媒10が提供される。
【選択図】図1
特許請求の範囲
【請求項1】
プラスチックの加水素分解に用いられる担持金属触媒であって、
金属酸化物からなる担体と、
前記担体に担持され、ルテニウムからなる1以上のルテニウム粒子と、水素を活性化する機能を有する金属からなる1以上の金属粒子とを含む触媒金属粒子と、を含み、
前記金属粒子が、前記ルテニウム粒子に接している、担持金属触媒。
続きを表示(約 370 文字)
【請求項2】
前記触媒金属粒子が、前記金属がルテニウムに対して偏析したルテニウム基合金から構成されている、請求項1に記載の担持金属触媒。
【請求項3】
前記金属粒子が、前記触媒金属粒子の表面に露出している、請求項1に記載の担持金属触媒。
【請求項4】
ルテニウムの担持量に対する前記金属の担持量のモル比が、0.1以上10以下である、請求項1に記載の担持金属触媒。
【請求項5】
前記金属が、白金族金属である、請求項1に記載の担持金属触媒。
【請求項6】
前記金属酸化物が、前記ルテニウム粒子と前記金属粒子を接触させる機能を有する、請求項1に記載の担持金属触媒。
【請求項7】
前記金属酸化物が、セリアまたはシリカである、請求項1に記載の担持金属触媒。
発明の詳細な説明
【技術分野】
【0001】
本発明は、担持金属触媒に関する。
続きを表示(約 1,800 文字)
【背景技術】
【0002】
現在、廃プラスチックによる環境汚染問題が深刻であり、廃プラスチックの効率的なリサイクルが喫緊の課題である。廃プラスチックのリサイクル法として、担持金属触媒を用いた加水素分解法が最も有望な手法の一つとして注目を浴びている。
【0003】
加水素分解法は、プラスチックを高温および/または高圧下、水素気流の中で担持金属触媒を用いて分解し、プラスチックをより軽質な炭化水素に転化させる技術である。現在、加水素分解法に使用される担持金属触媒としては、セリアにルテニウムを担持させたルテニウム担持触媒(Ru/CeO
2
触媒)が知られている(非特許文献1~3参照)。
【0004】
非特許文献1においては、Ru/CeO
2
触媒を用いて、240℃、6MPaの水素雰囲気下で低密度ポリエチレンを加水素分解反応させることが開示されている。非特許文献2においては、Ru/CeO
2
触媒を用いて、260℃、5~60気圧の水素雰囲気下で低密度ポリエチレンやポリプロピレンを加水素分解反応させることが開示されている。非特許文献3においては、Ru/CeO
2
触媒を用いて、240℃、3MPaの水素雰囲気下で低密度ポリエチレンを加水素分解反応させることが開示されている。
【先行技術文献】
【非特許文献】
【0005】
Y. Nakaji et al., Low temperature catalytic upgrading of waste polyolefinic plastics into liquid fuels and waxes, Applied Catalysis B: Environmental, 2021, 285, 119805
L. Chen et al., Disordered,Sub Nanometer Ru Structures on CeO2 are Highly Efficient and Selective Catalysts in Polymer Upcycling by Hydrogenolysis, ASC Catalysis, 2022, 12, 4618-4627
Shenglu Lu et al., Enhanced Production of Liquid Alkanes from Waste Polyethylene via the Electronic Effect Favored Csecondary Csecondary Bond Cleavage, ChemCatChem, 2023, 15, e202201375
【発明の概要】
【発明が解決しようとする課題】
【0006】
しかしながら、プラスチックのC-C結合の強さゆえ、非特許文献1~3においては、高温および/または高圧条件を必要とし、加水素分解プロセスに高いエネルギーを必要とする。したがって、現在、温和な条件下であってもプラスチックの加水素分解を可能にする担持金属触媒の開発が切望されている。
【0007】
本発明は、上記問題を解決するためになされたものである。すなわち、温和な条件下であってもプラスチックの加水素分解を可能にする担持金属触媒を提供することを目的とする。
【課題を解決するための手段】
【0008】
[1]プラスチックの加水素分解に用いられる担持金属触媒であって、金属酸化物からなる担体と、前記担体に担持され、ルテニウムからなる1以上のルテニウム粒子と、水素を活性化する機能を有する金属からなる1以上の金属粒子とを含む触媒金属粒子と、を含み、前記金属粒子が、前記ルテニウム粒子に接している、担持金属触媒。
【0009】
[2]触媒金属粒子が、前記金属がルテニウムに対して偏析したルテニウム基合金から構成されている、上記[1]に記載の担持金属触媒。
【0010】
[3]前記金属粒子が、前記触媒金属粒子の表面に露出している、上記[1]または[2]に記載の担持金属触媒。
(【0011】以降は省略されています)
この特許をJ-PlatPat(特許庁公式サイト)で参照する
関連特許
国立大学法人 東京大学
プロペラ
5か月前
国立大学法人 東京大学
ガス処理方法
2日前
国立大学法人 東京大学
担持金属触媒
16日前
国立大学法人 東京大学
せん妄判定方法
1か月前
国立大学法人東京農工大学
タンクモジュール
6か月前
国立大学法人 東京大学
化学センサ用基材
4か月前
国立大学法人 東京大学
コンパレータ回路
6日前
国立大学法人 東京大学
てんかんの検出方法
6か月前
国立大学法人 東京大学
ソフトエクソスーツ
4か月前
国立大学法人 東京大学
微粒子分離システム
4か月前
国立大学法人 東京大学
超音波モータシステム
1か月前
国立大学法人 東京大学
超音波モータシステム
1か月前
国立大学法人 東京大学
振動変換器及び噴霧器
4か月前
国立大学法人 東京大学
光学装置及びレーザー
2か月前
国立大学法人 東京大学
超音波モータシステム
1か月前
国立大学法人 東京大学
結晶、及びその製造方法
1か月前
国立大学法人 東京大学
粘性の測定装置及び方法
6か月前
AGC株式会社
組成物
3か月前
国立大学法人 東京大学
テラヘルツ帯同期検波回路
1か月前
国立大学法人 東京大学
制御装置、および制御方法
6か月前
国立大学法人 東京大学
生分解性ポリマー複合材料
5か月前
国立大学法人 東京大学
推定装置、及びプログラム
17日前
国立大学法人 東京大学
接着性細胞の浮遊培養用基材
2日前
NTT株式会社
圧力センサ
17日前
国立大学法人 東京大学
嗅覚受容体の応答感度増強剤
2か月前
国立大学法人 東京大学
読出回路及び磁気メモリ装置
16日前
国立大学法人 東京大学
テラヘルツ波帯位相変調回路
1か月前
国立大学法人 東京大学
消化管幹細胞活性化用組成物
5か月前
住友化学株式会社
原子力電池
3か月前
国立大学法人 東京大学
情報処理装置、及びプログラム
1か月前
国立大学法人 東京大学
ドローンを用いた配送システム
2日前
国立大学法人 東京大学
炭酸カルシウム結晶の製造方法
5か月前
国立大学法人 東京大学
血糖制御能力の推定方法及び装置
6か月前
国立大学法人 東京大学
搬送トレイおよびワーク作業装置
6か月前
国立大学法人 東京大学
光デバイス及びコヒーレント受信器
1か月前
積水化学工業株式会社
酸素発生剤
27日前
続きを見る
他の特許を見る