TOP
|
特許
|
意匠
|
商標
特許ウォッチ
Twitter
他の特許を見る
公開番号
2025130419
公報種別
公開特許公報(A)
公開日
2025-09-08
出願番号
2024027571
出願日
2024-02-27
発明の名称
磁気粘性流体装置
出願人
株式会社栗本鐵工所
代理人
KEY弁理士法人
主分類
F16D
37/02 20060101AFI20250901BHJP(機械要素または単位;機械または装置の効果的機能を生じ維持するための一般的手段)
要約
【課題】簡易な構造にて磁気粘性流体が充填される空間を形成する2つのヨークの間の離間寸法の精度を高めるこができる磁気粘性流体装置を提供する。
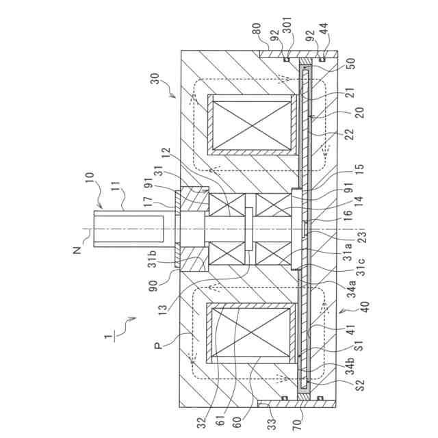
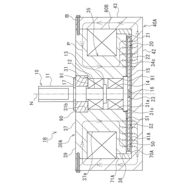
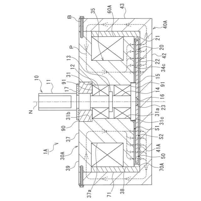
【解決手段】磁気粘性流体装置1は、回転軸10に固定された回転板20と、回転板20の一方の主面に第1隙間を介して対向する第1対向面34a,34bを有する第1ヨーク30と、回転板20の他方の主面に第2隙間を介して対向する第2対向面41を有する第2ヨーク40と、第1,第2隙間に充填された磁気粘性流体50と、通電時に第1ヨーク30、第2ヨーク40、回転板20および磁気粘性流体50を通過する磁路を形成するコイル60とを備える。回転板20の外周面より径方向外方において、非磁性体からなるスペーサ70が、第1ヨーク30および第2ヨーク40と接する状態で、第1ヨーク30と第2ヨーク40との間に介在する。
【選択図】図1
特許請求の範囲
【請求項1】
軸線回りに回転する回転軸に固定された回転板と、
前記回転板の一方の主面に第1隙間を介して対向する第1対向面を有する第1ヨークと、
前記回転板の他方の主面に第2隙間を介して対向する第2対向面を有する第2ヨークと、
前記第1隙間および前記第2隙間に充填された磁気粘性流体と、
通電時に、前記第1ヨーク、前記第2ヨーク、前記回転板および前記磁気粘性流体を通過する磁路を形成するコイルと、
を備え、
前記回転板が前記第1ヨークおよび前記第2ヨークに対して回転可能に設けられた磁気粘性流体装置において、
前記回転板の外周面より径方向外方において、非磁性体からなるスペーサが、前記第1ヨークおよび前記第2ヨークと接する状態で、前記第1ヨークと前記第2ヨークとの間に介在する、
ことを特徴とする磁気粘性流体装置。
続きを表示(約 550 文字)
【請求項2】
請求項1に記載の磁気粘性流体装置であって、
前記スペーサはリング形状を有する、
ことを特徴とする磁気粘性流体装置。
【請求項3】
請求項1または2に記載の磁気粘性流体装置であって、
前記第1ヨークおよび前記第2ヨークは、非磁性体からなる筒形状のケーシング内に挿入され、前記ケーシングを介して互いに固定されており、
前記ケーシングの内周面と隣接して前記スペーサが配置されている、
ことを特徴とする磁気粘性流体装置。
【請求項4】
請求項1または2に記載の磁気粘性流体装置であって、
前記コイルは、前記回転板の一方の主面側において前記軸線を内側に含む環状に巻設され、
前記第1ヨークは、前記第1対向面と前記コイルとの間に位置する第1ヨーク延出部を有し、
前記第1ヨーク延出部の外周面より径方向外方に位置し、非磁性体からなる筒形状の短絡磁路防止部材をさらに備える、
ことを特徴とする磁気粘性流体装置。
【請求項5】
請求項3に記載の磁気粘性流体装置であって、
前記スペーサおよび前記ケーシングは一体に形成されている、
ことを特徴とする磁気粘性流体装置。
発明の詳細な説明
【技術分野】
【0001】
本発明は、相対回転可能に設けられた部材間に磁気粘性流体を介在させ、当該磁気粘性流体に付与する磁場の強さを変えることにより、上記部材間で伝達されるトルクを可変とする磁気粘性流体装置に関する。
続きを表示(約 1,500 文字)
【背景技術】
【0002】
この種の磁気粘性流体装置は、例えば特許文献1,2に開示されている。特許文献1,2に開示されている磁気粘性流体装置は、回転板と、回転板の両面にそれぞれ対向配置されたヨークとを備える。回転板とヨークとの間には、微小寸法の隙間が形成され、当該隙間に磁気粘性流体が充填されている。そして、回転板の両面に対向配置されたヨークの間に、回転板および磁気粘性流体を貫通する磁場が形成されることで、磁気粘性流体が磁場の強さに応じた粘度を発現し、回転板とヨークとの間で磁場の強さに応じたトルクが伝達される。
【先行技術文献】
【特許文献】
【0003】
特開2014-181778号公報
特開2017-044215号公報
【発明の概要】
【発明が解決しようとする課題】
【0004】
上記磁気粘性流体装置では、磁気粘性流体が充填される隙間の寸法によって、回転板とヨークとの間で伝達されるトルクが異なる。したがって、回転板とヨークとの間で設計通りのトルクを伝達させるために(つまり、磁気粘性流体装置に設計通りの性能を発揮させるために)、まずは対向配置された2つのヨークの間の離間寸法の精度を高めることが重要である。
【0005】
しかしながら、特許文献1,2のような従来の磁気粘性流体装置では、複数の部材の組み合わせによって2つのヨークの間隔が形成されることから、2つのヨークの間隔の公差が、複数の部材の寸法公差の累積値となり、離間寸法の精度を高めることが容易ではなかった。
【0006】
本発明は、かかる課題に鑑みて創案されたものであり、簡易な構造にて、磁気粘性流体が充填される空間を形成する2つのヨークの間の離間寸法の精度を高めることができる磁気粘性流体装置を提供することを目的とする。
【課題を解決するための手段】
【0007】
本発明の第1の態様に係る磁気粘性流体装置は、軸線回りに回転する回転軸に固定された回転板と、前記回転板の一方の主面に第1隙間を介して対向する第1対向面を有する第1ヨークと、前記回転板の他方の主面に第2隙間を介して対向する第2対向面を有する第2ヨークと、前記第1隙間および前記第2隙間に充填された磁気粘性流体と、通電時に、前記第1ヨーク、前記第2ヨーク、前記回転板および前記磁気粘性流体を通過する磁路を形成するコイルと、を備える。前記回転板が前記第1ヨークおよび前記第2ヨークに対して回転可能に設けられる。前記回転板の外周面より径方向外方において、非磁性体からなるスペーサが、前記第1ヨークおよび前記第2ヨークと接する状態で、前記第1ヨークと前記第2ヨークとの間に介在する。
【0008】
かかる構成を備える磁気粘性流体装置によれば、スペーサによって第1ヨークの第1対向面と、第2ヨークの第2対向面との離間寸法の精度を簡単に高めることができる。
【0009】
本発明の第2の態様に係る磁気粘性流体装置は、第1の態様に係る磁気粘性流体装置において、前記スペーサはリング形状を有する。
【0010】
本発明の第3の態様に係る磁気粘性流体装置は、第1の態様または第2の態様に係る磁気粘性流体装置において、前記第1ヨークおよび前記第2ヨークは、非磁性体からなる筒形状のケーシング内に挿入され、前記ケーシングを介して互いに固定されており、前記ケーシングの内周面と隣接して前記スペーサが配置されている。
(【0011】以降は省略されています)
この特許をJ-PlatPat(特許庁公式サイト)で参照する
関連特許
個人
留め具
4日前
個人
鍋虫ねじ
1か月前
個人
ホース保持具
6か月前
個人
回転伝達機構
2か月前
個人
紛体用仕切弁
1か月前
個人
差動歯車用歯形
3か月前
個人
トーションバー
6か月前
個人
給排気装置
11日前
個人
ジョイント
29日前
株式会社不二工機
電磁弁
3か月前
個人
ボルトナットセット
7か月前
個人
ナット
1か月前
個人
回転式配管用支持具
7か月前
株式会社不二工機
電磁弁
5か月前
個人
地震の揺れ回避装置
2か月前
株式会社オンダ製作所
継手
8か月前
個人
吐出量監視装置
1か月前
カヤバ株式会社
緩衝器
3か月前
カヤバ株式会社
ダンパ
3か月前
カヤバ株式会社
緩衝器
3か月前
柿沼金属精機株式会社
分岐管
2か月前
株式会社三協丸筒
枠体
6か月前
個人
ベルトテンショナ
7か月前
カヤバ株式会社
ダンパ
3か月前
カヤバ株式会社
緩衝器
10日前
カヤバ株式会社
緩衝器
7か月前
株式会社不二工機
電磁弁
1か月前
協和工業株式会社
空気弁
8か月前
株式会社ノーリツ
分配弁
5か月前
株式会社ノーリツ
分配弁
5か月前
個人
角型菅の連結構造及び工法
7か月前
株式会社ノーリツ
分配弁
5か月前
日東精工株式会社
樹脂被覆ねじ
7か月前
株式会社ニフコ
クリップ
15日前
株式会社奥村組
制振機構
19日前
株式会社奥村組
制振機構
19日前
続きを見る
他の特許を見る