TOP
|
特許
|
意匠
|
商標
特許ウォッチ
Twitter
他の特許を見る
10個以上の画像は省略されています。
公開番号
2025130547
公報種別
公開特許公報(A)
公開日
2025-09-08
出願番号
2024027785
出願日
2024-02-27
発明の名称
車両前部構造
出願人
スズキ株式会社
代理人
個人
,
個人
,
個人
,
個人
,
個人
,
個人
主分類
B60R
13/02 20060101AFI20250901BHJP(車両一般)
要約
【課題】カバー部材とフロントピラートリムとの見切りを向上させ、ラトル音の発生を抑制する車両前部構造を提供する。
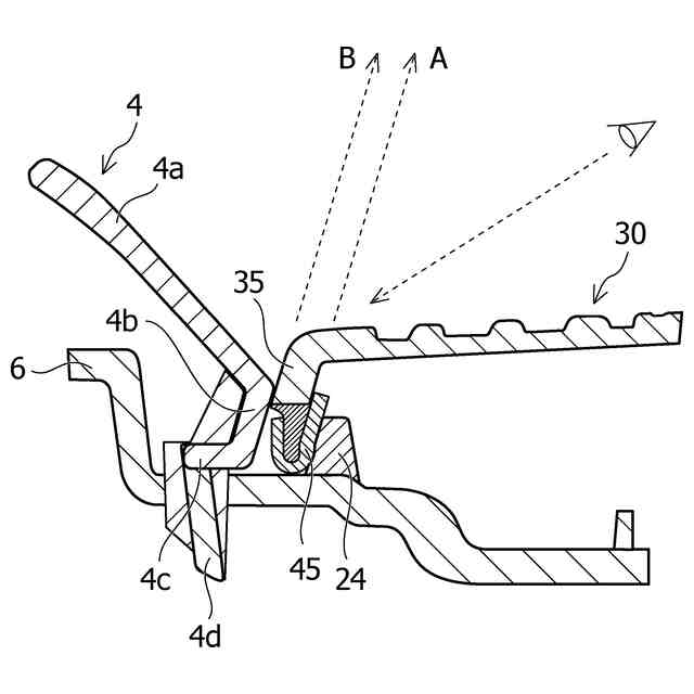
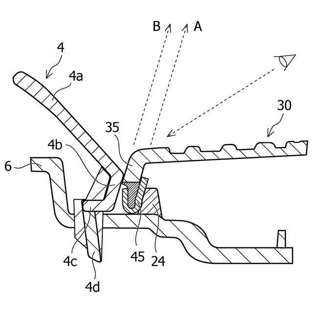
【解決手段】アッパパネル6の一端部に設けられる収納部12の上部に配置されるカバー部材30、カバー部材30よりも車幅方向外側でアッパパネル6と接続されるフロントピラートリム4を備えた車両前部構造で、カバー部材30の車幅方向外側端部には、下方に向かって車幅方向外側に傾斜する外側傾斜壁部35が設けられ、フロントピラートリム4の下部に、外側傾斜壁部35の車幅方向の外側面に沿って隣接する下脚部4bが設けられ、アッパパネル6における外側傾斜壁部35よりも車幅方向内側には支持壁24が設けられ、外側傾斜壁部35の車幅方向の内側面と下端とを覆う第1緩衝部材45が設けられ、第1緩衝部材45のうち内側面を覆う部分は、支持壁24と外側傾斜壁部35との間に配置されて外側傾斜壁部35を車幅方向外側に付勢する。
【選択図】図9
特許請求の範囲
【請求項1】
車幅方向に延びるインストルメントパネルの天面を形成するアッパパネルと、
前記アッパパネルの車幅方向一端部に設けられ、スピーカを取り付けるためのスピーカ取付部と、
前記スピーカ取付部の上部に配置されるカバー部材と、
前記カバー部材よりも車幅方向外側で前記アッパパネルと接続され、フロントピラーを覆うフロントピラートリムと、
を備えた車両前部構造であって、
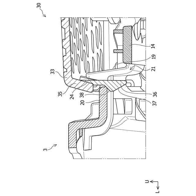
前記カバー部材の車幅方向の外側端部には、下方に向かうに従って車幅方向外側に向かって傾斜する外側傾斜壁部が前後方向に延びており、
前記外側傾斜壁部の下端には、下方へ延びる第1係合爪であって前記アッパパネルに形成された第1係合孔に係合される前記第1係合爪が設けられ、
前記フロントピラートリムの下部には、前記外側傾斜壁部の車幅方向の外側面に沿うように前記外側面に隣接する下脚部が設けられ、
前記アッパパネルにおける、前記外側傾斜壁部よりも車幅方向内側の部分には支持壁が設けられ、
前記外側傾斜壁部の車幅方向の内側面と下端とを覆う第1緩衝部材が設けられ、前記第1緩衝部材のうち前記内側面を覆う部分は、前記支持壁と前記外側傾斜壁部との間に配置されて前記外側傾斜壁部を車幅方向外側に付勢することを特徴とする車両前部構造。
続きを表示(約 650 文字)
【請求項2】
前記第1緩衝部材が設けられている位置における前記外側傾斜壁部の前記外側面の下部には、凹状に形成された凹部が設けられ、
前記第1緩衝部材は、前記外側傾斜壁部の下端から前記凹部にかけて延びていることを特徴とする請求項1に記載の車両前部構造。
【請求項3】
前記第1緩衝部材は、前記第1係合爪の前後方向の両側に配置され、
前記第1係合爪が設けられた位置における前記外側傾斜壁部の前記外側面の下部には、凸状に形成された突出部が設けられていることを特徴とする請求項1に記載の車両前部構造。
【請求項4】
前記凹部が設けられている位置における前記外側傾斜壁部の前記内側面には、上下に延びる第1当接リブが設けられ、
前記第1緩衝材は、前記第1当接リブを覆うように配置されていることを特徴とする請求項2に記載の車両前部構造。
【請求項5】
前記カバー部材の裏面には、前記カバー部材の裏面から下方に延びる複数の縦壁部が、前記カバー部材の外周端部のうち前記外側端部を除く部分の縁部に沿うように設けられ、前記複数の縦壁部は、前記縁部に対して内部側にずれて配置されており、
前記カバー部材の裏面には、下方へ延びる複数の第2係合爪が前記複数の縦壁部の間に設けられており、
前記複数の縦壁部のそれぞれには、前記複数の縦壁部のそれぞれを覆う複数の第2緩衝部材が設けられていることを特徴とする請求項1に記載の車両前部構造。
発明の詳細な説明
【技術分野】
【0001】
本発明は、インストルメントパネルとフロントピラーとを含む車両前部構造に関する。
続きを表示(約 2,100 文字)
【背景技術】
【0002】
車幅方向に延びるインストルメントパネルの上面を形成するアッパ部材と、アッパ部材と接続されフロントピラーを覆うピラーガーニッシュ(フロントピラートリム)とを備えた車両が知られている。
【0003】
例えば、特許文献1には、車幅方向に延びるインストルメントパネルの上面を形成するアッパ部材と、アッパ部材と接続されフロントピラーを覆うピラーガーニッシュ(フロントピラートリム)と、アッパ部材に取り付けられたスピーカを覆うためにアッパ部材に接続され、アッパ部材とピラーガーニッシュとの接続部分を被覆する被覆部材(カバー部材)とを備えた車両において、アッパ部材には挿通孔が形成され、ピラーガーニッシュは、該挿通孔に挿通されて固定される挿通部と、被覆部材との見切り(境界)を形成する見切り部とを有する車両が開示されている。
【0004】
特許文献1に示されるように、通常、被覆部材とピラーガーニッシュとが車幅方向で並んで配置される場合、被覆部材とピラーガーニッシュとの見切りを向上させるために、被覆部材とピラーガーニッシュとの間隔が近くなるように配置する。
【先行技術文献】
【特許文献】
【0005】
特開2013-151172号公報
【発明の概要】
【発明が解決しようとする課題】
【0006】
しかし、特許文献1に開示された車両の様に、被覆部材とピラーガーニッシュとの見切りを向上させるために、被覆部材とピラーガーニッシュとの間隔が近くなるように配置すると、スピーカの振動や走行時の振動によって、被覆部材とピラーガーニッシュ同士が互いに接触を繰り返すことでラトル音が発生するというおそれがある。
【0007】
そこで、本発明は、カバー部材とフロントピラートリムとの見切りを向上させつつ、ラトル音の発生を抑制する車両前部構造を提供することを目的とする。
【課題を解決するための手段】
【0008】
本発明の一態様は、車幅方向に延びるインストルメントパネルの天面を形成するアッパパネルと、アッパパネルの車幅方向一端部に設けられ、スピーカを取り付けるためのスピーカ取付部と、スピーカ取付部の上部に配置されるカバー部材と、カバー部材よりも車幅方向外側で前記アッパパネルと接続され、フロントピラーを覆うフロントピラートリムと、を備えた車両前部構造であって、カバー部材の車幅方向の外側端部には、下方に向かうに従って車幅方向外側に向かって傾斜する外側傾斜壁部が前後方向に延びており、外側傾斜壁部の下端には、下方へ延びる第1係合爪であってアッパパネルに形成された第1係合孔に係合される第1係合爪が設けられ、フロントピラートリムの下部には、外側傾斜壁部の車幅方向の外側面に沿うように外側面に隣接する下脚部が設けられ、アッパパネルにおける、外側傾斜壁部よりも車幅方向内側の部分には支持壁が設けられ、外側傾斜壁部の車幅方向の内側面と下端とを覆う第1緩衝部材が設けられ、第1緩衝部材のうち内側面を覆う部分は、支持壁と外側傾斜壁部との間に配置されて外側傾斜壁部を車幅方向外側に付勢する。
【発明の効果】
【0009】
本発明によれば、カバー部材とフロントピラートリムとの見切りを向上させつつ、ラトル音の発生を抑制する車両前部構造を提供することができる。
【図面の簡単な説明】
【0010】
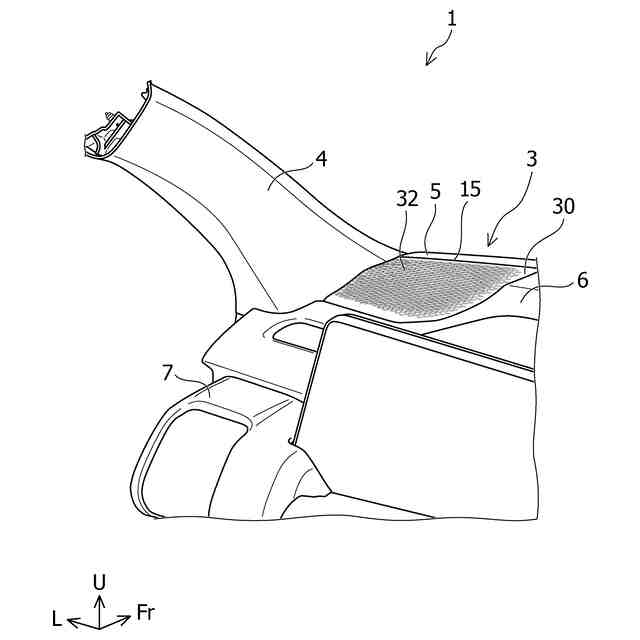
本実施形態に係る車両前部構造における車室内側の車幅方向一端側前部を示す斜視図である。
本実施形態に係る車両前部構造におけるインストルメントパネルに設けられた収納部を示す斜視図である。
本実施形態に係る車両前部構造におけるインストルメントパネルに設けられた収納部の一端部側を示す斜視図である。
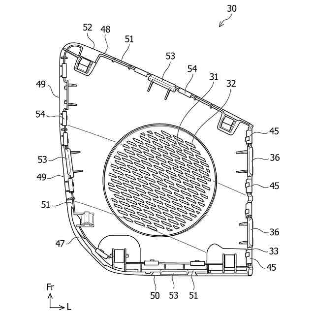
本実施形態に係る車両前部構造におけるカバー部材の裏面を示す図である。
本実施形態に係る車両前部構造におけるカバー部材の車幅方向一端側を示す斜視図である。
本実施形態に係る車両前部構造におけるカバー部材の前後方向の前側下部を示す斜視図である。
本実施形態に係る車両前部構造におけるインストルメントパネルの車幅方向一端部を示す車幅方向の縦断面図である。
本実施形態に係る車両前部構造におけるインストルメントパネルの車幅方向一端部のフロントピラートリムとの取り合いを示す車幅方向の縦断面図である。
本実施形態に係る車両前部構造におけるインストルメントパネルの車幅方向一端部のフロントピラートリムとの取り合いを説明する図である。
本実施形態に係る車両前部構造におけるカバー部材の車幅方向一端側を示す斜視図である。
本実施形態に係る車両前部構造におけるカバー部材の前後方向前側を示す斜視図である。
【発明を実施するための形態】
(【0011】以降は省略されています)
この特許をJ-PlatPat(特許庁公式サイト)で参照する
関連特許
スズキ株式会社
車両構造
17日前
スズキ株式会社
車両構造
17日前
スズキ株式会社
車両構造
17日前
スズキ株式会社
車両構造
17日前
スズキ株式会社
車室構造
17日前
スズキ株式会社
車室構造
17日前
スズキ株式会社
車室構造
17日前
スズキ株式会社
車両構造
17日前
スズキ株式会社
車両構造
17日前
スズキ株式会社
車両構造
17日前
スズキ株式会社
車両構造
17日前
スズキ株式会社
車両用バンパ
1か月前
スズキ株式会社
車両前部構造
1か月前
スズキ株式会社
車両後部構造
11日前
スズキ株式会社
燃料電池車両
25日前
スズキ株式会社
車両検査装置
12日前
スズキ株式会社
燃料電池車両
25日前
スズキ株式会社
モータケース
1か月前
スズキ株式会社
車両用変速機
1か月前
スズキ株式会社
車両用荷室構造
17日前
スズキ株式会社
車体ルーフ構造
17日前
スズキ株式会社
車両の制御装置
1か月前
スズキ株式会社
車両用送風構造
1か月前
スズキ株式会社
車両用送風構造
1か月前
スズキ株式会社
車両用制御装置
今日
スズキ株式会社
車両用送風構造
1か月前
スズキ株式会社
車両の制御装置
3日前
スズキ株式会社
車両用制御装置
12日前
スズキ株式会社
車両の制御装置
10日前
スズキ株式会社
車両のルーフ構造
1か月前
スズキ株式会社
ハイブリッド車両
1か月前
スズキ株式会社
衝突被害軽減装置
24日前
スズキ株式会社
車両の可動ゲート
6日前
スズキ株式会社
電動車両の制御装置
1か月前
スズキ株式会社
車両の制御システム
3日前
スズキ株式会社
電動車両の後部構造
11日前
続きを見る
他の特許を見る