TOP
|
特許
|
意匠
|
商標
特許ウォッチ
Twitter
他の特許を見る
10個以上の画像は省略されています。
公開番号
2025130644
公報種別
公開特許公報(A)
公開日
2025-09-08
出願番号
2024027959
出願日
2024-02-27
発明の名称
生体組織硬さ測定用の加振器付きアタッチメント及びこれを備えた生体組織の硬さ測定装置
出願人
国立大学法人群馬大学
,
フィンガルリンク株式会社
代理人
個人
主分類
A61B
8/08 20060101AFI20250901BHJP(医学または獣医学;衛生学)
要約
【課題】プローブ押し当て作業と共に押し当て可能な、取扱いに優れた加振器であって、体表面から測定しようとする体内の測定箇所に十分かつ安定した周波数で加振を与える。
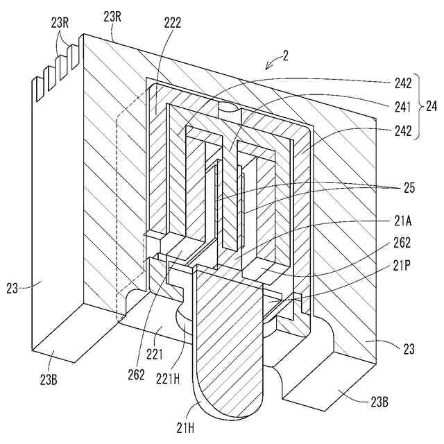
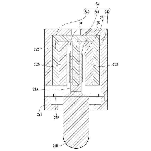
【解決手段】生体表面に押し当てて生体内の生体組織を一定の周波数で連続的に振動させる加振器を具備してなる。前記加振器は、磁界を形成した揺動空間を有するヨークと、ヨーク内に遊挿されて一軸方向へ揺動可能なムービングコイルと、ムービングコイルを基軸部に巻回固定した一軸棒状の振動体と、ヨークを内挿入したケーシングとから構成され、ヨーク内を軸方向の複数の区画壁によって中心及び対称位置に区画することで、軸方向に開放した断面櫛状の揺動空間が形成される。
【選択図】図5
特許請求の範囲
【請求項1】
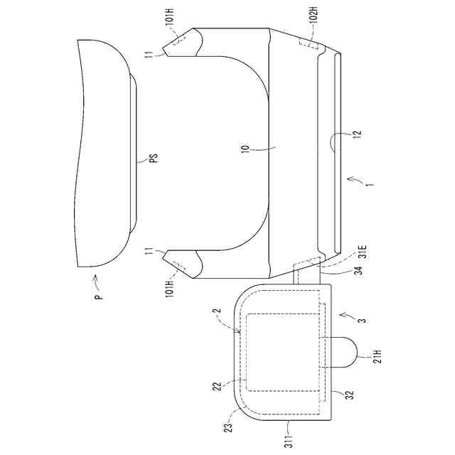
超音波プローブのプローブヘッドをアタッチメント式に枠持するカバーアタッチメントと、生体の皮膚表面に振動子を押し付けて生体組織を振動させる加振器と、加振器を枠状に保持するケーシングと、前記カバーアタッチメントと前記囲いケーシング3とをそれぞれの側部にて互いに一艇距離を保つように繋ぐジョイントアーム34と、を具備して一体的に構成され、
前記加振器は、磁界を形成した揺動空間を有するヨークと、ヨーク内に遊挿されて一軸方向へ揺動可能なムービングコイルと、ムービングコイルを基軸部に巻回固定した一軸棒状の振動体と、ヨークを内挿入したケーシングとから構成される加振器であって、ヨーク内を軸方向の複数の区画壁によって中心及び対称位置に区画することで、軸方向に開放した断面櫛状の揺動空間が形成されることを特徴とする、生体組織硬さ測定用の加振器付きアタッチメント。
続きを表示(約 520 文字)
【請求項2】
前記加振器は、軸方向に延びる複数の揺動空間によって、ムービングコイルが減衰せずに継続振動するだけの有効な磁路断面積を軸方向である縦方向に確保してなる、請求項1に記載の生体組織硬さ測定用の加振器付きアタッチメント。
【請求項3】
測定箇所の硬さ、位置に応じて加振周波数、振幅を調整する調整機構をさらに具備した、請求項1に記載の生体組織硬さ測定用の加振器付きアタッチメント。
【請求項4】
請求項1に記載の生体組織硬さ測定機用の加振器と、超音波プローブのプローブヘッドに取り外し可能に固定されたカバーアタッチメントとを、ジョイントアームを介して、プローブヘッドの側部方向へ所定の距離および所定の角度だけ離間した位置に固定してなる、生体組織の硬さ測定装置であって、
前記ジョイントアームは、プローブヘッド側部に突出した筒軸枠と、筒軸枠の下部に収容されたボールジョイントとボールジョイントの側部に突出した突出アームと、突出アームの先に固定された囲いケーシングとを具備し、囲いケーシングによって前記加振器がプローブヘッドの側方にて保持固定されることを特徴とする、生体組織の硬さ測定装置。
発明の詳細な説明
【技術分野】
【0001】
本発明は、生体組織を加振した状態で、加振した生体組織の生体表面に測定器を押し当てて硬さ測定を行うための、生体組織の硬さ測定用の加振器付きアタッチメント、及び、これを備えた生体組織の硬さ測定装置に関する。
続きを表示(約 1,600 文字)
【0002】
前記加振器付きアタッチメントは特に、生体の皮膚表面に押し付けて使用する超音波プローブの、プローブ送受信号を振動させるためのものである。また生体組織の硬さ測定装置は、生体組織の硬さ測定用の加振器付アタッチメント、測定装置である超音波プローブを取り付けた構成からなるものである。
【背景技術】
【0003】
超音波を用いて生体物(人体又は動物)の生体組織を映像化する超音波映像方法として、従来、WO2015/151972(特許文献1参照)が開示される。同開示においては、穿刺針を測定部近くの体表に押し当てて穿刺部の生体細胞を振動させた状態で、超音波エコー装置によって生体組織内を伝わる機械的な振動波(横波)の伝播速度を画像化している。
【0004】
この装置において、穿刺針には微小振動を付与する励振器が設置され、この励振器により振動される穿刺針のドプラ効果の影響を受けたエコー信号をプローブが受信することにより、穿刺針の外針から突出する内針の動きが認識されるようになっている。
【0005】
これは加振器とせん断波プローブをそれぞれ生体組織の体表面に接触させて、生体組織に伝わる振動のせん断波映像を解析することで、体表面よりも深部の生体組織硬さを測定するものである。一方、振動を与える振動発生器(加振器)として一般的に、ムービングコイル型、返信モーター型などが知られる。
【先行技術文献】
【特許文献】
【0006】
WO2015/151972A1公報
【発明の概要】
【発明が解決しようとする課題】
【0007】
しかしながら、上記文献1記載のようなタブレットエコー装置をはじめ、一般的に使用される加振器は大型かつ高質量のものが多く、取扱い性に欠けていた。特に、体表面振動を通じて体内の加振状態の生体組織のせん断波映像を得るためには、プローブと加振器を同時に体表面に押し当てる必要があるところ、加振器の生体物への接触状態によって加振周波数が減衰したり変動したりするという問題があった。
【0008】
そこで本発明は、プローブ押し当て作業と共に押し当て可能な、取扱いに優れた加振器であって、体表面から測定しようとする体内の測定箇所に十分かつ安定した周波数で加振を与えることができる、生体組織硬さ測定用の加振器付きアタッチメント及びこれを備えた生体組織の硬さ測定装置を提供することを課題とする。
【課題を解決するための手段】
【0009】
上記課題を解決すべく本発明では以下の手段を講じている。但し以下において構成の名称に続けて記載する数字乃至アルファベットは、図面の理解のために便宜的に付した符号であり、これによって構成の概念ないし形状、構造を限定する趣旨ではない。
【0010】
本発明の加振器付きアタッチメントは、生体表面に押し当てて生体内の生体組織を一定の周波数で連続的に振動させる加振器と、生体の皮膚表面に押し付けて使用する超音波プローブのプローブヘッドに取り付け可能なカバーアタッチメント12と、加振器を囲い保持する囲いケーシングと、囲いケーシング及びカバーアタッチメントを各側方にて繋ぐジョイントアームとを具備してなる。そして、前記加振器は、磁界を形成した揺動空間を有するヨークと、ヨーク内に遊挿されて一軸方向へ揺動可能なムービングコイルと、ムービングコイルを基軸部に巻回固定した一軸棒状の振動体と、ヨークを内挿入したケーシングとから構成される加振器であって、ヨーク内を軸方向の複数の区画壁によって中心及び対称位置に区画することで、軸方向に開放した断面櫛状の揺動空間が形成されることを特徴とする。
(【0011】以降は省略されています)
この特許をJ-PlatPat(特許庁公式サイト)で参照する
関連特許
国立大学法人群馬大学
支持構造の異常検知方法
6日前
国立大学法人群馬大学
支持構造の異常検知方法
6日前
国立大学法人群馬大学
炭素触媒、電極及び電池
4か月前
国立大学法人群馬大学
塩応答性材料およびその使用
2か月前
国立大学法人群馬大学
磁気浮上装置の制御システム
2か月前
日本農薬株式会社
抗真菌薬点眼剤
5か月前
国立大学法人群馬大学
運動機能検査における評価システム
27日前
日清紡ホールディングス株式会社
触媒
1か月前
国立大学法人群馬大学
生分解性樹脂の海洋生分解速度制御方法
2か月前
国立大学法人群馬大学
めっき成形体及びめっき成形体の製造方法
5か月前
国立大学法人群馬大学
NADPHを補酵素とする酵素の高感度活性測定法
2日前
群馬県
三面型振動試験用治具
1か月前
国立大学法人群馬大学
部材のリサイクル方法及びリサイクル接合部材の製造方法
6か月前
国立大学法人群馬大学
発泡剤シート及びその製造方法並びに発泡金属の製造方法
6か月前
株式会社SUBARU
評価方法、情報処理装置及び評価システム
2か月前
サンデン・リテールシステム株式会社
ヒトの培養細胞の冷蔵保存方法
7か月前
福助工業株式会社
複合粉末の製造方法及び生分解性樹脂組成物の製造方法
2か月前
株式会社Laboko
微細構造体デバイス製造システム及び微細構造体デバイス製造方法
4か月前
国立大学法人群馬大学
生体組織硬さ測定用の加振器付きアタッチメント及びこれを備えた生体組織の硬さ測定装置
27日前
国立大学法人群馬大学
せん断波伝播速度推定による靭帯ないし腱の状態表示方法、及びこれを備えた靭帯ないし腱の状態表示システム
27日前
個人
健康器具
7か月前
個人
鼾防止用具
7か月前
個人
歯茎みが品
8か月前
個人
短下肢装具
2か月前
個人
マッサージ機
8か月前
個人
洗井間専家。
6か月前
個人
嚥下鍛錬装置
3か月前
個人
脈波測定方法
7か月前
個人
塗り薬塗り具
9か月前
個人
白内障治療法
6か月前
個人
前腕誘導装置
2か月前
個人
導電香
8か月前
個人
脈波測定方法
7か月前
個人
汚れ防止シート
6日前
個人
矯正椅子
4か月前
個人
健康器具
9か月前
続きを見る
他の特許を見る