TOP
|
特許
|
意匠
|
商標
特許ウォッチ
Twitter
他の特許を見る
10個以上の画像は省略されています。
公開番号
2025132717
公報種別
公開特許公報(A)
公開日
2025-09-10
出願番号
2024030468
出願日
2024-02-29
発明の名称
充電システムおよび制御方法
出願人
河村電器産業株式会社
代理人
個人
,
個人
,
個人
,
個人
主分類
H02J
7/00 20060101AFI20250903BHJP(電力の発電,変換,配電)
要約
【課題】検定済みの電力量計を使用することなく、車両に搭載された受電装置に供給した電力を判定できる充電システムおよび制御方法を提供すること。
【解決手段】車両に搭載された受電装置に電力を供給することにより充電を行う充電システムは、受電装置へ供給する電力を測定する電力測定部と、電力測定部が測定した電力に基づいて受電装置が第1充電電力より高出力である第2充電電力に対応しているか否かを判定する判定部とを備える。判定部は、第1充電電力を超える値である充電電力閾値に基づいて受電装置が第2充電電力に対応しているか否かを判定する。
【選択図】図2
特許請求の範囲
【請求項1】
車両に搭載された受電装置に電力を供給することにより充電を行う充電システムであって、
前記受電装置へ供給する電力を測定する電力測定部と、
前記電力測定部が測定した前記電力に基づいて前記受電装置が第1充電電力より高出力である第2充電電力に対応しているか否かを判定する判定部と
を備え、
前記判定部は、前記第1充電電力を超える値である充電電力閾値に基づいて前記受電装置が前記第2充電電力に対応しているか否かを判定する、充電システム。
続きを表示(約 1,100 文字)
【請求項2】
前記判定部は、前記電力測定部が測定した前記電力が所定時間以上前記充電電力閾値を超えた場合に前記受電装置が前記第2充電電力に対応していると判定する、請求項1に記載の充電システム。
【請求項3】
前記判定部は、前記電力測定部が測定した前記電力が前記充電電力閾値を超えたタイミングで前記所定時間の計測を開始する、請求項2に記載の充電システム。
【請求項4】
前記判定部は、前記電力測定部が測定した前記電力が前記充電電力閾値を超えたのが所定時間未満である場合に前記受電装置が前記第1充電電力に対応していると判定する、請求項1に記載の充電システム。
【請求項5】
充電の開始から終了までの前記電力測定部が測定した前記電力の平均値を導出する導出部
をさらに備え、
前記判定部は、前記平均値と一又は複数の異なる充電電力閾値とを比較することによって前記受電装置が対応している充電電力を判定する、請求項1に記載の充電システム。
【請求項6】
充電の開始から終了までにおいて、所定時間毎に前記電力測定部が測定した前記電力の平均値を導出する導出部
をさらに備え、
前記判定部は、複数の前記平均値と一又は複数の異なる充電電力閾値とを比較することによって前記受電装置が対応している充電電力を判定する、請求項1に記載の充電システム。
【請求項7】
前記受電装置が対応している充電電力を示す情報を、充電の制御を行う充電制御装置へ通知するための充電電力通知情報を作成する作成部
をさらに備える、請求項1から請求項6のいずれか一項に記載の充電システム。
【請求項8】
前記受電装置が対応している充電電力に基づいて、異なる時間単価で課金する課金部
をさらに備える、請求項1に記載の充電システム。
【請求項9】
前記判定部は、変更要求に基づいて前記充電電力閾値を変更する、請求項1に記載の充電システム。
【請求項10】
車両に搭載された受電装置に電力を供給することにより充電を行う充電システムが実行する制御方法であって、
前記受電装置へ供給する電力を測定するステップと、
前記測定するステップで測定した前記電力に基づいて前記受電装置が第1充電電力より高出力である第2充電電力に対応しているか否かを判定するステップと
を有し、
前記判定するステップでは、前記第1充電電力を超える値である充電電力閾値に基づいて前記受電装置が前記第2充電電力に対応しているか否かを判定する、制御方法。
発明の詳細な説明
【技術分野】
【0001】
本発明は、充電システムおよび制御方法に関する。
続きを表示(約 3,600 文字)
【背景技術】
【0002】
電気自動車は、一般的に、バッテリに蓄電された電力によってモータを駆動させるため、バッテリの電力が無くなったときにはモータを駆動することができなくなり、自走できなくなる。したがって、バッテリには常に電力を蓄電しておく必要がある。
電気自動車は自宅の電源コンセントからも充電することができるが、外出先で充電したい場合には公共のEV充電スポットを利用する。多くの場合、EV充電スポットでは自宅のコンセントよりも大きな電力で充電することが可能である。特に、急速充電器と呼ばれる充電スタンドを利用すると、自宅の電源コンセントの数十倍の速さで充電することができる。
【0003】
電気自動車に電気を供給するEV充電器は、普通充電器と急速充電器とに分けられる。普通充電器は、受電した交流電圧をそのまま車両に供給する仕組みになっている。急速充電器は、交流電圧を直流変換することで車両に大電力を供給する仕組みになっている。集合住宅や月極駐車場に設置される普通充電器は基礎充電を行うものが多く、商業施設、コインパーキングなどに設置される普通充電器は課金機能を持ち、目的地までに必要な電力の充電を行うものが多い。
普通充電器による課金方法には、時間課金と従量制課金との2つの方法がある。時間課金では、使った電気量ではなく、利用時間によって一律で料金が決まる。従量制課金では、充電した電力量(kWh)に応じて、課金をする。
【0004】
電気自動車の充電及び課金に関して、使用時間計器を備える電気自動車充電ステーションで電気自動車を充電する技術が知られている(例えば、特許文献1参照)。この技術は、充電セッションのアクティブ時に、使用時間計器にプログラムされた複数の期間にエネルギ測定値を計測する段階を含む。電気自動車は確立された充電セッションの間に充電可能であり、使用時間計器は、期間によって異なる料金体系を適用できる。
【先行技術文献】
【特許文献】
【0005】
特許第5909194号公報
【発明の概要】
【発明が解決しようとする課題】
【0006】
電気自動車の充電器を普及させるにあたり、課金サービスの実装が重要となる。充電時間で課金を行うと、軽EV、プラグインハイブリッドカー(plug-in hybrid car)などの時間当たりの充電量が少ない車両にとっては、不利な課金形態となってしまう。一方で、従量課金をする場合には、検定済みの電力量計を使用して充電量を測定する必要があり、コストや管理の手間が増える。
本発明の目的は、検定済みの電力量計を使用することなく、車両に搭載された受電装置に供給した電力を判定できる充電システムおよび制御方法を提供することにある。
【課題を解決するための手段】
【0007】
(1)本発明の一態様は、車両に搭載された受電装置に電力を供給することにより充電を行う充電システムであって、前記受電装置へ供給する電力を測定する電力測定部と、前記電力測定部が測定した前記電力に基づいて前記受電装置が第1充電電力より高出力である第2充電電力に対応しているか否かを判定する判定部とを備え、前記判定部は、前記第1充電電力を超える値である充電電力閾値に基づいて前記受電装置が前記第2充電電力に対応しているか否かを判定する、充電システムである。
(2)本発明の一態様は、上記(1)に記載の充電システムにおいて、前記判定部は、前記電力測定部が測定した前記電力が所定時間以上前記充電電力閾値を超えた場合に前記受電装置が前記第2充電電力に対応していると判定する、充電システムである。
(3)本発明の一態様は、上記(2)に記載の充電システムにおいて、前記判定部は、前記電力測定部が測定した前記電力が前記充電電力閾値を超えたタイミングで前記所定時間の計測を開始する、充電システムである。
(4)本発明の一態様は、上記(1)に記載の充電システムにおいて、前記判定部は、前記電力測定部が測定した前記電力が前記充電電力閾値を超えたのが所定時間未満である場合に前記受電装置が前記第1充電電力に対応していると判定する、充電システムである。
(5)本発明の一態様は、上記(1)に記載の充電システムにおいて、充電の開始から終了までの前記電力測定部が測定した電力の平均値を導出する導出部をさらに備え、前記判定部は、電力の前記平均値と一又は複数の異なる充電電力閾値とを比較することによって前記受電装置が対応している充電電力を判定する、充電システムである。
(6)本発明の一態様は、上記(1)に記載の充電システムにおいて、充電の開始から終了までにおいて、所定時間毎に前記電力測定部が測定した電力の平均値を導出する導出部をさらに備え、前記判定部は、複数の電力の前記平均値と一又は複数の異なる充電電力閾値とを比較することによって前記受電装置が対応している充電電力を判定する、充電システムである。
(7)本発明の一態様は、上記(1)から上記(6)のいずれか一項に記載の充電システムにおいて、前記受電装置の識別情報と、該受電装置が対応している充電電力を示す情報とを、充電の制御を行う充電制御装置へ通知する通知部をさらに備える、充電システムである。
(8)本発明の一態様は、上記(1)に記載の充電システムにおいて、前記受電装置が対応している充電電力を示す情報を、充電の制御を行う充電制御装置へ通知するための充電電力通知情報を作成する作成部をさらに備える、充電システムである。
(9)本発明の一態様は、上記(1)に記載の充電システムにおいて、前記判定部は、変更要求に基づいて前記充電電力閾値を変更する、充電システムである。
【0008】
(10)本発明の一態様は、車両に搭載された受電装置に電力を供給することにより充電を行う充電システムが実行する制御方法であって、前記受電装置へ供給する電力を測定するステップと、前記測定するステップで測定した前記電力に基づいて前記受電装置が第1充電電力より高出力である第2充電電力に対応しているか否かを判定するステップとを有し、前記判定するステップでは、前記第1充電電力を超える値である充電電力閾値に基づいて前記受電装置が前記第2充電電力に対応しているか否かを判定する、制御方法である。
【発明の効果】
【0009】
本発明によれば、検定済みの電力量計を使用することなく、車両に搭載された受電装置に供給した電力を判定できる充電システムおよび制御方法を提供できる。
【図面の簡単な説明】
【0010】
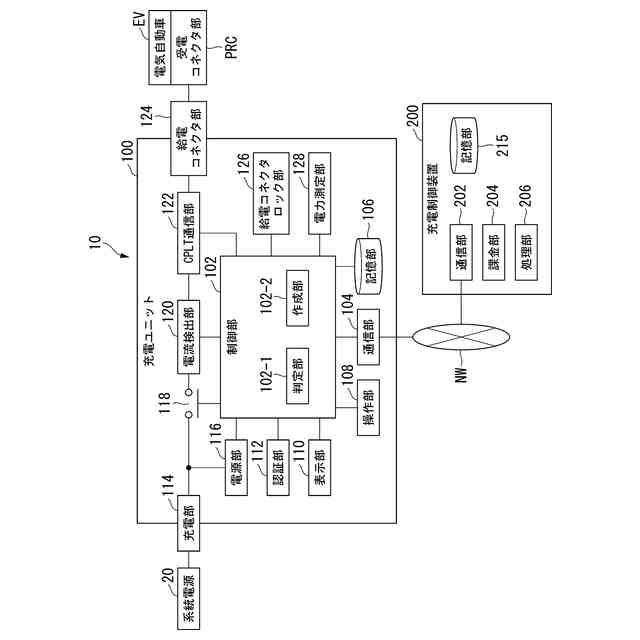
本発明の実施形態に係る充電システム10の構成例を示す図である。
本実施形態に係る充電システム10に含まれる充電ユニット100および充電制御装置200の一例を示す図である。
本実施形態に係る充電システム10の動作の一例を説明するための図である。
本実施形態に係る充電システム10の動作の一例を示すフローチャートである。
本実施形態に係る充電システム10の動作の一例を示すフローチャートである。
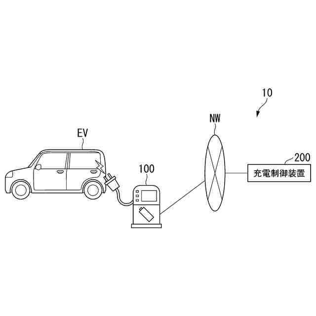
本実施形態に係る充電システム10の適用例を示す図である。
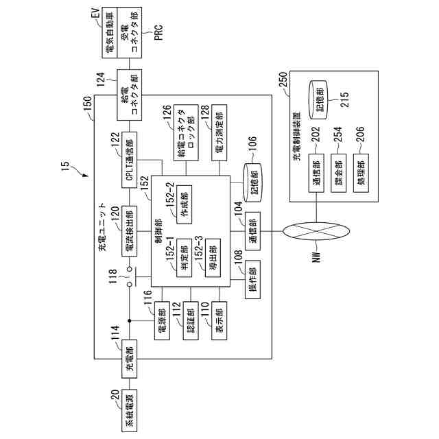
実施形態の変形例1に係る充電システム15に含まれる充電ユニット150および充電制御装置250の一例を示す図である。
実施形態の変形例1に係る充電システム15の動作の一例を説明するための図である。
実施形態の変形例1に係る充電システム15の動作の一例を示すフローチャートである。
実施形態の変形例1に係る充電システム15の動作の他の一例を説明するための図である。
実施形態の変形例1に係る充電システム15の適用例を示す図である。
実施形態の変形例2に係る充電システム17に含まれる充電ユニット170および充電制御装置270の一例を示す図である。
実施形態の変形例2に係る充電システム17の動作の一例を説明するための図である。
実施形態の変形例2に係る充電システム17の動作の一例を示すフローチャートである。
実施形態の変形例2に係る充電システム17の動作の一例を示すフローチャートである。
実施形態の変形例2に係る充電システム17の動作の他の一例を説明するための図である。
実施形態の変形例2に係る充電システム17の適用例を示す図である。
【発明を実施するための形態】
(【0011】以降は省略されています)
この特許をJ-PlatPat(特許庁公式サイト)で参照する
関連特許
河村電器産業株式会社
電気機器収納用筐体
6日前
河村電器産業株式会社
収納箱の扉の係止構造
1日前
河村電器産業株式会社
負荷名称ラベル作成システム
5日前
河村電器産業株式会社
情報処理システムおよび情報処理方法
19日前
個人
電源装置
20日前
個人
バッテリ内蔵直流電源
19日前
株式会社FUJI
制御盤
9日前
西部電機株式会社
充電装置
1日前
西部電機株式会社
充電装置
1日前
日本精機株式会社
サージ保護回路
1日前
オムロン株式会社
電源回路
13日前
オムロン株式会社
電源回路
13日前
オムロン株式会社
電源回路
13日前
トヨタ自動車株式会社
回転子
20日前
ニデック株式会社
モータの制御方法
27日前
日産自動車株式会社
電子機器
1か月前
トヨタ自動車株式会社
回転子
5日前
東京応化工業株式会社
発電装置
13日前
ミサワホーム株式会社
居住設備
9日前
個人
連続ガウス加速器形磁力増幅装置
1日前
大豊工業株式会社
モータ
19日前
カヤバ株式会社
筒型リニアモータ
今日
株式会社ミツバ
ブラシレスモータ
今日
株式会社リコー
拡張アンテナ装置
12日前
東京瓦斯株式会社
通信装置
今日
ニチコン株式会社
AC入力検出回路
5日前
富士電子工業株式会社
電力変換装置
21日前
ユタカ電業株式会社
ケーブルダクト
9日前
日産自動車株式会社
ステータ
6日前
トヨタ自動車株式会社
ロータ
7日前
NTN株式会社
モータユニット
9日前
株式会社ダイヘン
電力システム
1日前
株式会社デンソー
電力変換装置
5日前
株式会社ダイヘン
電力管理装置
28日前
株式会社ダイヘン
電力変換装置
1日前
株式会社ミツバ
巻線装置
12日前
続きを見る
他の特許を見る