TOP
|
特許
|
意匠
|
商標
特許ウォッチ
Twitter
他の特許を見る
10個以上の画像は省略されています。
公開番号
2025133168
公報種別
公開特許公報(A)
公開日
2025-09-11
出願番号
2024030946
出願日
2024-03-01
発明の名称
製函機
出願人
株式会社三協システム
代理人
個人
主分類
B65B
43/28 20060101AFI20250904BHJP(運搬;包装;貯蔵;薄板状または線条材料の取扱い)
要約
【課題】組立前の紙製収納箱シートを毎回同じ位置で吸着して保持しながら高精度に製函工程を行うことのできる製函機を提供する。
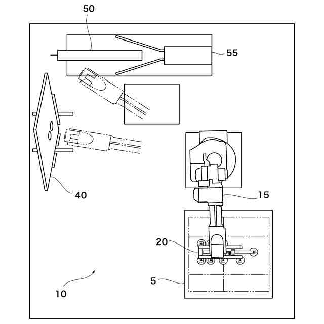
【解決手段】製函機10は、多関節ロボットアーム15と、吸着ヘッド20と、紙製収納箱シート7を一時的に仮置きするための仮置き部40であって、仮置きパネル41と、仮置きパネル41のパネル表面上で下方に向けて凸の角で直交する左右の直交二辺上において、パネル表面から表側に突出するように設置され、パネル表面上に仮置きされて自重により落下しようとする紙製収納箱シート7に左右両側から接触することで、紙製収納箱シート7を仮置き位置で支持するV字状シート支持部材42と、を有する仮置き部40と、を備え、多関節ロボットアーム15及び吸着ヘッド20は、紙製収納箱シート7を組み立てる前に、紙製収納箱シート7を仮置き部40に仮置きするように制御される。
【選択図】図1
特許請求の範囲
【請求項1】
組立前の紙製収納箱シートから紙製収納箱を組み立てる製函機において、
多関節ロボットアームと、
前記多関節ロボットアームの先端に設置された、前記紙製収納箱シートを吸着して保持する吸着ヘッドと、
前記紙製収納箱シートを一時的に仮置きするための仮置き部であって、
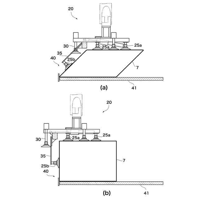
垂直状態から所定の角度傾斜して設置された仮置きパネルと、
前記仮置きパネルのパネル表面上で下方に向けて凸の角で直交する左右の直交二辺上において、前記パネル表面から表側に突出するように設置され、前記パネル表面上に仮置きされて自重により落下しようとする前記紙製収納箱シートに左右両側から接触することで、前記紙製収納箱シートを仮置き位置で支持するV字状シート支持部材と、
を有する仮置き部と、を備えることを特徴とする製函機。
続きを表示(約 1,000 文字)
【請求項2】
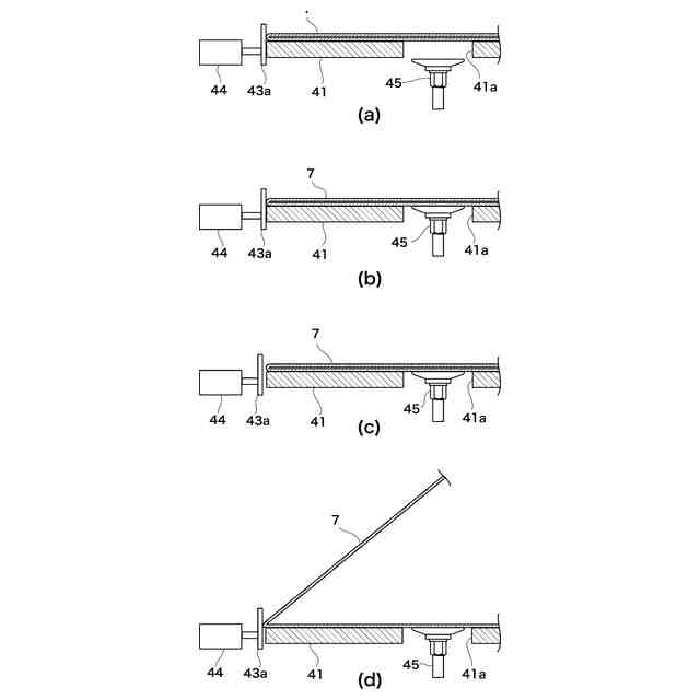
前記多関節ロボットアーム及び前記吸着ヘッドは、前記紙製収納箱シートを組み立てる前に、吸着保持した前記紙製収納箱シートを前記角部が下側になる姿勢で前記パネル表面上において解放すると共に、前記紙製収納箱シートが自重により前記仮置き位置に落下した後に、前記紙製収納箱シートの本吸着箇所を吸着保持して下流側へと移動させるように制御されることを特徴とする請求項1記載の製函機。
【請求項3】
前記V字状シート支持部材は、前記パネル表面に対して垂直に設置された、前記直交二辺上で延在する帯状プレートであり、
前記仮置き部は、左右何れかの前記帯状プレートを、前記仮置き位置の前記紙製収納箱シートに接触して支持する支持位置と、前記仮置き位置の前記紙製収納箱シートに接触しない退去位置との間でスライド可能に保持するスライド部材をさらに備えることを特徴とする請求項1記載の製函機。
【請求項4】
前記仮置き部は、前記パネル表面上に仮置きされた前記紙製収納箱シートを裏側から吸着するために、吸着面が前記パネル表面上に位置するように、前記仮置きパネルの開口部分に設置される仮置き位置開口補助吸着パッドをさらに備えることを特徴とする請求項1記載の製函機。
【請求項5】
前記仮置き位置開口補助吸着パッドにより前記仮置き位置の前記紙製収納箱シートの裏側を吸着固定すると共に、
前記多関節ロボットアーム及び前記吸着ヘッドにより、前記仮置き位置の前記紙製収納箱シートの前記本吸着箇所を吸着して引っ張ることで前記紙製収納箱シートを開くように構成されていることを特徴とする請求項1記載の製函機。
【請求項6】
前記吸着ヘッドは、吸着方向に移動しないように固定された複数の固定吸着パッドと、吸着方向に移動可能な複数のバッファ付き吸着パッドとを備え、前記紙製収納箱シートを前記仮置き位置に移動させる際には、前記バッファ付き吸着パッドのみで吸着保持し、前記仮置き位置の前記紙製収納箱シートの本吸着箇所を吸着保持する際には前記固定吸着パッドのみで吸着するように構成されていることを特徴とする請求項1記載の製函機。
【請求項7】
前記仮置きパネルは、垂直状態から7~20°傾斜していることを特徴とする請求項1記載の製函機。
発明の詳細な説明
【技術分野】
【0001】
本発明は、紙製収納箱を組み立てる製函機に関する。
続きを表示(約 1,900 文字)
【背景技術】
【0002】
従来から、折り畳まれたシート状の段ボール箱シートを組み立てて箱型の段ボール箱を形成する製函機が多数提供されており、例えば、下記特許文献1,2に開示されている。下記特許文献1,2には、多関節ロボットアームを用いて、組立前の段ボール箱シートを吸着保持し、吸着した段ボール箱シートを移動させながら段ボール箱を組み立てる製函機が開示されている。
【先行技術文献】
【特許文献】
【0003】
特開2005-1304号公報
特開2021-10971号公報
【発明の概要】
【発明が解決しようとする課題】
【0004】
ここで、段ボール箱を綺麗に組み立てるためには、下流側の製函工程において段ボール箱シートの所定の箇所を折曲げるための部材等に正確に接触させる必要があり、多関節ロボットアームにより段ボール箱シートを吸着保持する際には、段ボール箱シートの同じ吸着箇所を毎回正確に吸着することが望まれる。
【0005】
しかし、パレット上に多数積層された状態で供給される組立前の段ボール箱シートは、正確に揃えて積み上げられていることがほとんどなく、通常、各段ボール箱シートは水平方向に多少ずれた状態で積み上げられている。
【0006】
よって、多関節ロボットアームの先端の吸着ヘッドを毎回同じ場所に正確に位置させて段ボール箱シートの吸着を行っても、段ボール箱シートの吸着される位置は、毎回同じではなく、多少ずれてしまう。これでは、下流側の製函工程の組立精度も低下せざるを得ない。
【0007】
本発明は、このような課題に鑑みてなされたものであり、組立前の紙製収納箱シートを毎回同じ位置で吸着して保持しながら高精度に製函工程を行うことのできる製函機を提供することを目的とする。
【課題を解決するための手段】
【0008】
上記課題を解決するために、本発明に係る製函機は、組立前の紙製収納箱シートから紙製収納箱を組み立てる製函機において、多関節ロボットアームと、前記多関節ロボットアームの先端に設置された、前記紙製収納箱シートを吸着して保持する吸着ヘッドと、前記紙製収納箱シートを一時的に仮置きするための仮置き部であって、垂直状態から所定の角度傾斜して設置された仮置きパネルと、前記仮置きパネルのパネル表面上で下方に向けて凸の角で直交する左右の直交二辺上において、前記パネル表面から表側に突出するように設置され、前記パネル表面上に仮置きされて自重により落下しようとする前記紙製収納箱シートに左右両側から接触することで、前記紙製収納箱シートを仮置き位置で支持するV字状シート支持部材と、を有する仮置き部と、を備え、前記多関節ロボットアーム及び前記吸着ヘッドは、前記紙製収納箱シートを組み立てる前に、吸着保持した前記紙製収納箱シートを前記角部が下側になる姿勢で前記パネル表面上において解放すると共に、前記紙製収納箱シートが自重により前記仮置き位置に落下した後に、前記紙製収納箱シートの本吸着箇所を吸着保持して下流側へと移動させるように制御されることを特徴とする。
【発明の効果】
【0009】
本発明に係る製函機によれば、多関節ロボットアームの先端に設置された吸着ヘッドにより、組立前の紙製収納箱シートの同じ本吸着箇所を毎回吸着保持しながら製函工程を行うことができ、紙製収納箱の組立精度を高めることができる。
【図面の簡単な説明】
【0010】
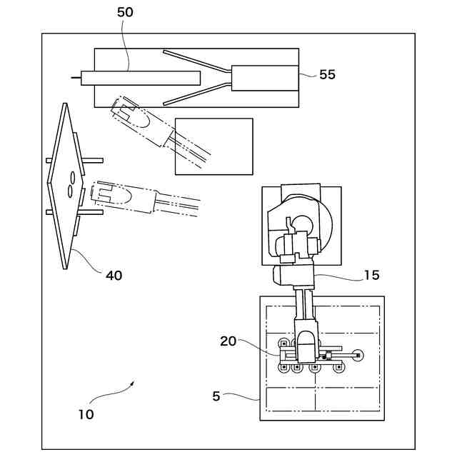
図1は、本発明の実施形態に係る製函機の構成を示す図である。
図2は、本発明の実施形態に係る吸着ヘッドの構成を示す図である。
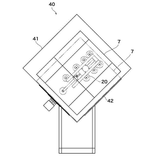
図3は、本発明の実施形態に係る仮置き部の構成を示す図である。
図4は、本発明の実施形態に係る仮置き部の機能を説明するための図である。
図5は、本発明の実施形態に係る仮置き部の機能を説明するための図である。
図6は、本発明の実施形態に係る段ボール箱シート供給部の段ボール箱シートを吸着保持する処理を説明するための図である。
図7は、本発明の実施形態に係る仮置き部における段ボール箱シートの側面を起こす処理を説明するための図である。
図8は、本発明の実施形態に係る仮置き部における段ボール箱シートの側面を起こす処理を説明するための図である。
図9は、本発明の実施形態に係る仮置き処理の流れを示すフローチャートである。
【発明を実施するための形態】
(【0011】以降は省略されています)
この特許をJ-PlatPat(特許庁公式サイト)で参照する
関連特許
個人
箱
11か月前
個人
ゴミ箱
11か月前
個人
収容箱
2か月前
個人
コンベア
4か月前
個人
ゴミ収集器
6か月前
個人
段ボール箱
6か月前
個人
容器
8か月前
個人
段ボール箱
6か月前
個人
土嚢運搬器具
7か月前
個人
楽ちんハンド
4か月前
個人
パウチ補助具
11か月前
個人
バンド
1か月前
個人
宅配システム
6か月前
個人
角筒状構造体
4か月前
個人
閉塞装置
9か月前
個人
廃棄物収容容器
1か月前
個人
包装容器
15日前
個人
お薬の締結装置
5か月前
個人
コード類収納具
7か月前
株式会社コロナ
梱包材
4か月前
個人
ゴミ処理機
8か月前
個人
貯蔵サイロ
6か月前
個人
蓋閉止構造
3か月前
株式会社和気
包装用箱
8か月前
個人
蓋閉止構造
3か月前
個人
積み重ね用補助具
2か月前
個人
把手付米袋
3か月前
三甲株式会社
蓋体
7か月前
株式会社KY7
封止装置
2か月前
三甲株式会社
容器
5か月前
三甲株式会社
容器
5か月前
個人
包装箱
9か月前
株式会社新弘
容器
2か月前
個人
コード折り畳み器具
3か月前
個人
輸送積荷用動吸振器
5か月前
株式会社イシダ
包装装置
11か月前
続きを見る
他の特許を見る