TOP
|
特許
|
意匠
|
商標
特許ウォッチ
Twitter
他の特許を見る
公開番号
2025011002
公報種別
公開特許公報(A)
公開日
2025-01-23
出願番号
2023113369
出願日
2023-07-10
発明の名称
ゴミ処理機
出願人
個人
代理人
個人
主分類
B65F
1/06 20060101AFI20250116BHJP(運搬;包装;貯蔵;薄板状または線条材料の取扱い)
要約
【課題】真空吸引ノズル等を用いずに、比較的シンプルな構造によりゴミ袋に収納されたゴミから発生する臭いを好適に抑制可能とするゴミ処理機を提供する。
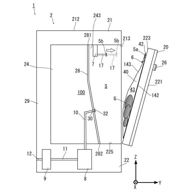
【解決手段】ゴミ処理機1は、ゴミGが収納されたゴミ袋40を収容する真空室Sを備えた筐体2と、ゴミ袋40の開口部42が閉じていない状態でゴミ袋40を保持する保持部6と、真空ホース10を介して真空室Sに接続されると共に、真空室Sの空気を吸引することで真空室Sを真空にする真空ポンプ8と、ゴミ袋40の開口部42を密封するシールヒータ5a,5bと、真空ポンプ8及びシールヒータ5a,5bの動作を制御する制御部と、を備える。前記制御部は、真空ポンプ8を動作させた後に、シールヒータ5a,5bを動作させる。シールヒータ5a,5bは、真空室Sの真空状態に伴いゴミ袋40の収納空間43が真空状態となった後に、ゴミ袋40の開口部42を密封する。
【選択図】図5
特許請求の範囲
【請求項1】
ゴミが収納されたゴミ袋を収容するように構成された真空室を備えた筐体と、
前記ゴミ袋の開口部が閉じていない状態で前記ゴミ袋を保持するように構成された保持部と、
第一の真空ホースを介して前記真空室に接続されると共に、前記真空室の空気を吸引することで前記真空室を真空にするように構成された真空ポンプと、
前記真空室内に設けられると共に、前記ゴミ袋の前記開口部を密封するように構成された密封部と、
前記真空ポンプ及び前記密封部の動作を制御するように構成された制御部と、
を備えたゴミ処理機であって、
前記制御部は、前記真空ポンプを動作させた後に、前記密封部を動作させ、
前記密封部は、前記真空室の真空状態に伴い前記ゴミ袋の内部が真空状態となった後に、前記開口部を密封するように構成されている、
ゴミ処理機。
続きを表示(約 930 文字)
【請求項2】
前記真空ポンプに第二の真空ホースを介して接続されると共に、前記真空ポンプによって吸引された空気が通過する脱気フィルタをさらに備える、
請求項1に記載のゴミ処理機。
【請求項3】
前記筐体は、扉と、前記扉に対向する仕切壁とをさらに備え、
前記真空室は、少なくとも前記扉と前記仕切壁とにより構成され、
前記仕切壁には吸引孔が形成され、
前記第一の真空ホースは、前記吸引孔に挿入されている、
請求項1又は2に記載のゴミ処理機。
【請求項4】
前記扉は、
外部に面する第一の外側表面と、
前記第一の外側表面とは反対側に位置し、前記真空室に面する第一の内側表面と、
を有し、
前記ゴミ袋は、前記第一の内側表面上に配置された状態で前記保持部によって保持される、
請求項3に記載のゴミ処理機。
【請求項5】
前記筐体は、天井部をさらに有し、
前記天井部は、
外部に面する第二の外側表面と、
前記第二の外側表面とは反対側に位置し、前記真空室に少なくとも一部が面する第二の内側表面と、
を有し、
前記真空室は、少なくとも前記第一の内側表面と、前記仕切壁と、前記第二の内側表面とにより構成される、
請求項4に記載のゴミ処理機。
【請求項6】
前記密封部は、
前記第一の内側表面上に設けられた第一の密封部と、
前記ゴミ袋を介して前記第一の密封部に対向する第二の密封部と、
を有し、
前記ゴミ処理機は、前記第二の密封部を前記ゴミ袋に向けて移動させるように構成された駆動部をさらに備え、
前記制御部は、
前記真空室の真空状態に伴い前記ゴミ袋の内部が真空状態となった後に、前記第二の密封部が前記ゴミ袋に向けて移動するように前記駆動部を動作させ、
前記第一の密封部と前記第二の密封部とによって前記ゴミ袋の開口部が密封されるように前記第一の密封部と前記第二の密封部を動作させる、
請求項4に記載のゴミ処理機。
発明の詳細な説明
【技術分野】
【0001】
本発明は、ゴミ処理機に関する。
続きを表示(約 2,000 文字)
【0002】
新型コロナウイルスの世界的パンデミックの影響も相俟って、衛生管理やウイルス感染対策の面から臭気を発生するゴミ(例えば、汚物が含まれたオムツ等)が収納されたゴミ袋を適切に処理する技術が現在注目されつつある。特に、病院、老人ホーム、保育所等の施設では、汚物が含まれた使用済みオムツ等が日々大量に出るため、ゴミ袋内に収納された使用済みオムツ等から発生する臭いを抑制することがウイルス感染防止や衛星管理の面からも非常に重要となっている。
【0003】
この点において、特許文献1では、使用済排泄ケア用品等の臭気発生物が収納されたゴミ袋を真空処理するゴミ処理装置が開示されている。特許文献1に開示されたゴミ処理装置では、真空吸引ポンプに接続された真空吸引ノズルがゴミ袋の内部に挿入された状態で、当該真空吸引ノズルによってゴミ袋の内部の空気が吸引された結果、ゴミ袋の内部が真空状態となる。その後、ゴミ袋の真空状態が維持された状態でゴミ袋の開口部が一対のシール部材により密封される。
【先行技術文献】
【特許文献】
【0004】
特開2021-195173号公報
【発明の概要】
【発明が解決しようとする課題】
【0005】
ところで、特許文献1に開示されたゴミ処理装置の構造は複雑になりやすい。特に、真空吸引ノズルの構造が複雑になりやすい。さらに、真空吸引ノズルをゴミ袋の内部から引き抜いた後にゴミ袋の内部に空気が入り込まないように、ゴミ袋内部の真空状態を維持した状態でゴミ袋を保持する必要があるため、ゴミ袋を保持する保持機構の構造も複雑となりやすい。また、ゴミ袋の内部に挿入された真空吸引ノズルによってゴミ袋内部の空気が吸引されるため、ゴミ袋に収納されたゴミが液体物を含む場合には(例えば、ゴミが尿や吐しゃ物を大量に含む場合等)、真空吸引ノズルによって液体物の一部が吸引されてしまう虞がある。この結果、真空吸引ノズルの先端部の衛生面に問題が生じやすくなると共に、当該ノズルや真空吸引ポンプに故障が生じやすい。このように、ゴミ袋に収納されたゴミの一部に液体物が含まれている場合等を考慮すると、真空吸引ノイズを用いたゴミ処理装置では実用面において問題が生じやすいといった課題がある。
【0006】
本発明は、ゴミ袋の内部に挿入される真空吸引ノズル等を用いずに、比較的シンプルな構造によりゴミ袋に収納されたゴミから発生する臭いを好適に抑制することを可能とするゴミ処理機を提供することを目的とする。
【課題を解決するための手段】
【0007】
本開示の一態様に係るゴミ処理機は、ゴミが収納されたゴミ袋を収容するように構成された真空室を備えた筐体と、前記ゴミ袋の開口部が閉じていない状態で前記ゴミ袋を保持するように構成された保持部と、第一の真空ホースを介して前記真空室に接続されると共に、前記真空室の空気を吸引することで前記真空室を真空にするように構成された真空ポンプと、前記真空室内に設けられると共に、前記ゴミ袋の前記開口部を密封するように構成された密封部と、前記真空ポンプ及び前記密封部の動作を制御するように構成された制御部と、を備える。前記制御部は、前記真空ポンプを動作させた後に、前記密封部を動作させる。前記密封部は、前記真空室の真空状態に伴い前記ゴミ袋の内部が真空状態となった後に、前記開口部を密封するように構成されている。
【0008】
上記構成によれば、真空室の真空状態に伴いゴミ袋の内部が真空状態となった後に、ゴミ袋の開口部が密封される。このように、ゴミ袋の内部に挿入される真空吸引ノズル等を用いずに、比較的シンプルな構造によりゴミ袋に収納されたゴミから発生する臭いを好適に抑制することを可能とするゴミ処理機を提供することができる。さらに、ゴミ袋に収納されているゴミに液体物が含まれている場合であっても、ゴミ袋から液体物の一部が漏れ出すことなくゴミ袋の内部の真空状態が維持された状態でゴミ袋の開口部が密封される。このように、ゴミに液体物が含まれている場合であっても、実用面において問題が生じることなく、ゴミ袋から発生する臭いを好適に抑制することが可能となる。
【0009】
また、前記ゴミ処理機は、前記真空ポンプに第二の真空ホースを介して接続されると共に、前記真空ポンプによって吸引された空気が通過する脱気フィルタをさらに備えてもよい。
【0010】
上記構成によれば、脱気フィルタにより真空ポンプによって吸引された空気の臭気や菌を取り除くことができる。このように、脱気フィルタによって臭気や菌が取り除かれた空気をゴミ処理機の外部に排出することができる。
(【0011】以降は省略されています)
この特許をJ-PlatPat(特許庁公式サイト)で参照する
関連特許
個人
収容箱
3か月前
個人
コンベア
5か月前
個人
容器
9か月前
個人
段ボール箱
7か月前
個人
段ボール箱
7か月前
個人
ゴミ収集器
7か月前
個人
角筒状構造体
5か月前
個人
土嚢運搬器具
8か月前
個人
宅配システム
7か月前
個人
楽ちんハンド
5か月前
個人
バンド
2か月前
個人
廃棄物収容容器
2か月前
個人
コード類収納具
8か月前
個人
包装容器
1か月前
個人
お薬の締結装置
6か月前
個人
閉塞装置
10か月前
個人
蓋閉止構造
4か月前
株式会社和気
包装用箱
9か月前
個人
蓋閉止構造
4か月前
個人
貯蔵サイロ
7か月前
株式会社和気
包装用箱
4日前
個人
積み重ね用補助具
2か月前
個人
ゴミ処理機
9か月前
株式会社コロナ
梱包材
5か月前
株式会社バンダイ
物品
24日前
個人
把手付米袋
4か月前
三甲株式会社
容器
8日前
株式会社KY7
封止装置
3か月前
個人
袋入り即席麺
7か月前
個人
搬送システム
6か月前
個人
コード折り畳み器具
4か月前
個人
包装箱
10か月前
個人
輸送積荷用動吸振器
6か月前
株式会社新弘
容器
3か月前
株式会社イシダ
搬送装置
6か月前
個人
介護用コップ
2か月前
続きを見る
他の特許を見る