TOP
|
特許
|
意匠
|
商標
特許ウォッチ
Twitter
他の特許を見る
10個以上の画像は省略されています。
公開番号
2025015362
公報種別
公開特許公報(A)
公開日
2025-01-30
出願番号
2023128157
出願日
2023-07-18
発明の名称
包装用箱
出願人
株式会社和気
代理人
主分類
B65D
5/36 20060101AFI20250123BHJP(運搬;包装;貯蔵;薄板状または線条材料の取扱い)
要約
【課題】組み立てが容易な包装用箱の提供である。
【解決手段】
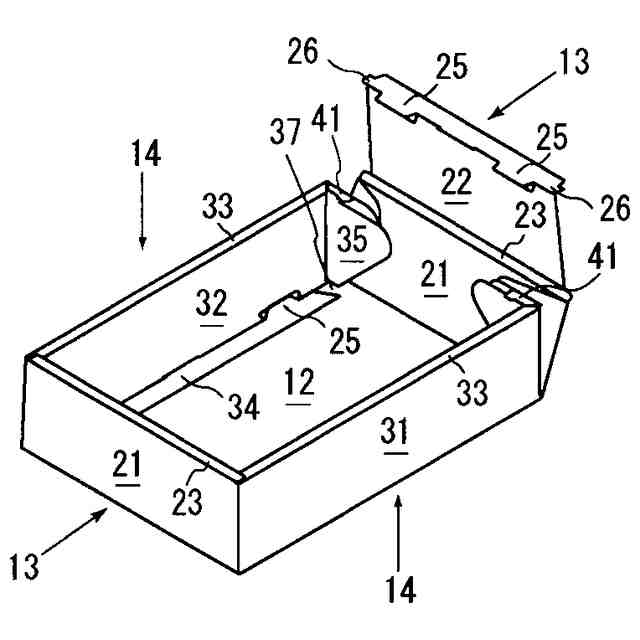
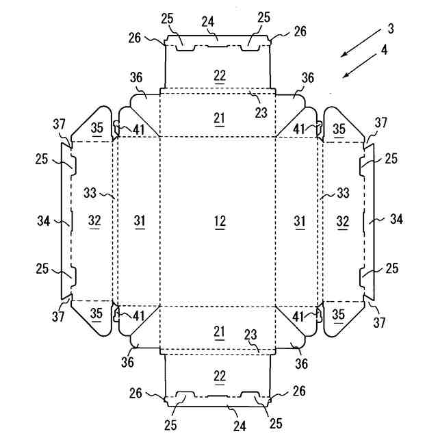
方形の中央板12の対向する前後辺に内側板と外側板とからなる前後側板13と、中央板12の対向する左右辺に内側板と外側板とからなる左右側板13と、左右側板14の内側板の両側辺に差込板35と、隣接する前後側板13の外側板の側辺と左右側板14の外側板の側辺に連続する連結板36とをそれぞれ折線を介して連設しており、折線を折り曲げて中央板12に対して前後側板13と左右側板14とを立設し、差込板35及び連結板36を前後側板13の内側板と外側板との間で挟持する包装用箱であって、左右側板14の外側板と内側板とを折り重ね、中央板12と左右側板14の外側板との間の折線又は/及び中央板12と前後側板13の外側板との間の折線に折癖を付けて、一次組立品とする。
【選択図】図4
特許請求の範囲
【請求項1】
方形の中央板の対向する前後辺に内側板と外側板とからなる前後側板と、前記中央板の対向する左右辺に内側板と外側板とからなる左右側板と、前記左右側板の内側板の両側辺に差込板と、隣接する前記前後側板の外側板の側辺と前記左右側板の外側板の側辺に連続する連結板と、をそれぞれ折線を介して連設しており、
前記折線を折り曲げて前記中央板に対して前後側板と左右側板とを立設し、前記差込板及び前記連結板を前記前後側板の内側板と外側板との間で挟持する包装用箱であって、
前記左右側板の外側板と内側板とを折り重ね、前記中央板と前記左右側板の外側板との間の前記折線又は/及び前記中央板と前記前後側板の外側板との間の前記折線に折癖を付けて、一次組立品とすること特徴とする包装用箱。
続きを表示(約 1,300 文字)
【請求項2】
方形の中央板の対向する前後辺に内側板と外側板とからなる前後側板と、前記中央板の対向する左右辺に内側板と外側板とからなる左右側板と、前記左右側板の内側板の両側辺に差込板と、隣接する前記前後側板の外側板の側辺と前記左右側板の外側板の側辺に連続する連結板と、をそれぞれ折線を介して連設しており、
前記折線を折り曲げて前記中央板に対して前後側板と左右側板とを立設し、前記差込板及び前記連結板を前記前後側板の内側板と外側板との間で挟持する包装用箱であって、
前記中央板と前記前後側板の外側板との間の前記折線又は/及び前記前後側板の外側板と内側板との間の前記折線に折癖を付け、前記左右側板を前記中央板に折り重ねて、一次組立品とすること特徴とする包装用箱。
【請求項3】
方形の中央板の対向する前後辺に内側板と外側板とからなる前後側板と、前記中央板の対向する左右辺に内側板と外側板とからなる左右側板と、前記左右側板の内側板の両側辺に差込板と、隣接する前記前後側板の外側板の側辺と前記左右側板の外側板の側辺に連続する連結板と、をそれぞれ折線を介して連設しており、
前記折線を折り曲げて前記中央板に対して前後側板と左右側板とを立設し、前記差込板及び前記連結板を前記前後側板の内側板と外側板との間で挟持する包装用箱であって、
前記中央板と前記前後側板の外側板との間の前記折線に折癖をつけ、前記左右側板を前記中央板に折り重ね、前記前後側板の外側板と内側板とを折り重ねて、一次組立品とすること特徴とする包装用箱。
【請求項4】
方形の中央板の対向する前後辺に内側板と外側板とからなる前後側板と、前記中央板の対向する左右辺に内側板と外側板とからなる左右側板と、前記前後側板の内側板と外側板との間に前後上板と、前記左右側板の内側板と外側板との間に左右上板と、前記左右側板の内側板の両側辺に差込板と、隣接する前記前後側板の外側板の側辺と前記左右側板の外側板の側辺に連続する連結板と、をそれぞれ折線を介して連設しており、
前記折線を折り曲げて前記中央板に対して前後側板と左右側板とを立設し、前記差込板及び前記連結板を前記前後側板の内側板と外側板との間で挟持する包装用箱であって、
前記左右側板の外側板と前記左右上板との間の前記折線又は前記左右側板の内側板と前記左右上板との間の前記折線のいずれか一方の前記折線に折癖を付け、他方の前記折線を折り曲げて、前記左右側板の外側板と内側板とを折り重ねて、一次組立品とすること特徴とする包装用箱。
【請求項5】
前記前後側板の外側板と前記前後上板との間の前記折線又は前記前後側板の内側板と前記前後上板との間の前記折線のいずれか一方の前記折線に折癖を付け、他方の前記折線を折り曲げ、前記前後側板の外側板と内側板とを折り重ねて、一次組立品とすること特徴とする、請求項4に記載の包装用箱。
【請求項6】
前記連結板の自由端辺に折線を介して保持板を連設しており、前記保持板は、前記包装用箱の組み立てが完成した状態において、前記前後側板の内側板と接して前記前後側板の揺動を規制することを特徴とする、請求項4又は請求項5に記載の包装用箱。
発明の詳細な説明
【技術分野】
【0001】
本発明は、組み立てが容易な包装用箱に関する。
続きを表示(約 2,400 文字)
【背景技術】
【0002】
従来から、方形の底板の対向する前後辺にそれぞれ内側板と外側板とからなる前後側板と、底板の対向する左右辺にそれぞれ内側板と外側板とからなる左右側板とが連設され、各内側板の下辺部に重合片が連設されるとともに、左右側板の内側板の両側辺部に差込フラップが連設されており、底板に対して前後側板と左右側板とを立設させ、差込フラップを前記前後側板の内側板と外側板との間で挟持させるとともに、前後側板の重合片の両端部を、左右側板の重合片の両端部又は左右側板の下辺部のいずれか又は両方で押圧させることにより、箱形態が保持される紙箱が知られている。この紙箱は、板紙を打ち抜いて形成された紙箱展開形成体の状態で保管され、使用時に各折線で折り曲げて箱に組み立てられる(特許文献1参照)。
【先行技術文献】
【特許文献】
【】
特許4350118号公報
【0003】
しかしながら、紙箱展開形成体の状態では広い保管スペースが必要であり、組み立て時における作業スペースも広く取らざるを得ない。また、各折線を折り曲げる作業が煩雑で組み立てに時間がかかる上、紙箱を美しく組み立てるためには技術が必要である。
【発明の概要】
【発明が解決しようとする課題】
【0004】
本発明は、上記問題を解決すべくなされたものである。本発明の目的は、コンパクトに保管することができ、作業スペースを広くとる必要がなく、組み立てが容易で美しく組み立てることができる包装用箱の提供である。
【課題を解決するための手段】
【0005】
本発明の解決しようとする課題は以上の如くであり、次にこの課題を解決するための手段を説明する。
【0006】
第1の発明では、方形の中央板の対向する前後辺に内側板と外側板とからなる前後側板と、前記中央板の対向する左右辺に内側板と外側板とからなる左右側板と、前記左右側板の内側板の両側辺に差込板と、隣接する前記前後側板の外側板の側辺と前記左右側板の外側板の側辺に連続する連結板と、をそれぞれ折線を介して連設しており、前記折線を折り曲げて前記中央板に対して前後側板と左右側板とを立設し、前記差込板及び前記連結板を前記前後側板の内側板と外側板との間で挟持する包装用箱であって、前記左右側板の外側板と内側板とを折り重ね、前記中央板と前記左右側板の外側板との間の前記折線又は/及び前記中央板と前記前後側板の外側板との間の前記折線に折癖を付けて、一次組立品とすること特徴とする包装用箱である。
【0007】
第2の発明では、方形の中央板の対向する前後辺に内側板と外側板とからなる前後側板と、前記中央板の対向する左右辺に内側板と外側板とからなる左右側板と、前記左右側板の内側板の両側辺に差込板と、隣接する前記前後側板の外側板の側辺と前記左右側板の外側板の側辺に連続する連結板と、をそれぞれ折線を介して連設しており、前記折線を折り曲げて前記中央板に対して前後側板と左右側板とを立設し、前記差込板及び前記連結板を前記前後側板の内側板と外側板との間で挟持する包装用箱であって、前記中央板と前記前後側板の外側板との間の前記折線又は/及び前記前後側板の外側板と内側板との間の前記折線に折癖を付け、前記左右側板を前記中央板に折り重ねて、一次組立品とすること特徴とする包装用箱である。
【0008】
第3の発明では、方形の中央板の対向する前後辺に内側板と外側板とからなる前後側板と、前記中央板の対向する左右辺に内側板と外側板とからなる左右側板と、前記左右側板の内側板の両側辺に差込板と、隣接する前記前後側板の外側板の側辺と前記左右側板の外側板の側辺に連続する連結板と、をそれぞれ折線を介して連設しており、前記折線を折り曲げて前記中央板に対して前後側板と左右側板とを立設し、前記差込板及び前記連結板を前記前後側板の内側板と外側板との間で挟持する包装用箱であって、前記中央板と前記前後側板の外側板との間の前記折線に折癖をつけ、前記左右側板を前記中央板に折り重ね、前記前後側板の外側板と内側板とを折り重ねて、一次組立品とすること特徴とする包装用箱である。
【0009】
第4の発明では、方形の中央板の対向する前後辺に内側板と外側板とからなる前後側板と、前記中央板の対向する左右辺に内側板と外側板とからなる左右側板と、前記前後側板の内側板と外側板との間に前後上板と、前記左右側板の内側板と外側板との間に左右上板と、前記左右側板の内側板の両側辺に差込板と、隣接する前記前後側板の外側板の側辺と前記左右側板の外側板の側辺に連続する連結板と、をそれぞれ折線を介して連設しており、前記折線を折り曲げて前記中央板に対して前後側板と左右側板とを立設し、前記差込板及び前記連結板を前記前後側板の内側板と外側板との間で挟持する包装用箱であって、
前記左右側板の外側板と前記左右上板との間の前記折線又は前記左右側板の内側板と前記左右上板との間の前記折線のいずれか一方の前記折線に折癖を付け、他方の前記折線を折り曲げて、前記左右側板の外側板と内側板とを折り重ねて、一次組立品とすること特徴とする包装用箱である。
【0010】
第5の発明では、第4の発明であって、前記前後側板の外側板と前記前後上板との間の前記折線又は前記前後側板の内側板と前記前後上板との間の前記折線のいずれか一方の前記折線に折癖を付け、他方の前記折線を折り曲げ、前記前後側板の外側板と内側板とを折り重ねて、一次組立品とすること特徴とする包装用箱である。
(【0011】以降は省略されています)
この特許をJ-PlatPat(特許庁公式サイト)で参照する
関連特許
株式会社和気
包装用箱
4日前
個人
収容箱
3か月前
個人
コンベア
5か月前
個人
容器
9か月前
個人
段ボール箱
7か月前
個人
段ボール箱
7か月前
個人
ゴミ収集器
7か月前
個人
角筒状構造体
5か月前
個人
土嚢運搬器具
8か月前
個人
宅配システム
7か月前
個人
楽ちんハンド
5か月前
個人
バンド
2か月前
個人
廃棄物収容容器
2か月前
個人
コード類収納具
8か月前
個人
包装容器
1か月前
個人
お薬の締結装置
6か月前
個人
閉塞装置
10か月前
個人
蓋閉止構造
4か月前
株式会社和気
包装用箱
9か月前
個人
蓋閉止構造
4か月前
個人
貯蔵サイロ
7か月前
株式会社和気
包装用箱
4日前
個人
積み重ね用補助具
2か月前
個人
ゴミ処理機
9か月前
株式会社コロナ
梱包材
5か月前
株式会社バンダイ
物品
24日前
個人
把手付米袋
4か月前
三甲株式会社
容器
8日前
株式会社KY7
封止装置
3か月前
個人
袋入り即席麺
7か月前
個人
搬送システム
6か月前
個人
コード折り畳み器具
4か月前
個人
包装箱
10か月前
個人
輸送積荷用動吸振器
6か月前
株式会社新弘
容器
3か月前
株式会社イシダ
搬送装置
6か月前
続きを見る
他の特許を見る