TOP
|
特許
|
意匠
|
商標
特許ウォッチ
Twitter
他の特許を見る
10個以上の画像は省略されています。
公開番号
2025133176
公報種別
公開特許公報(A)
公開日
2025-09-11
出願番号
2024030959
出願日
2024-03-01
発明の名称
テープ製造方法及びテープ製造システム
出願人
カシオ計算機株式会社
代理人
個人
主分類
B26D
1/14 20060101AFI20250904BHJP(切断手工具;切断;切断機)
要約
【課題】スリット加工時における位置ずれを把握しやすくすることが可能なテープの製造方法及びテープ製造システムを提供する。
【解決手段】形成工程では、長尺状の原反10の余白領域R1,R2に、原反10の長手方向に沿ってマーカM1,M2を形成する。スリット加工工程では、所定の回転軸53に設けられた当接部材55a,55bを形成工程で形成されたマーカM1,M2に当接させながら、回転軸53に設けられた複数のスリット刃54a~54dで原反10をスリット加工することにより、原反10から複数のテープ20を切り出す。
【選択図】図6
特許請求の範囲
【請求項1】
長尺状の原反の余白領域に、前記原反の長手方向に沿ってマーカを形成する形成工程と、
所定の回転軸に設けられた当接部材を前記形成工程で形成された前記マーカに当接させながら、前記回転軸に設けられた複数のスリット刃で前記原反をスリット加工することにより、前記原反から複数のテープを切り出すスリット加工工程と、
を有することを特徴とするテープ製造方法。
続きを表示(約 1,100 文字)
【請求項2】
前記当接部材は、前記複数のスリット刃のそれぞれと同じ形状のスリット刃であり、
前記スリット加工工程では、前記当接部材により前記形成工程で形成された前記マーカの位置で前記原反を切断しながら、前記複数のスリット刃で前記原反をスリット加工する、
ことを特徴とする請求項1に記載のテープ製造方法。
【請求項3】
前記形成工程では、前記原反の短手方向における両脇に設けられた第1の余白領域と第2の余白領域とのそれぞれに、前記長手方向に沿って前記マーカを形成し、
前記回転軸には、前記第1の余白領域と前記第2の余白領域とに対応する位置に、それぞれ第1の当接部材と第2の当接部材とが設けられており、
前記スリット加工工程では、前記第1の余白領域に形成された前記マーカに前記第1の当接部材を当接させ、且つ、前記第2の余白領域に形成された前記マーカに前記第2の当接部材を当接させながら、前記複数のスリット刃で前記原反をスリット加工する、
ことを特徴とする請求項1又は2に記載のテープ製造方法。
【請求項4】
前記形成工程では、前記原反の前記余白領域以外の領域に、所定のパターンを形成する、
ことを特徴とする請求項1又は2に記載のテープ製造方法。
【請求項5】
前記原反は、基材と剥離層とを有し、
前記形成工程では、前記原反の前記剥離層における前記余白領域に、前記長手方向に沿って前記マーカを形成する、
ことを特徴とする請求項1又は2に記載のテープ製造方法。
【請求項6】
前記スリット加工工程により前記原反から切り出された前記複数のテープのそれぞれに、ハーフカット加工により所定のパターンを形成するハーフカット工程、を更に有する、
ことを特徴とする請求項5に記載のテープ製造方法。
【請求項7】
前記スリット加工工程では、スコアカット方式で前記原反をスリット加工する、
ことを特徴とする請求項1又は2に記載のテープ製造方法。
【請求項8】
長尺状の原反の余白領域に、前記原反の長手方向に沿ってマーカを形成する形成手段と、
所定の回転軸に設けられた当接部材と、前記回転軸に設けられた複数のスリット刃と、を備え、前記当接部材を前記形成手段により形成された前記マーカに当接させながら、前記複数のスリット刃で前記原反をスリット加工することにより、前記原反から複数のテープを切り出すスリット加工手段と、
を備えることを特徴とするテープ製造システム。
発明の詳細な説明
【技術分野】
【0001】
本発明は、テープ製造方法及びテープ製造システムに関する。
続きを表示(約 1,800 文字)
【背景技術】
【0002】
長尺状の原反をその長手方向に搬送しながらスリット加工を実施することで、複数のテープを製造する技術が知られている。例えば特許文献1は、磁性体シートをスリット加工する加工機を開示している。
【先行技術文献】
【特許文献】
【0003】
特開平11-77584号公報
【発明の概要】
【発明が解決しようとする課題】
【0004】
上記のようなスリット加工において、原反の搬送時における蛇行等により、位置ずれが発生する場合がある。このような位置ずれが発生した場合に速やかに補正できるように、作業者が位置ずれを把握しやすくすることが求められている。
【0005】
本発明は、以上のような課題を解決するためのものであり、スリット加工時における位置ずれを把握しやすくすることが可能なテープ製造方法及びテープ製造システムを提供することを目的とする。
【課題を解決するための手段】
【0006】
上記目的を達成するため、本発明に係るテープ製造方法は、長尺状の原反の余白領域に、前記原反の長手方向に沿ってマーカを形成する形成工程と、所定の回転軸に設けられた当接部材を前記形成工程で形成された前記マーカに当接させながら、前記回転軸に設けられた複数のスリット刃で前記原反をスリット加工することにより、前記原反から複数のテープを切り出すスリット加工工程と、を有することを特徴とする。
【発明の効果】
【0007】
本発明によれば、スリット加工時における位置ずれを把握しやすくすることができる。
【図面の簡単な説明】
【0008】
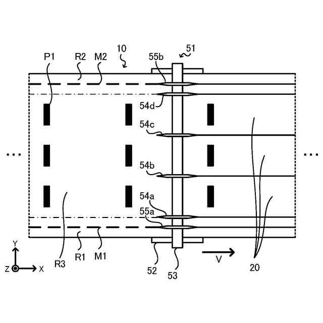
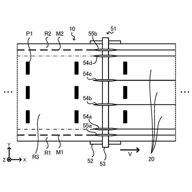
実施形態1に係るテープ製造システムを横から見た図である。
実施形態1に係るテープ製造システムを上から見た図である。
実施形態1に係る原反の断面図である。
実施形態1に係る印刷装置による印刷前の原反を上から見た図である。
実施形態1に係る印刷装置による印刷後の原反を上から見た図である。
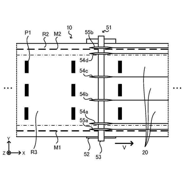
実施形態1に係るスリット加工装置によりスリット加工されている原反を上から見た図である。
実施形態1に係るスリット加工装置によりスリット加工されている原反を正面から見た図である。
実施形態1に係るテープ製造システムにより製造された複数のテープを示す図である。
実施形態1に係るスリット加工装置によりスリット加工されている原反に位置ずれが発生した場合を示す図である。
実施形態1に係る原反から切り出されたテープの基材に形成されたパターンの例を示す図である。
実施形態1に係るテープ製造方法を示すフローチャートである。
実施形態2に係るスリット加工装置によりスリット加工されている原反を正面から見た図である。
実施形態3に係る原反の基材に形成されたパターンの例を示す図である。
【発明を実施するための形態】
【0009】
以下、本発明の実施形態について、図面を参照して説明する。なお、図中同一又は相当する部分には同一符号を付す。実施形態1に係るテープ製造システム1は、図1及び図2に示すように、供給装置2と、搬送装置3と、印刷装置4と、スリット加工装置5と、巻き取り装置6と、を備える。テープ製造システム1は、1個の長尺状の幅広の原反10に対してスリット加工を実施することで、複数の幅狭のテープ20を製造するシステムである。テープ製造システム1により製造される複数のテープ20のそれぞれは、一例として、ラベルプリンタに装填されて使用される。ラベルプリンタのユーザは、ラベルプリンタにおいてテープ20の表面に自由に文字や絵等を印刷し、テープ20を所望の長さに切り取ってラベルとして使用することができる。
【0010】
図1及び図2では、座標系として、供給装置2から巻き取り装置6に向けて原反10が搬送される搬送方向(原反10の長手方向)をX方向と定め、原反10の幅方向(原反10の短手方向)をY方向と定め、鉛直方向をZ方向と定める。以下の図でも同様である。
(【0011】以降は省略されています)
この特許をJ-PlatPat(特許庁公式サイト)で参照する
関連特許
個人
ハサミ
3か月前
個人
テープカッター
11か月前
個人
円弧状刃の包丁
6か月前
有限会社カルチエ
ナイフ
9か月前
個人
理美容はさみ
2か月前
株式会社サボテン
鋏
5か月前
個人
折り畳みナイフ
9か月前
コクヨ株式会社
ハサミ
9か月前
個人
2wayコーナーパンチ
7か月前
個人
剃刀具
11か月前
株式会社文創
切創抑制器具
9か月前
株式会社和田機械
栗切り機の刃物
1か月前
やおき工業株式会社
鋏
2か月前
個人
自動曲機とそれに使用する刃物
6日前
株式会社フタミ
表面処理装置
5か月前
トヨタ自動車株式会社
切断装置
8か月前
大創株式会社
打抜き部受支装置
10か月前
デュプロ精工株式会社
加工装置
2か月前
第一精工株式会社
ナイフ
11か月前
株式会社日本キャリア工業
食料切断装置
8か月前
独立行政法人 国立印刷局
打ち抜き装置
1か月前
株式会社日本キャリア工業
食料切断装置
3か月前
株式会社日本キャリア工業
食料切断装置
3か月前
株式会社日本キャリア工業
食料切断装置
3か月前
株式会社日本キャリア工業
食料切断装置
3か月前
船井電機株式会社
電動器具
2か月前
株式会社日本キャリア工業
食料切断装置
3か月前
株式会社日本キャリア工業
食料切断装置
4か月前
鈴茂器工株式会社
棒状食材切断装置
7か月前
デュプロ精工株式会社
用紙積載装置
7か月前
近畿刃物工業株式会社
切断加工用刃物
4か月前
近畿刃物工業株式会社
切断加工用刃物
3か月前
本田技研工業株式会社
切断装置
2日前
THESTANDBYME合同会社
鋏
3か月前
株式会社アストラ
果菜の分割裁断装置
11か月前
西川ゴム工業株式会社
薪割り具
8か月前
続きを見る
他の特許を見る