TOP
|
特許
|
意匠
|
商標
特許ウォッチ
Twitter
他の特許を見る
10個以上の画像は省略されています。
公開番号
2025144203
公報種別
公開特許公報(A)
公開日
2025-10-02
出願番号
2024043871
出願日
2024-03-19
発明の名称
構造物用補強リング及び構造物
出願人
日鉄建材株式会社
代理人
個人
主分類
E21D
5/08 20060101AFI20250925BHJP(地中もしくは岩石の削孔;採鉱)
要約
【課題】変形を抑制でき、容易に施工できる構造物用補強リングを提供する。
【解決手段】実施形態における構造物用補強リング1は、ライナープレート61を周方向Wに連結して構成される構造物を補強するための構造物用補強リング1であって、周方向Wに沿って延伸する3つの補強リング片2と、周方向Wに隣り合う補強リング片2同士を接合する継手部3と、を備える。継手部3は、3箇所であることを特徴とする。継手部3は、ピン接合である。
【選択図】図3
特許請求の範囲
【請求項1】
板状部材を周方向に連結して構成される構造物を補強するための構造物用補強リングであって、
前記周方向に沿って延伸する2つ又は3つの補強リング片と、周方向に隣り合う前記補強リング片同士を接合する継手部と、を備え、
前記継手部は、2箇所又は3箇所であること
を特徴とする構造物用補強リング。
続きを表示(約 850 文字)
【請求項2】
前記継手部は、ピン接合であること
を特徴とする請求項1記載の構造物用補強リング。
【請求項3】
前記継手部は、
一方の前記補強リング片に設けられるとともに第1取付孔を有する第1取付部と、
他方の前記補強リング片に設けられるとともに第2取付孔を有する第2取付部と、
前記第1取付孔と第2取付孔とに差し込まれるピン部材を有し、
前記ピン部材は、前記構造物用補強リングのリング中心軸に沿う方向に延伸すること
を特徴とする請求項2記載の構造物用補強リング。
【請求項4】
前記第1取付部は、一方の前記補強リング片の内側に設けられ、
前記第2取付部は、他方の前記補強リング片の内側に設けられること
を特徴とする請求項3記載の構造物用補強リング。
【請求項5】
前記継手部は、
一方の前記補強リング片に設けられるとともに第1取付孔を有する第1取付部と、
他方の前記補強リング片に形成される第2取付孔と、
前記第1取付孔と第2取付孔とに差し込まれるピン部材を有し、
前記ピン部材は、前記構造物補強リングの中心軸に沿う方向に延伸すること
を特徴とする請求項2記載の構造物用補強リング。
【請求項6】
板状部材を周方向に連結して構成される構造物であって、
前記板状部材が周方向に連結された壁体と、前記壁体に設けられる構造物用補強リングと、を備え、
前記構造物用補強リングは、前記周方向に沿って延伸する2つ又は3つの補強リング片と、周方向に隣り合う前記補強リング片同士を接合する継手部と、を備え、
前記継手部は、2箇所又は3箇所であること
を特徴とする構造物。
【請求項7】
上下に離間した前記構造物用補強リングの間に、前記壁体が配置されること
を特徴とする請求項6記載の構造物。
発明の詳細な説明
【技術分野】
【0001】
本発明は、ライナープレート等の板状部材を周方向に連結して構成される構造物を補強するための構造物用補強リング及び構造物に関する。
続きを表示(約 2,100 文字)
【背景技術】
【0002】
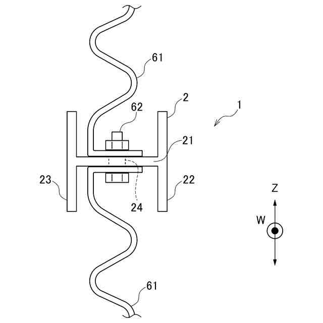
ライナープレートは、その強度を高めるために、ライナープレートの周長方向のフランジに沿って補強リングを設ける場合がある。補強リングは、一般に、H形鋼からなる複数の補強リング片を継手板を介しボルト接合して形成される。複数の補強リング片は、そのフランジを地山側と坑内側に配置して周長方向に補強リング片同士の端部を向かい合わせ、坑内側の作業員の手作業により互いに接合して、ライナープレートの横断面形状に合致する円形、小判形、或いは矩形等の閉断面形状の補強リングが完成される。例えばライナープレート補強リングに関する技術として特許文献1~3が開示される。
【0003】
特許文献1のライナープレート補強リングは、ライナープレートの円周方向の補強リングに溝形鋼を用い、かつ該溝形鋼のフランジ部が工事進行方向に位置するように取り付けることを特徴とする。
【0004】
特許文献2のライナープレート用補強リングの継手構造は、補強リング片の地山側フランジに設ける継手板は、向かい合わせる補強リング片の地山側フランジの上部に上部側継手片が設けられ、下部には補強リング片の端部双方に跨って1つの下部側継手片が設けられ、下部側継手片が備える凹部に上部側継手片が嵌り合うことで、応力を伝達可能に当接してなる構成とされ、地山側フランジの上部に固定された上部側継手片に、下部側継手片が応力を伝達可能に当接される。
【0005】
特許文献3のライナープレート用補強リングの継手構造は、補強リング片の地山側フランジに設ける継手板は、一方の地山側フランジに当てがわれる事前固定部分が、当該地山側フランジの上半部及び下半部に設けられたボルト孔と一致するボルト孔が設けられ、他方の地山側フランジに当てがわれる延設部分が、当該地山側フランジの下半部に設けられたボルト孔と一致するボルト孔が設けられ、一方の地山側フランジに継手板の事前固定部分が固定され、同継手板の延設部分は他方の地山側フランジに当てがわれ、一致したボルト孔に挿入したボルトへナットが締結されて当該継手板の延設部分が他方の補強リング片の地山側フランジの下半部にのみボルト接合されて、双方の地山側フランジに跨って固定されている。
【先行技術文献】
【特許文献】
【0006】
実開昭57-137699号公報
特開2011-140794号公報
特開2011-140840号公報
【発明の概要】
【発明が解決しようとする課題】
【0007】
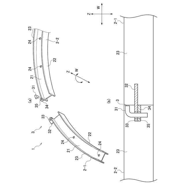
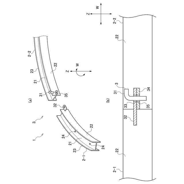
特許文献1~3の開示技術では、H形鋼等の補強リング片が4つ以上用いられることから、継手板が4箇所以上とされる。図14は、従来のライナープレート用補強リングの一例を示す平面模式図である。図14(a)に示すように、従来のライナープレート用補強リング91は、例えばH形鋼からなる4つの補強リング片92と、隣り合う補強リング片92同士を接合する4箇所の継手部93と、を備える。ライナープレート用補強リング91は、単に4つの補強リング片92の長さを定めた閉断面としても、図14(a)に示したような断面形状として保持されない。外力が作用した場合には図14(b)に示すように、ライナープレート用補強リング91は、曲げに抵抗できず、構造的に変形し易い。これは、補強リング片92が4つ以上の場合、継手部93では従来のような添接板を介したボルト接合による剛接合をして、ライナープレート用補強リング91の変形を抑制する必要がある。通常、継手部93を従来のような剛接合する場合、継手部93の強度は、補強リング片92を構成するH形鋼の強度の75%を超えるように定められている。また、継手部93を剛接合する場合、継手の加工量が多くなりコスト高となる。加えて、継手部93が4箇所以上の場合、継手の箇所も多くなるため、施工に時間がかかる。
【0008】
そこで、本発明は、上述した事情に鑑みて案出されたものであり、その目的とするところは、変形を抑制でき、容易に施工できる構造物用補強リングを提供することにある。
【課題を解決するための手段】
【0009】
本発明に係る構造物用補強リングは、板状部材を周方向に連結して構成される構造物を補強するための構造物用補強リングであって、前記周方向に沿って延伸する2つ又は3つの補強リング片と、周方向に隣り合う前記補強リング片同士を接合する継手部と、を備え、前記継手部は、2箇所又は3箇所であることを特徴とする。
【0010】
本発明に係る構造物は、板状部材を周方向に連結して構成される構造物であって、前記板状部材が周方向に連結された壁体と、前記壁体に設けられる構造物用補強リングと、を備え、前記構造物用補強リングは、前記周方向に沿って延伸する2つ又は3つの補強リング片と、周方向に隣り合う前記補強リング片同士を接合する継手部と、を備え、前記継手部は、2箇所又は3箇所であることを特徴とする。
【発明の効果】
(【0011】以降は省略されています)
この特許をJ-PlatPat(特許庁公式サイト)で参照する
関連特許
日鉄建材株式会社
屋根構造
1か月前
日鉄建材株式会社
金属管支柱
5日前
日鉄建材株式会社
屋根部材の接合構造
19日前
日鉄建材株式会社
屋根部材の接合構造
19日前
日鉄建材株式会社
デッキプレート構造
5日前
日鉄建材株式会社
床付き布枠の掴み金具
19日前
日鉄建材株式会社
モールドパウダーの製造方法
1日前
日鉄建材株式会社
鉄骨造の乾式屋根の設計方法
5日前
日鉄建材株式会社
屋根部材の接合構造の設計方法
19日前
日鉄建材株式会社
解析システム、および解析方法
1日前
日鉄建材株式会社
構造物用補強リング及び構造物
6日前
日鉄建材株式会社
砂防構造体のアンカーボルト保護構造
1日前
日鉄建材株式会社
乾式屋根の設計システム、及び乾式屋根の設計方法
5日前
日鉄建材株式会社
排水パイプ、排水パイプ用端末材、及び擁壁排水構造
1か月前
日鉄建材株式会社
コルゲートセクションの接合構造及びコルゲート構造物
1か月前
日鉄建材株式会社
上下の柱部材の溶接接合構造および溶接接合工法ならびに上下の柱部材
20日前
日鉄建材株式会社
上下の柱部材の溶接接合構造および溶接接合工法ならびに上下の柱部材
20日前
日鉄建材株式会社
水平構面構造、水平構面構造の設計方法、および水平構面構造の施工方法
2か月前
東日本旅客鉄道株式会社
深礎基礎および深礎基礎の施工方法
6日前
鉄建建設株式会社
立坑の構築装置、及び立坑の構築方法
1か月前
鉄建建設株式会社
立坑の構築装置、及び立坑の構築方法
1か月前
個人
掘削機
3か月前
株式会社奥村組
地山探査方法
1か月前
株式会社奥村組
地山探査装置
1か月前
株式会社奥村組
地山探査装置
1か月前
株式会社奥村組
地山探査装置
1か月前
株式会社奥村組
シールド掘進機
6か月前
株式会社笠原建設
横孔形成方法
5か月前
株式会社奥村組
シールド掘進機
12日前
株式会社奥村組
シールド掘進機
4か月前
日特建設株式会社
ボーリング装置
6か月前
花王株式会社
岩盤の掘削方法
3か月前
岐阜工業株式会社
トンネルセントル
12日前
株式会社奥村組
泥土圧シールド掘進機
4か月前
株式会社奥村組
セグメントの組立方法
1か月前
株式会社熊谷組
天井板撤去装置
5か月前
続きを見る
他の特許を見る