TOP
|
特許
|
意匠
|
商標
特許ウォッチ
Twitter
他の特許を見る
公開番号
2025151758
公報種別
公開特許公報(A)
公開日
2025-10-09
出願番号
2024053337
出願日
2024-03-28
発明の名称
シールド掘進機
出願人
鹿島建設株式会社
代理人
弁理士法人後藤特許事務所
主分類
E21D
9/06 20060101AFI20251002BHJP(地中もしくは岩石の削孔;採鉱)
要約
【課題】地山の性状を正確に検出できるシールド掘進機を提供する。
【解決手段】シールド掘進機1は、回転式のカッタ3と、カッタ3の後方に設けられ、内部にカッタ3によって掘削された土砂が滞留するチャンバ2aを有する筒状のスキンプレート2と、地山Gの土砂の密度を検出するための密度計40及び地山Gの土砂に含まれる水分を検出するための水分計50と、を備え、密度計40及び水分計50は、スキンプレート2の外周面に設けられた開口部2b,2cから突出するように設けられている。
【選択図】図3
特許請求の範囲
【請求項1】
回転式のカッタと、
前記カッタの後方に設けられ、内部に前記カッタによって掘削された土砂が滞留するチャンバを有する筒状のスキンプレートと、
地山の土砂の密度及び地山の土砂に含まれる水分の少なくとも一方を検出するための検出器と、を備え、
前記検出器は、前記スキンプレートの外周面に設けられた開口部から突出するように設けられている、シールド掘進機。
続きを表示(約 370 文字)
【請求項2】
請求項1に記載されたシールド掘進機において、
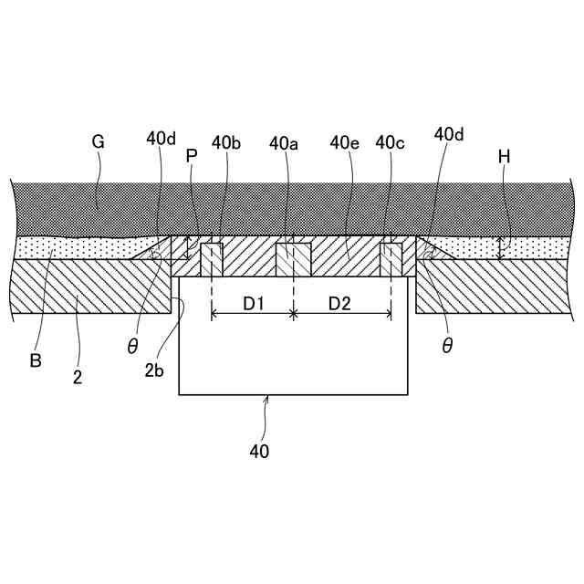
前記検出器の前記スキンプレートの外周面からの突出量は、余掘部の径方向の長さの50%から100%の間である、シールド掘進機。
【請求項3】
請求項1または2に記載されたシールド掘進機において、
前記検出器は、
地山の土砂の密度を検出するための密度計と、
地山の土砂に含まれる水分を検出するための水分計と、を有し
前記密度計と前記水分計は、前記シールド掘進機の前後方向に並んで設けられる、シールド掘進機。
【請求項4】
請求項1または2に記載されたシールド掘進機において、
前記スキンプレートの外周面には、当該外周面から前記検出器の端面に向かって延びる傾斜部が設けられた、シールド掘進機。
発明の詳細な説明
【技術分野】
【0001】
本発明は、シールド掘進機に関する。
続きを表示(約 1,200 文字)
【背景技術】
【0002】
特許文献1には、地山の性状を検出するために、スキンプレートの外周面に形成された開口に、γ線源とシンチレーション検出器とを有する切羽崩壊検知装置が設けられたシールド掘進機が開示されている。
【先行技術文献】
【特許文献】
【0003】
特公平5-46435号公報
【発明の概要】
【発明が解決しようとする課題】
【0004】
しかしながら、特許文献1に開示されたシールド掘進機では、切羽崩壊検知装置がスキンプレートの外周面と面一に設けられている。このため、特許文献1に開示されたシールド掘進機では、地山だけでなく余掘部の土砂の性状も検出してしまい、地山の性状を正確に検出できないおそれがある。
【0005】
本発明は、地山の性状を正確に検出できるシールド掘進機を提供することを目的とする。
【課題を解決するための手段】
【0006】
本発明は、シールド掘進機であって、回転式のカッタと、カッタの後方に設けられ、内部に前記カッタによって掘削された土砂が滞留するチャンバを有する筒状のスキンプレートと、地山の土砂の密度及び地山の土砂に含まれる水分の少なくとも一方を検出するための検出器と、を備え、検出器は、スキンプレートの外周面に設けられた開口部から突出するように設けられている。
【発明の効果】
【0007】
本発明によれば、検出器が、スキンプレートの外周面に設けられた開口部から突出するように設けられているので、検出器を地山により近づけることができる。これにより、地山の性状を正確に検出することができる。
【図面の簡単な説明】
【0008】
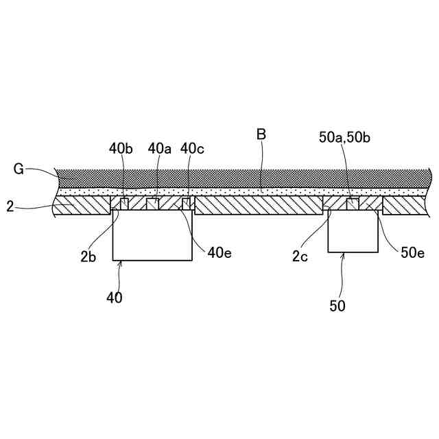
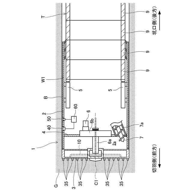
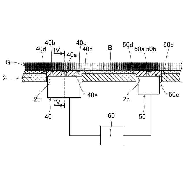
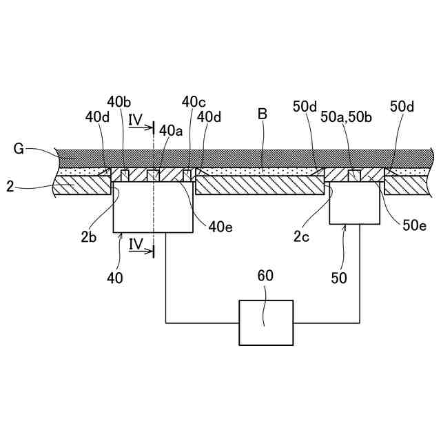
図1は、本発明の実施形態に係るシールド掘進機の概略構成を示す断面図である。
図2は、本発明の実施形態に係るシールド掘進機のカッタヘッドの正面図である。
図3は、本発明の実施形態に係る密度計及び水分計の軸方向構造断面図である。
図4は、図3のIV-IV線に沿う断面図である。
図5は、本発明の実施形態に係る密度計の拡大図である。
図6は、比較例に係る密度計及び水分計の軸方向構造断面図である。
【発明を実施するための形態】
【0009】
以下、図面を参照して、本発明の実施形態に係るシールド掘進機1について説明する。
【0010】
図1に示すように、シールド掘進機1は、地中(地山G)を掘進して掘削坑を形成し、掘削坑の内壁W1を覆うように後述のセグメントリング9を組み立てることによって、シールドトンネルT(トンネル)を構築するものである。以下では、シールド掘進機1が進む方向である切羽側を「前方」とし、その反対の方向である坑口側を「後方」として説明する。
(【0011】以降は省略されています)
この特許をJ-PlatPat(特許庁公式サイト)で参照する
関連特許
鹿島建設株式会社
熱回収方法
1か月前
鹿島建設株式会社
空調システム
11日前
鹿島建設株式会社
柱建て込み方法
18日前
鹿島建設株式会社
トンネル掘削機
1か月前
鹿島建設株式会社
シールド掘進機
4日前
鹿島建設株式会社
高度測位システム
1か月前
鹿島建設株式会社
グラウチングシステム
25日前
鹿島建設株式会社
グラウチングシステム
25日前
鹿島建設株式会社
計測装置及び計測方法
1か月前
鹿島建設株式会社
ワイヤレス給電システム
14日前
鹿島建設株式会社
運搬台車および運搬方法
14日前
鹿島建設株式会社
接続方法および接続構造
24日前
鹿島建設株式会社
水処理システムおよび水処理方法
24日前
鹿島建設株式会社
測定装置、測定方法及び測定装置の校正方法
1か月前
鹿島建設株式会社
鉱物含有量測定方法及び鉱物含有量測定装置
24日前
鹿島道路株式会社
コンクリート舗装の養生方法
5日前
鹿島道路株式会社
コンクリート舗装の養生方法
5日前
鹿島建設株式会社
オンライン会議サーバ、及び、オンライン会議を提供する方法
25日前
ケイミューシポレックス株式会社
軽量気泡コンクリートの製造方法
4日前
鹿島建設株式会社
搬送管および搬送装置
24日前
鹿島建設株式会社
生物生息場構造体、生物生息場構造、生物生息場構造体の引き上げ方法
14日前
鹿島建設株式会社
搬送管および搬送装置
24日前
Haloworld株式会社
マップ作成システム及び自動走行システム
6日前
個人
掘削機
3か月前
株式会社奥村組
地山探査装置
1か月前
株式会社奥村組
地山探査装置
1か月前
株式会社奥村組
地山探査方法
1か月前
株式会社奥村組
地山探査装置
1か月前
株式会社奥村組
シールド掘進機
17日前
株式会社奥村組
シールド掘進機
7か月前
株式会社笠原建設
横孔形成方法
5か月前
株式会社奥村組
シールド掘進機
4か月前
日特建設株式会社
ボーリング装置
6か月前
花王株式会社
岩盤の掘削方法
3か月前
岐阜工業株式会社
トンネルセントル
17日前
個人
オープンシールド機
1か月前
続きを見る
他の特許を見る