TOP
|
特許
|
意匠
|
商標
特許ウォッチ
Twitter
他の特許を見る
公開番号
2025133682
公報種別
公開特許公報(A)
公開日
2025-09-11
出願番号
2024169819
出願日
2024-09-30
発明の名称
ポケット構造、ファイル用表紙構造及びファイル
出願人
株式会社リヒトラブ
代理人
弁理士法人桐朋
主分類
B42F
7/00 20060101AFI20250904BHJP(製本;アルバム;ファイル;特殊印刷物)
要約
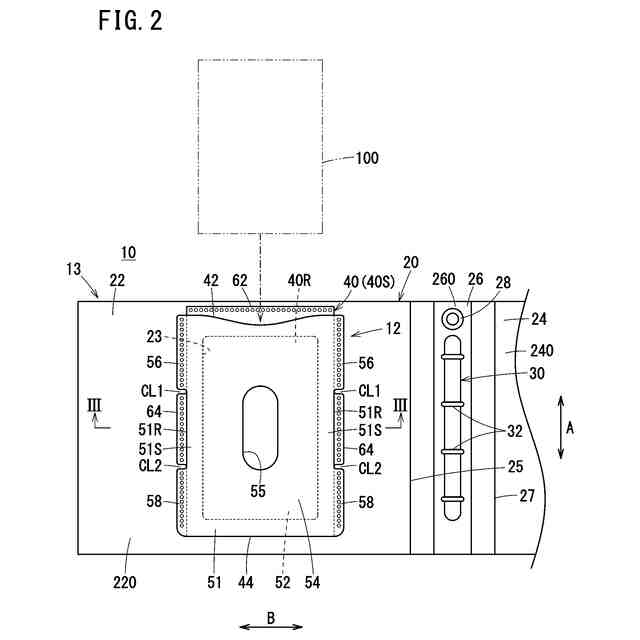
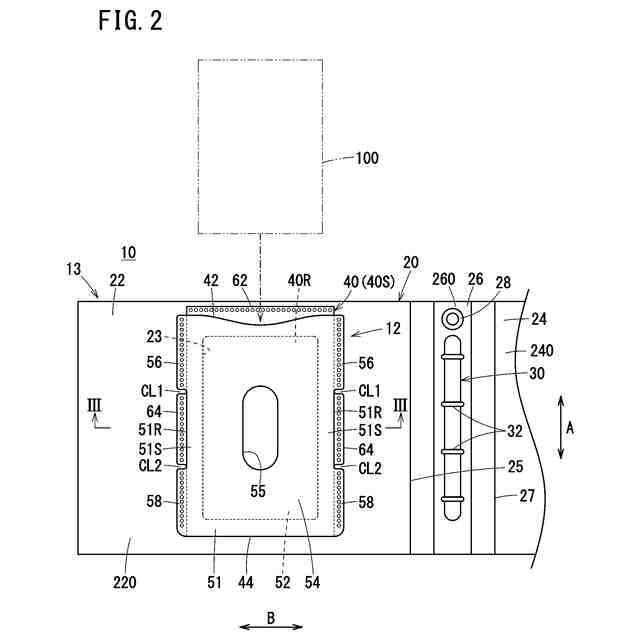
【解決手段】ポケット構造12は、ファイル10の表紙体20に固定された収容部40を備える。収容部40は、第1樹脂シート部51と第2樹脂シート部52とを有する。収容部40の一端側には被収容物100を出し入れするための開口部42が形成され、収容部40の他端側は閉じている。幅方向(B方向)における第1樹脂シート部51の両側に位置する一対の第1側縁部51Sが、表紙体20に接合されている。一対の第1側縁部51Sの各々において、長さ方向(A方向)における中央部は、表紙体20に接合されていない非接合領域51Rである。
【選択図】図2
特許請求の範囲
【請求項1】
ファイル用のポケット構造であって、
前記ファイルの表紙体に固定され、シート状の被収容物を収容するための収容部を備え、
前記収容部の一端側には前記被収容物を出し入れするための開口部が形成され、前記収容部の他端側は閉じており、
前記収容部は、前記表紙体に接合された透明性を有する第1樹脂シート部と、前記第1樹脂シート部に重なり且つ前記表紙体に接合された透明性を有する第2樹脂シート部と、を有し、
前記第1樹脂シート部と前記表紙体との間に前記第2樹脂シート部が配置され、
前記第1樹脂シート部と前記第2樹脂シート部との間に前記被収容物を収容する収容領域が形成され、
前記収容部の前記一端側と前記他端側との離間方向を前記収容部の長さ方向とし、前記収容部の厚み方向及び前記長さ方向に直交する方向を前記収容部の幅方向としたとき、前記幅方向における前記第1樹脂シート部の両側に位置する一対の第1側縁部が、前記表紙体に接合されており、
一対の前記第1側縁部の各々において、前記長さ方向における中央部は、前記表紙体に接合されていない非接合領域である、ポケット構造。
続きを表示(約 1,000 文字)
【請求項2】
請求項1に記載のポケット構造であって、
前記第1樹脂シート部は、
前記厚み方向における前記収容部の一方の壁を構成する第1シート本体と、
前記長さ方向において前記第1側縁部の一方側に設けられ、前記幅方向において前記第1シート本体の両側から突出し、前記表紙体に接合された一対の第1接合タブと、
前記長さ方向において前記第1側縁部の他方側に設けられ、前記幅方向において前記第1シート本体の両側から突出し、前記表紙体に接合された一対の第2接合タブと、を有し、
前記非接合領域は、前記第1接合タブと前記第2接合タブとの間に設けられる、ポケット構造。
【請求項3】
請求項2に記載のポケット構造であって、
前記幅方向における前記第2樹脂シート部の両側に位置する一対の第2側縁部が、前記表紙体に接合されており、
前記第2樹脂シート部は、
前記厚み方向における前記収容部の他方の壁を構成する第2シート本体と、
前記長さ方向において一対の前記第2側縁部の中央部に設けられ、前記幅方向において前記第2シート本体の両側から突出し、前記表紙体に接合された一対の第3接合タブと、を有し、
一対の前記第3接合タブが、一対の前記第1接合タブと一対の前記第2接合タブとの間に位置する、ポケット構造。
【請求項4】
請求項1~3のいずれか1項に記載のポケット構造であって、
前記収容部は、1枚の樹脂シートを折り曲げることにより形成され、
前記収容部の前記他端側に、前記樹脂シートの折り曲げ部が位置し、
前記第1樹脂シート部と前記第2樹脂シート部とが前記折り曲げ部を介して一体的に繋がっている、ポケット構造。
【請求項5】
請求項1~3のいずれか1項に記載のポケット構造であって、
前記収容部は、前記表紙体に設けられた開口を覆うように前記表紙体に固定されている、ポケット構造。
【請求項6】
請求項1~3のいずれか1項に記載のポケット構造であって、
前記収容部の前記他端側には、前記表紙体に接合された第4接合タブが設けられている、ポケット構造。
【請求項7】
請求項1に記載のポケット構造を備える、ファイル用表紙構造。
【請求項8】
請求項7に記載のファイル用表紙構造を備える、ファイル。
発明の詳細な説明
【技術分野】
【0001】
本発明は、ポケット構造、ファイル用表紙構造及びファイルに関する。
続きを表示(約 1,300 文字)
【背景技術】
【0002】
従来、ファイル用のポケット構造は公知である(例えば、特許文献1を参照)。ポケット構造は、写真プリント等のシート状(カード状)の被収容物を収容するための収容部を有する。
【先行技術文献】
【特許文献】
【0003】
特開2001-63243号公報
【発明の概要】
【発明が解決しようとする課題】
【0004】
ポケット構造の収容部に被収容物を収容する際、収容部に被収容物を容易に挿入できることが望ましい。
【0005】
本発明は、上述した課題を解決することを目的とする。
【課題を解決するための手段】
【0006】
本開示の第1の態様は、ファイル用のポケット構造であって、前記ファイルの表紙体に固定され、シート状の被収容物を収容するための収容部を備え、前記収容部の一端側には前記被収容物を出し入れするための開口部が形成され、前記収容部の他端側は閉じており、前記収容部は、前記表紙体に接合された透明性を有する第1樹脂シート部と、前記第1樹脂シート部に重なり且つ前記表紙体に接合された透明性を有する第2樹脂シート部と、を有し、前記第1樹脂シート部と前記表紙体との間に前記第2樹脂シート部が配置され、前記第1樹脂シート部と前記第2樹脂シート部との間に前記被収容物を収容する収容領域が形成され、前記収容部の前記一端側と前記他端側との離間方向を前記収容部の長さ方向とし、前記収容部の厚み方向及び前記長さ方向に直交する方向を前記収容部の幅方向としたとき、前記幅方向における前記第1樹脂シート部の両側に位置する一対の第1側縁部が、前記表紙体に接合されており、一対の前記第1側縁部の各々において、前記長さ方向における中央部は、前記表紙体に接合されていない非接合領域である、ポケット構造である。
【0007】
本開示の第2の態様は、第1の態様によるポケット構造を備える、ファイル用表紙構造である。
【0008】
本開示の第3の態様は、第2の態様によるファイル用表紙構造を備える、ファイルである。
【発明の効果】
【0009】
本発明によれば、第1側縁部の長さ方向における中央部が表紙体に接合されていないため、収容部40の長さ方向の中央部において、第1樹脂シート部と第2樹脂シート部との密着が抑制される。このため、被収容物を収容部に挿入する際の摺動抵抗を低減することができる。このため、被収容物を収容部に容易に収納することができる。
【図面の簡単な説明】
【0010】
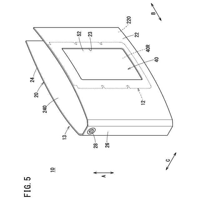
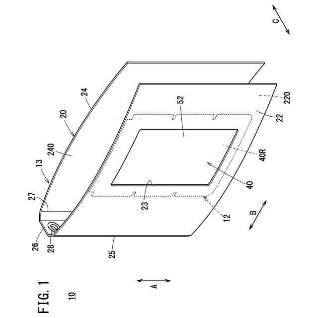
図1は、本発明の実施形態に係るファイルの斜視図である。
図2は、ファイルを開いた状態の表表紙の平面図である。
図3は、図2におけるIII-III線に沿った断面図である。
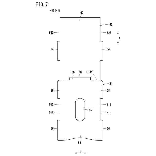
図4は、折り曲げられる前の樹脂シートの平面図である。
図5は、ファイルの別方向からの斜視図である。
図6は、変形例に係る収容部を備えたファイルの平面図である。
図7は、折り曲げられる前の樹脂シートの平面図である。
【発明を実施するための形態】
(【0011】以降は省略されています)
この特許をJ-PlatPat(特許庁公式サイト)で参照する
関連特許
株式会社リヒトラブ
ぬいぐるみ収納用ポーチ
22日前
個人
書籍
6か月前
個人
リフター
1か月前
個人
手帳
1か月前
個人
書類ホルダー
6か月前
個人
ノート
5か月前
個人
紙片収容保持具
8か月前
個人
ブランドハガキ
4か月前
個人
ファイル
2か月前
個人
ページめくり穴
11日前
個人
ダブルクリップ
7か月前
個人
メッセージカード
7か月前
個人
折り曲げ式しおり
1か月前
個人
カレンダー
18日前
FRC株式会社
学習ノート
5か月前
個人
脱着リーフ綴込み補助具
7か月前
東洋紡株式会社
地図フィルム
10か月前
個人
吊下式カレンダー
7か月前
ネオライト工業株式会社
しおり
1か月前
個人
脱着リングノートシステム
8か月前
株式会社リコー
綴じ装置
1か月前
ダイニック株式会社
ブッククロス
9か月前
個人
冊子収容ケース
1か月前
個人
シート状印刷物セット
1か月前
独立行政法人 国立印刷局
潜像物
8か月前
独立行政法人 国立印刷局
積層体
4か月前
個人
タロットカード解説書
6か月前
独立行政法人 国立印刷局
積層体
4か月前
有限会社ライト工房
起立する台紙
4か月前
個人
見開きアルバム立て掛け飾り具
5か月前
独立行政法人 国立印刷局
画像形成体
29日前
個人
環状具
9か月前
個人
シートセット及びワークセット
2か月前
独立行政法人 国立印刷局
潜像画像形成体
3か月前
株式会社Luciaube
クリアファイル
9か月前
株式会社デュプロ
冊子作成システム
10か月前
続きを見る
他の特許を見る