TOP
|
特許
|
意匠
|
商標
特許ウォッチ
Twitter
他の特許を見る
公開番号
2025135154
公報種別
公開特許公報(A)
公開日
2025-09-18
出願番号
2024032811
出願日
2024-03-05
発明の名称
水処理方法および水処理装置
出願人
株式会社金星
,
株式会社ナカボーテック
代理人
個人
,
個人
,
個人
主分類
C02F
1/70 20230101AFI20250910BHJP(水,廃水,下水または汚泥の処理)
要約
【課題】周辺環境に悪影響を及ぼすことなく、被処理水中の遊離塩素を除去することが可能な水処理方法を提供する。
【解決手段】被処理水中に含まれる遊離塩素を除去する水処理方法であって、被処理水と、水素またはヘリウムを含む気体からなるファインバブルとを接触させることを含み、前記ファインバブルの気泡直径が、1000nm未満である、水処理方法を選択する。
【選択図】図1
特許請求の範囲
【請求項1】
被処理水中に含まれる遊離塩素を除去する水処理方法であって、
被処理水と、水素またはヘリウムを含む気体からなるファインバブルとを接触させることを含み、
前記ファインバブルの気泡直径が、1000nm未満である、水処理方法。
続きを表示(約 750 文字)
【請求項2】
前記被処理水中の前記ファインバブルの濃度が、5×10
7
~1.5×10
8
個/mlとする、請求項1に記載の水処理方法。
【請求項3】
前記ファインバブルの気泡直径が、100~600nmである、請求項1に記載の水処理方法。
【請求項4】
0.05~20MPaの加圧下で、前記被処理水と前記ファインバブルとを接触させる、請求項1に記載の水処理方法。
【請求項5】
前記水素または前記ヘリウムがプラズマ処理されている、請求項1に記載の水処理方法。
【請求項6】
前記被処理水中に、前記ファインバブルを発生させることを含む、請求項1に記載の水処理方法。
【請求項7】
処理前の前記被処理水に、アスコルビン酸または過酸化水素を添加する、請求項1に記載の水処理方法。
【請求項8】
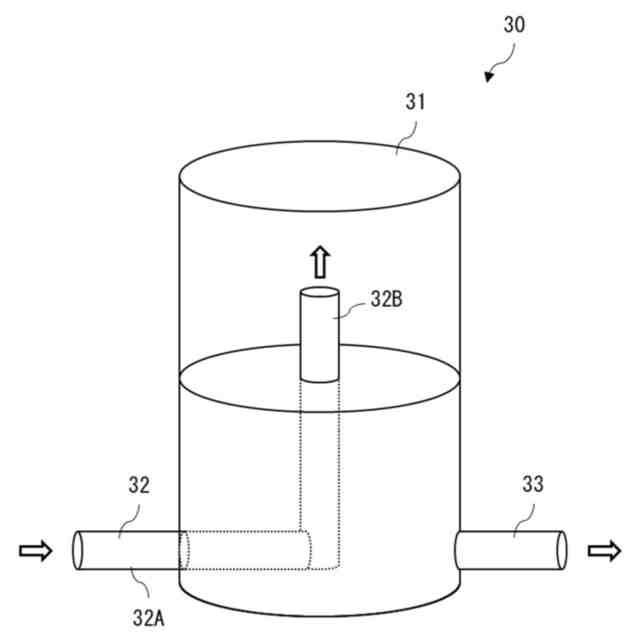
被処理水中に、水素またはヘリウムを含む気体からなるファインバブルを含むファインバブル水を貯留する加圧槽と、
前記加圧槽に前記ファインバブル水を導入する導入経路と、
前記加圧槽から前記ファインバブル水を導出する導出経路と、を備える、水処理装置。
【請求項9】
前記加圧槽内を0.05~20MPaに加圧する加圧機構を備える、請求項8に記載の水処理装置。
【請求項10】
前記加圧槽の一次側に位置するファインバブル発生装置をさらに備え、
前記ファインバブル発生装置は、前記被処理水中に前記ファインバブルを発生させて前記ファインバブル水を生成し、当該ファインバブル水を前記導入経路に供給する、請求項8に記載の水処理装置。
発明の詳細な説明
【技術分野】
【0001】
本発明は、水処理方法および水処理装置に関する。
続きを表示(約 2,200 文字)
【背景技術】
【0002】
各種用水や排水を塩素系殺菌剤で処理した場合には、遊離塩素や結合塩素等の残留塩素が処理水中に残留する。このような残留塩素を含む処理水をそのまま河川、湖沼、海などに排出してしまうと周辺環境に悪影響を及ぼすおそれがあるため、該処理水に対して残留塩素の無害化処理が行われている。
【0003】
同様に、塩素系殺菌剤が添加された海水を海に放出する場合には、環境への影響を避けるために、その放出される海水中の残留塩素の含有量が一定値以下であることが要求されている。そのため、海水を利用する設備では、海水の放出口などで海水中の残留塩素濃度を測定し、その測定値が所定値以下となるように、海水への塩素系殺菌剤の添加量を調整している。
【0004】
このような残留塩素の無害化処理に関し、例えば特許文献1には、特定の3級アミノ化合物及び/又は特定のグアニジノ化合物を含有する残留塩素除去剤を用いて、飲料水、洗浄水、下水などを処理することが記載されている。また、特許文献2には、船舶にバラスト水として取水される海水に塩素殺菌剤を供給する塩素殺菌剤供給装置と、該塩素殺菌剤が供給されたバラスト水を海に排水する際に、該バラスト水に塩素還元剤を供給する塩素還元剤供給装置とを備えたバラスト水処理装置が記載されており、該塩素還元剤として、亜硫酸塩、次亜硫酸塩、チオ硫酸塩等を用いることが記載されている。
【先行技術文献】
【特許文献】
【0005】
特開2007-144399号公報
特開2009-039680号公報
【発明の概要】
【発明が解決しようとする課題】
【0006】
しかしながら、従来使用されている薬剤、例えば、亜硫酸塩、次亜硫酸塩、チオ硫酸塩等の塩素還元剤を被処理水に添加すると、被処理水中の残留塩素は除去されるが、被処理水中に薬剤が残留する場合がある。そして、被処理水に添加した剰余分の薬剤が海水中に放出されると有害である。例えば、次亜塩素酸をチオ硫酸ナトリウムで還元した場合、副産物として硫酸と塩酸を生じる。また、被処理水が海水である場合、塩素還元剤が海水中に放出されると、亜硫酸塩等と海水中の溶存酸素とが反応して海水中の溶存酸素量が低減し、周辺環境に悪影響を及ぼすおそれがある。
【0007】
本発明は、上記事情に鑑みてなされたものであり、有害な成分を排出することなく、被処理水中の遊離塩素を除去することが可能な水処理方法および水処理装置を提供することを課題とする。
【課題を解決するための手段】
【0008】
本発明者らは上記課題を解決するために鋭意検討した結果、被処理水中にファインバブルを発生させることで、有害な成分を排出することなく、被処理水中に含まれる遊離塩素を低減できることを見出し、本発明を完成させた。
【0009】
すなわち、本発明は、以下の態様を有する。
[1] 被処理水中に含まれる遊離塩素を除去する水処理方法であって、
被処理水と、水素またはヘリウムを含む気体からなるファインバブルとを接触させることを含み、
前記ファインバブルの気泡直径が、1000nm未満である、水処理方法。
[2] 前記被処理水中の前記ファインバブルの濃度が、5×10
7
~1.5×10
8
個/mlとする、[1]に記載の水処理方法。
[3] 前記ファインバブルの気泡直径が、100~600nmである、[1]または[2]に記載の水処理方法。
[4] 0.05~20MPaの加圧下で、前記被処理水と前記ファインバブルとを接触させる、[1]~[3]のいずれかに記載の水処理方法。
[5] 前記水素または前記ヘリウムがプラズマ処理されている、[1]~[4]のいずれかに記載の水処理方法。
[6] 前記被処理水中に、前記ファインバブルを発生させることを含む、[1]~[5]のいずれかに記載の水処理方法。
[7] 処理前の前記被処理水に、アスコルビン酸または過酸化水素を添加する、[1]~[6]のいずれかに記載の水処理方法。
[8] 被処理水中に、水素またはヘリウムを含む気体からなるファインバブルを含むファインバブル水を貯留する加圧槽と、
前記加圧槽に前記ファインバブル水を導入する導入経路と、
前記加圧槽から前記ファインバブル水を導出する導出経路と、を備える、水処理装置。
[9] 前記加圧槽内を0.05~20MPaに加圧する加圧機構を備える、[8]に記載の水処理装置。
[10] 前記加圧槽の一次側に位置するファインバブル発生装置をさらに備え、
前記ファインバブル発生装置は、前記被処理水中に前記ファインバブルを発生させて前記ファインバブル水を生成し、当該ファインバブル水を前記導入経路に供給する、[8]または[9]に記載の水処理装置。
【発明の効果】
【0010】
本発明の水処理方法および水処理装置は、有害な成分を排出することなく、被処理水中の遊離塩素を除去できる。
【図面の簡単な説明】
(【0011】以降は省略されています)
この特許をJ-PlatPat(特許庁公式サイト)で参照する
関連特許
株式会社金星
水処理方法および水処理装置
17日前
東レ株式会社
浄水器
16日前
日本ソリッド株式会社
ダム湖の取水方法
25日前
栗田工業株式会社
排水回収装置
2日前
三浦工業株式会社
汚泥減容方法
3日前
株式会社エム・アイ・エス
汚泥乾燥装置
17日前
個人
浄水装置
16日前
栗田工業株式会社
電気脱イオン装置
18日前
個人
浄水処理システムおよび浄水処理方法
18日前
栗田工業株式会社
用水の水質予測方法
2日前
個人
浄化処理装置
25日前
株式会社バンブーケミカル研究所
流体除菌機器
25日前
栗田工業株式会社
有機物含有排水の処理方法
26日前
栗田工業株式会社
有機性排水の生物処理方法
9日前
株式会社石垣
汚泥性状予測方法及び汚泥性状一定制御方法
6日前
WOTA株式会社
排水処理システム及び排水処理方法
24日前
WOTA株式会社
排水処理システム及び排水処理方法
24日前
WOTA株式会社
排水処理システム及び排水処理方法
24日前
栗田工業株式会社
水質予測方法及び水質制御方法
2日前
株式会社ササクラ
造水システム
26日前
パナソニックIPマネジメント株式会社
軟水化装置
26日前
株式会社ササクラ
造水システム
24日前
オルガノ株式会社
尿素処理装置および尿素処理方法
3日前
オルガノ株式会社
水処理システムおよびその運転方法
4日前
水ing株式会社
排水処理方法及び装置
2日前
株式会社フジタ
水処理装置
6日前
水ing株式会社
汚泥処理方法および装置
16日前
栗田工業株式会社
2段電気脱イオンシステムの運転方法
27日前
有限会社クリーンエコ
環境汚染浄化補助剤を使用する汚水処理システム
16日前
株式会社丸島アクアシステム
曝気装置
16日前
トヨタ自動車株式会社
二酸化炭素回収装置
16日前
株式会社テックコーポレーション
電解水生成装置
16日前
水ing株式会社
排水処理方法および排水処理装置
2日前
鹿島建設株式会社
水処理システムおよび水処理方法
16日前
横河電機株式会社
水処理システム及び水処理方法
1か月前
大阪瓦斯株式会社
有機排水処理システム及び有機排水処理方法
16日前
続きを見る
他の特許を見る