TOP
|
特許
|
意匠
|
商標
特許ウォッチ
Twitter
他の特許を見る
10個以上の画像は省略されています。
公開番号
2025135507
公報種別
公開特許公報(A)
公開日
2025-09-18
出願番号
2024033409
出願日
2024-03-05
発明の名称
電動弁制御装置および電動弁装置、ならびに電動弁の負荷検出方法
出願人
株式会社不二工機
代理人
弁理士法人オーパス国際特許事務所
主分類
F16K
31/04 20060101AFI20250910BHJP(機械要素または単位;機械または装置の効果的機能を生じ維持するための一般的手段)
要約
【課題】比較的簡易な構成でステッピングモーターのローターの負荷を検出できる電動弁制御装置および電動弁装置、ならびに電動弁の負荷検出方法を提供する。
【解決手段】電動弁装置1は、電動弁5と電動弁制御装置70とを有する。電動弁5は、弁口13を有する弁本体10と、ローター41およびローター41を回転させるための駆動電流が供給されるコイルを有するステッピングモーター66と、ローター41が回転すると弁口13に対して移動する弁体20と、を有する。電動弁制御装置70のコンピュータは、コイルを流れる駆動電流が第一電流値から第二電流値に変化するまでの変化時間を用いて、ローター41の負荷を検出する。
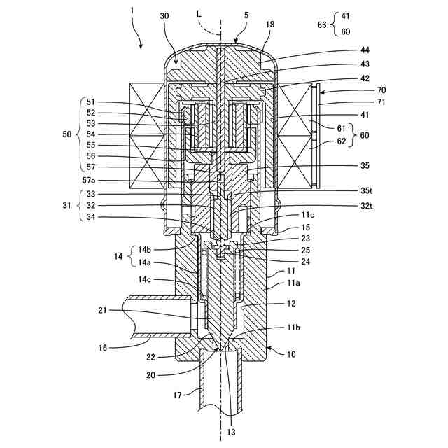
【選択図】図2
特許請求の範囲
【請求項1】
弁口を有する弁本体と、ローターおよび前記ローターを回転させるための駆動電流が供給されるコイルを有するステッピングモーターと、前記ローターが回転すると前記弁口に対して移動する弁体と、を有する電動弁を制御する電動弁制御装置であって、
前記コイルを流れる前記駆動電流が第一電流値から第二電流値に変化するまでの変化時間を用いて、前記ローターの負荷を検出する処理装置を有する、ことを特徴とする電動弁制御装置。
続きを表示(約 2,200 文字)
【請求項2】
前記電動弁が、駆動軸と、前記ローターの回転を前記駆動軸に伝える歯車機構と、前記弁本体に対して固定された案内部材と、を有し、
前記駆動軸および前記案内部材の一方が雌ねじを有し、他方が前記雌ねじに螺合される雄ねじを有し、
前記電動弁が、前記ローターの回転が前記駆動軸に伝わる伝達状態と、前記ローターの回転が前記駆動軸に伝わらない遊び状態と、を有し、
前記駆動軸が回転すると、前記弁体が前記弁口に対して移動し、
前記コイルにモータードライバが接続され、
前記モータードライバが、第一順序でパルスが入力されると前記コイルに前記ローターを第一方向に回転させるための前記駆動電流を供給し、第二順序でパルスが入力されると前記コイルに前記ローターを第二方向に回転させるための前記駆動電流を供給し、
前記処理装置が、
前記モータードライバに前記第一順序でパルスを入力し、続いて、前記モータードライバに前記第二順序でパルスを入力し、
前記第二順序でパルスを入力しているときに前記ローターの負荷に基づいて前記電動弁が前記遊び状態から前記伝達状態に移行したか否かを判定し、
前記電動弁が前記遊び状態から前記伝達状態に移行したと判定したとき、前記第二順序で入力したパルスの数に基づいて補正数を取得する、請求項1に記載の電動弁制御装置。
【請求項3】
前記ローターを現在位置から目標位置まで回転させるために前記モータードライバに入力されるパルスの数をMとし、前記補正数をCとすると、
前記処理装置が、
(i)前記ローターを前回の回転方向と同じ方向に回転させて前記現在位置から前記目標位置まで回転させるとき、前記モータードライバにM個のパルスを入力し、
(ii)前記ローターを前回の回転方向と反対方向に回転させて前記現在位置から前記目標位置まで回転させるとき、前記モータードライバに(C+M)個のパルスを入力する、請求項2に記載の電動弁制御装置。
【請求項4】
前記電動弁が、前記ローターに対して固定されたホルダーと、前記弁本体に対して固定された案内部材と、を有し、
前記ホルダーおよび前記案内部材の一方が雌ねじを有し、他方が前記雌ねじに螺合される雄ねじを有し、
前記ローターが閉方向に回転すると、前記ローターおよび前記ホルダーが前記弁口に近づく方向に移動し、前記ホルダーが閉弁ばねを介して前記弁体を押し、
前記ローターが開方向に回転すると、前記ローターおよび前記ホルダーが前記弁口から離れる方向に移動し、
前記電動弁が、前記弁口が開いた開弁状態と、前記弁口が閉じた閉弁状態と、を有し、
前記コイルにモータードライバが接続され、
前記モータードライバが、第一順序でパルスが入力されると前記コイルに前記ローターを前記閉方向に回転させるための前記駆動電流を供給し、第二順序でパルスが入力されると前記コイルに前記ローターを前記開方向に回転させるための前記駆動電流を供給し、
前記処理装置が、
前記モータードライバに前記第一順序でパルスを入力し、
前記第一順序でパルスを入力しているときに前記ローターの負荷に基づいて前記電動弁が前記開弁状態から前記閉弁状態に移行したか否かを判定し、
前記電動弁が前記開弁状態から前記閉弁状態に移行したと判定したときの前記ローターの位置に基づいて前記弁体が前記弁口を囲む弁座に接する閉弁位置を取得する、請求項1に記載の電動弁制御装置。
【請求項5】
前記処理装置が、
前記電動弁が前記開弁状態から前記閉弁状態に移行したと判定したあと、前記変化時間のばらつき量に基づいて、前記電動弁が前記閉弁状態から前記ローターの前記閉方向の回転が規制される回転規制状態に移行したか否かを判定し、
前記電動弁が前記閉弁状態から前記回転規制状態に移行したと判定したときの前記ローターの位置に基づいて前記ローターの前記閉方向の回転が規制される基準位置を取得する、請求項4に記載の電動弁制御装置。
【請求項6】
前記コイルにモータードライバが接続され、
前記モータードライバが、パルスが入力されると前記コイルに前記駆動電流を供給し、
前記処理装置が、
前記ローターの負荷が大きいと判定したとき、前記駆動電流を大きくし、
前記ローターの負荷が小さいと判定したとき、前記駆動電流を小さくする、請求項1に記載の電動弁制御装置。
【請求項7】
前記電動弁と、請求項1~請求項6のいずれか一項に記載の電動弁制御装置と、を有する電動弁装置。
【請求項8】
弁口を有する弁本体と、ローターおよび前記ローターを回転させるための駆動電流が供給されるコイルを有するステッピングモーターと、前記ローターが回転すると前記弁口に対して移動する弁体と、を有する電動弁の負荷検出方法であって、
前記コイルを流れる前記駆動電流が第一電流値から第二電流値に変化するまでの変化時間を用いて、前記ローターの負荷を検出する、ことを特徴とする電動弁の負荷検出方法。
発明の詳細な説明
【技術分野】
【0001】
本発明は、電動弁制御装置および電動弁制御装置を有する電動弁装置、ならびに電動弁の負荷検出方法に関する。
続きを表示(約 1,900 文字)
【背景技術】
【0002】
特許文献1、2は、従来の電動弁の例を開示している。
【0003】
特許文献1の電動弁は、弁本体と、弁体と、駆動軸と、案内部材と、歯車機構と、ステッピングモーターと、を有している。弁本体は弁口を有している。弁体は、弁口と向かい合っており、開弁ばねによって弁口から離れる方向に押されている。案内部材は、雌ねじを有しており、弁本体に取り付けられている。駆動軸は案内部材の雌ねじに螺合される雄ねじを有している。駆動軸は歯車機構の出力軸に接続されている。ステッピングモーターは、ローターと、ステーターと、を有している。
【0004】
ステッピングモーターにパルスが入力されるとローターが回転する。具体的には、ステーターのコイルにパルスに応じた駆動電流が供給されるとローターが回転する。ローターの回転は、歯車機構で減速され、駆動軸に伝わる。駆動軸が回転されると、駆動軸は送りねじ作用によって移動する。ローターが閉方向に回転すると、駆動軸が弁体を押し、弁体が弁口に近づく。ローターが開方向に回転すると、駆動軸が弁口から離れ、開弁ばねが弁体を押し、弁体が弁口から離れる。
【0005】
特許文献2の電動弁は、弁本体と、弁体と、ホルダーと、案内部材と、ステッピングモーターと、ストッパ機構と、を有している。弁本体は弁口および弁座を有している。弁体は弁口と向かい合っている。ホルダーは雌ねじを有している。案内部材は、ホルダーの雌ねじに螺合される雄ねじを有しており、弁本体に取り付けられている。ステッピングモーターは、ローターと、ステーターと、を有している。ホルダーはローターに取り付けられており、ローターとともに回転する。
【0006】
ステッピングモーターにパルスが入力されるとローターが回転する。ローターが回転すると、送りねじ作用によってローターおよびホルダーが移動する。ローターが閉方向に回転すると、ホルダーが閉弁ばねを介して弁体を押し、弁体が弁口に近づく。弁体が弁座に接すると、弁口が閉じる。このときローターは閉弁位置にある。ローターが閉方向にさらに回転すると、弁体は移動せず、閉弁ばねが圧縮される。そして、ローターが基準位置に到達すると、ストッパ機構がローターの閉方向の回転を規制する。ローターが基準位置から開方向に回転すると、ローターおよびホルダーが弁口から離れる。ローターが開方向に回転して閉弁位置を超えると、ホルダーによって弁体が弁座から離され、弁口が開く。すなわち、ローターが閉弁位置にあるときにステッピングモーターにK個(例えば、1~10)のパルスを入力してローターを開方向に回転させると弁口が開き、このときローターは開弁位置にある。
【先行技術文献】
【特許文献】
【0007】
特開2018-135908号公報
特許第7254400号
【発明の概要】
【発明が解決しようとする課題】
【0008】
特許文献1の電動弁において、歯車機構の歯車間には遊びが設けられている。出力軸と駆動軸との間にも遊びが設けられている。遊びによって歯車および駆動軸がスムーズに回転および移動する。この電動弁は、ローターの回転が駆動軸に伝わる伝達状態と、ローターの回転が駆動軸に伝わらない遊び状態と、を有する。遊び状態ではステッピングモーターにパルスを入力してローターを回転させても駆動軸が回転せず、弁体が移動しない。ステッピングモーターにJ個(例えば、100)のパルスを入力してローターを一方向に回転させ、続いて、ステッピングモーターにJ個のパルスを入力して他方向に回転させたとき、電動弁が伝達状態から遊び状態を経て伝達状態に移行するので、弁体がローターを一方向に回転させる前の位置に戻らない。
【0009】
特許文献2の電動弁において、ステッピングモーターに入力したパルスの数に基づいてローターの位置が制御され、閉弁位置に対応するパルスを正確に取得する必要がある。
【0010】
特許文献1の電動弁では、遊び状態から伝達状態に移行したとき、ローターの負荷が大きくなる。特許文献2の電動弁では、ローターが閉方向に回転して閉弁位置に到達したとき、ローターの負荷が大きくなる。そのため、ローターの負荷に基づいて、電動弁が遊び状態から伝達状態に移行したこと、または、ローターが閉弁位置に到達したことを判定できる。
(【0011】以降は省略されています)
この特許をJ-PlatPat(特許庁公式サイト)で参照する
関連特許
株式会社不二工機
弁ユニットおよび弁装置
16日前
個人
鍋虫ねじ
1か月前
個人
ホース保持具
5か月前
個人
紛体用仕切弁
1か月前
個人
回転伝達機構
2か月前
個人
差動歯車用歯形
3か月前
個人
トーションバー
6か月前
個人
ジョイント
16日前
個人
ボルトナットセット
6か月前
個人
回転式配管用支持具
7か月前
株式会社不二工機
電磁弁
4か月前
個人
ナット
17日前
個人
地震の揺れ回避装置
2か月前
株式会社不二工機
電磁弁
3か月前
株式会社オンダ製作所
継手
8か月前
個人
吐出量監視装置
1か月前
株式会社ミクニ
弁装置
8か月前
株式会社三協丸筒
枠体
6か月前
カヤバ株式会社
ダンパ
3か月前
カヤバ株式会社
緩衝器
3か月前
カヤバ株式会社
緩衝器
3か月前
株式会社ミクニ
弁装置
8か月前
カヤバ株式会社
緩衝器
6か月前
個人
ベルトテンショナ
7か月前
柿沼金属精機株式会社
分岐管
1か月前
カヤバ株式会社
ダンパ
3か月前
株式会社ナジコ
自在継手
8か月前
株式会社タカギ
水栓装置
1か月前
個人
固着具と固着具の固定方法
4か月前
株式会社不二工機
電磁弁
1か月前
個人
固着具と固着具の固定方法
4か月前
個人
角型菅の連結構造及び工法
7か月前
株式会社ニフコ
クリップ
2日前
株式会社不二工機
逆止弁
8か月前
株式会社不二工機
電動弁
6か月前
株式会社フジキン
ボールバルブ
3か月前
続きを見る
他の特許を見る