TOP
|
特許
|
意匠
|
商標
特許ウォッチ
Twitter
他の特許を見る
公開番号
2025136509
公報種別
公開特許公報(A)
公開日
2025-09-19
出願番号
2024035136
出願日
2024-03-07
発明の名称
弁ユニットおよび弁装置
出願人
株式会社不二工機
代理人
弁理士法人オーパス国際特許事務所
主分類
F16K
27/02 20060101AFI20250911BHJP(機械要素または単位;機械または装置の効果的機能を生じ維持するための一般的手段)
要約
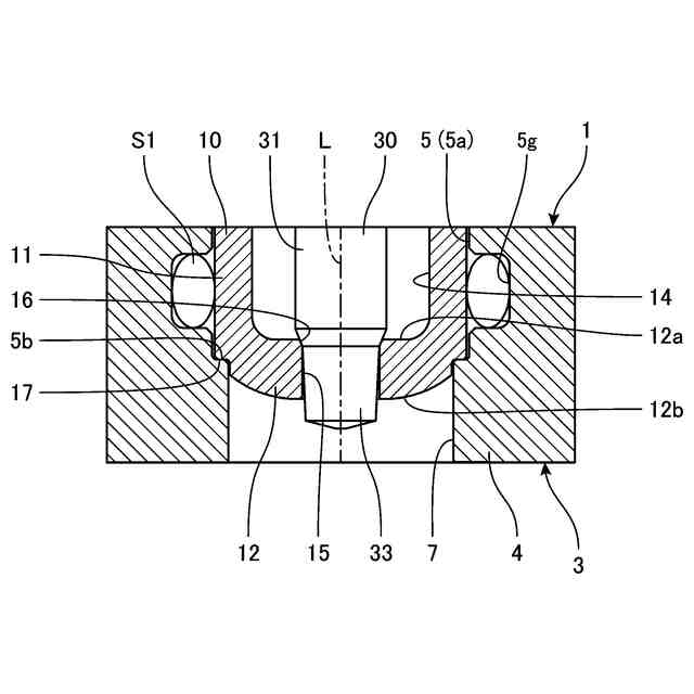
【課題】プレス加工によって形成された弁座部材の変形を抑制できる弁ユニットおよび弁装置を提供する。
【解決手段】弁装置1は、流路ユニットの取付孔5に配置される弁座部材10を有する。弁座部材10は、プレス加工によって形成されており、周壁部11と底壁部12とを有する。底壁部12が、弁口15を有する。底壁部12の上面12aには、弁口15を囲む弁座16が設けられる。底壁部12の下面12bには、軸線L方向に対して直交する支持面17が設けられる。支持面17が、取付孔5の底面5bに接する。
【選択図】図3
特許請求の範囲
【請求項1】
取付孔および前記取付孔に接続される流路を有する流路ユニットに取り付けられる弁ユニットであって、
前記弁ユニットが、周壁部と前記周壁部の一端に接続された底壁部とを有する弁座部材と、前記弁座部材の内側に配置され、前記周壁部の軸方向に移動される弁体と、を有し、
前記弁座部材が、プレス加工によって形成され、前記取付孔に配置され、
前記底壁部が、弁口を有し、
前記底壁部の外面には、前記軸方向に対して直交または傾斜する支持面が設けられ、
前記支持面が前記取付孔の底面に接する、または、前記支持面と前記取付孔の底面との間に部材が保持される、ことを特徴とする弁ユニット。
続きを表示(約 620 文字)
【請求項2】
前記支持面が、前記弁口を囲む環状面である、請求項1に記載の弁ユニット。
【請求項3】
前記支持面と前記取付孔の底面との間に環状の封止部材が保持される、請求項2に記載の弁ユニット。
【請求項4】
前記支持面が、前記弁口の周囲に配置された複数の面を含む、請求項1に記載の弁ユニット。
【請求項5】
前記底壁部の内面には、前記弁口を囲む弁座が設けられている、請求項1に記載の弁ユニット。
【請求項6】
前記弁ユニットが、前記弁座部材の内側に配置される筒部材をさらに有し、
前記筒部材の一端に、前記弁体と前記軸方向に向かい合う弁座が設けられ、
前記筒部材の内側空間が、前記弁口に接続されている、請求項1に記載の弁ユニット。
【請求項7】
請求項1~請求項6のいずれか一項に記載の弁ユニットと、前記流路ユニットと、を有する弁装置。
【請求項8】
前記取付孔の内周面には、雌ねじが設けられ、
前記周壁部の外周面には、前記雌ねじに螺合される雄ねじが設けられている、請求項7に記載の弁装置。
【請求項9】
前記取付孔の内周面には、周方向に延在する環状溝が設けられ、
前記環状溝には、前記流路ユニットと前記周壁部との隙間を封止する環状の封止部材が配置される、請求項7に記載の弁装置。
発明の詳細な説明
【技術分野】
【0001】
本発明は、弁ユニットおよび弁ユニットを有する弁装置に関する。
続きを表示(約 1,100 文字)
【背景技術】
【0002】
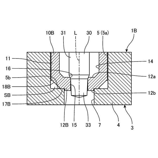
特許文献1には、従来の弁装置の一例が記載されている。弁装置は、流路ユニットである下本体と、弁ユニットの一部である上本体と、を有する。上本体は、下本体に取り付けられる。上本体には、弁座部材が固定されている。弁座部材は、円筒形状の周壁部と、周壁部の下端に接続された底壁部と、を有する。弁座部材の内側には、弁体が配置される。底壁部には、弁口と弁座とが設けられている。
【先行技術文献】
【特許文献】
【0003】
特開2003-227576号公報
【発明の概要】
【発明が解決しようとする課題】
【0004】
特許文献1の弁座部材は、金属ワークピースを切削加工することによって形成される。板金をプレス加工することによって弁座部材を形成することで弁ユニットの製造コストを低減できる。しかしながら、弁口を閉じるとき、弁体が弁座に接して底壁部に対して下方に押す力が加わる。板金から形成された弁座部材は剛性が比較的低く、弁座部材が変形するおそれがある。
【0005】
そこで、本発明は、プレス加工によって形成された弁座部材の変形を抑制できる弁ユニットおよび弁装置を提供することを目的とする。
【課題を解決するための手段】
【0006】
上記目的を達成するために本発明の一態様に係る弁ユニットは、取付孔および前記取付孔に接続される流路を有する流路ユニットに取り付けられる弁ユニットであって、前記弁ユニットが、周壁部と前記周壁部の一端に接続された底壁部とを有する弁座部材と、前記弁座部材の内側に配置され、前記周壁部の軸方向に移動される弁体と、を有し、前記弁座部材が、プレス加工によって形成され、前記取付孔に配置され、前記底壁部が、弁口を有し、前記底壁部の外面には、前記軸方向に対して直交または傾斜する支持面が設けられ、前記支持面が前記取付孔の底面に接する、または、前記支持面と前記取付孔の底面との間に部材が保持される、ことを特徴とする。
【0007】
本発明において、前記支持面が、前記弁口を囲む環状面である、ことが好ましい。
【0008】
本発明において、前記支持面と前記取付孔の底面との間に環状の封止部材が保持される、ことが好ましい。
【0009】
本発明において、前記支持面が、前記弁口の周囲に配置された複数の面を含む、ことが好ましい。
【0010】
本発明において、前記底壁部の内面には、前記弁口を囲む弁座が設けられている、ことが好ましい。
(【0011】以降は省略されています)
この特許をJ-PlatPat(特許庁公式サイト)で参照する
関連特許
株式会社不二工機
電磁弁
1か月前
株式会社不二工機
流路切換弁
1か月前
株式会社不二工機
流路切換弁
1か月前
株式会社不二工機
電気的駆動弁
28日前
株式会社不二工機
電気的駆動弁
2か月前
株式会社不二工機
弁ユニットおよび弁装置
11日前
株式会社不二工機
流路切換弁及び流路切換弁の製造方法
1か月前
株式会社不二工機
電動弁制御装置および電動弁装置、ならびに電動弁の負荷検出方法
12日前
個人
鍋虫ねじ
1か月前
個人
紛体用仕切弁
1か月前
個人
回転伝達機構
1か月前
個人
ホース保持具
5か月前
個人
差動歯車用歯形
3か月前
個人
トーションバー
5か月前
個人
ジョイント
11日前
個人
地震の揺れ回避装置
2か月前
株式会社不二工機
電磁弁
3か月前
個人
ナット
12日前
株式会社不二工機
電磁弁
4か月前
個人
ボルトナットセット
6か月前
個人
吐出量監視装置
28日前
カヤバ株式会社
ダンパ
3か月前
カヤバ株式会社
ダンパ
3か月前
個人
ベルトテンショナ
7か月前
柿沼金属精機株式会社
分岐管
1か月前
カヤバ株式会社
緩衝器
6か月前
カヤバ株式会社
緩衝器
2か月前
カヤバ株式会社
緩衝器
2か月前
株式会社三協丸筒
枠体
6か月前
日東精工株式会社
樹脂被覆ねじ
6か月前
日東電工株式会社
断熱材
5か月前
株式会社奥村組
制振機構
1日前
株式会社不二工機
電動弁
6か月前
株式会社不二工機
電磁弁
1か月前
個人
固着具と固着具の固定方法
4か月前
個人
固着具と固着具の固定方法
5か月前
続きを見る
他の特許を見る