TOP
|
特許
|
意匠
|
商標
特許ウォッチ
Twitter
他の特許を見る
10個以上の画像は省略されています。
公開番号
2025136103
公報種別
公開特許公報(A)
公開日
2025-09-19
出願番号
2024034307
出願日
2024-03-06
発明の名称
照明器具取付具、及び照明器具取付具付き化粧材ユニット
出願人
不二サッシ株式会社
代理人
弁理士法人貴和特許事務所
主分類
F21V
19/00 20060101AFI20250911BHJP(照明)
要約
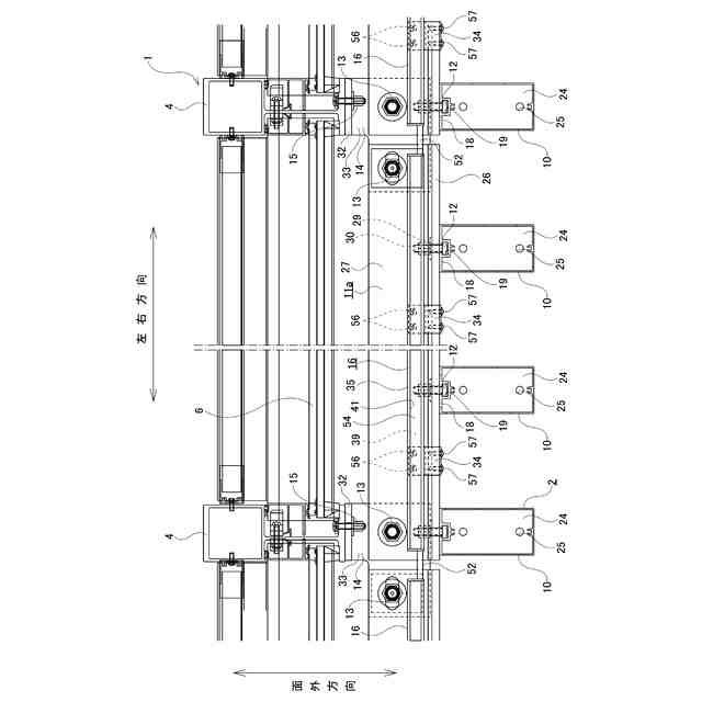
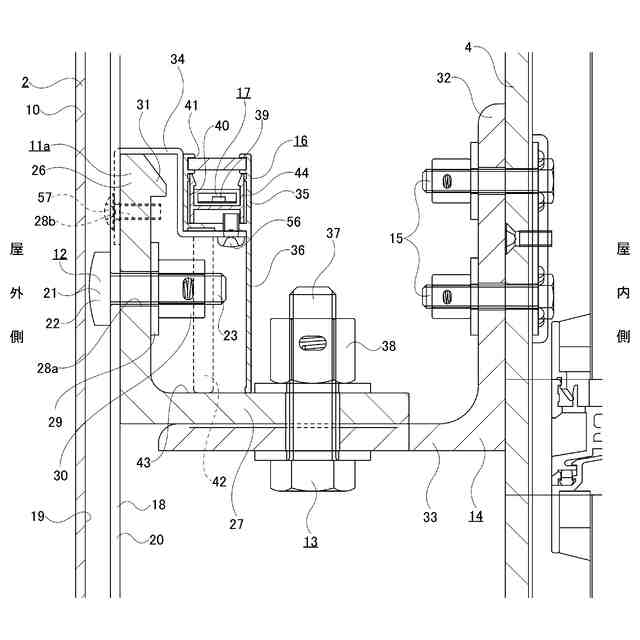
【課題】化粧材と壁構成材との間の限られたスペースに照明器具を配置することができ、かつ、照明器具の配線を隠すことができる、照明器具取付具を提供する。
【解決手段】ルーバユニット2に照明器具17を取り付けるための照明器具取付具16として、その内側に照明器具17の光源39を収容可能な収容空間40と、光源39の光を通過させる開口部41とを有する収容枠35と、収容枠35から下方に伸長し、かつ、その下端部をストリンガー11aに当接させる覆い板36と、を備えるものを使用し、収容枠35の下面と覆い板36の側面とストリンガー11aとにより囲まれた部分に、照明器具17の配線42を収容するための配線空間43を形成する。
【選択図】図6
特許請求の範囲
【請求項1】
化粧材と、前記化粧材に固定され、前記化粧材を壁構成材に固定するための固定金具とを備える化粧材ユニットに、照明器具を取り付けるための照明器具取付具であって、
その内側に前記照明器具の光源を収容可能な収容空間と、前記光源の光を通過させる開口部とを有する収容枠と、
前記収容枠から下方に伸長し、かつ、その下端部を前記固定金具に当接又は近接対向させる、覆い板と、を備え、
前記収容枠の下面と前記覆い板の側面と前記固定金具とにより囲まれた部分に、前記照明器具の配線を収容するための配線空間を形成する、
照明器具取付具。
続きを表示(約 630 文字)
【請求項2】
前記収容枠は、前記収容枠の前記下面を備える底板部を有し、
前記底板部は、前記収容空間と前記配線空間とを連通する連通部を有する、
請求項1に記載の照明器具取付具。
【請求項3】
前記底板部は、前記連通部が形成された薄板部と、前記薄板部よりも板厚の大きい厚板部とを有する、請求項2に記載の照明器具取付具。
【請求項4】
前記収容枠は、略コ字形の断面形状を有する、請求項1に記載の照明器具取付具。
【請求項5】
前記収容枠は、前記開口部に、互いに対向するように開口した1対の係止溝を有する、請求項1に記載の照明器具取付具。
【請求項6】
前記開口部は、上側を向いている、請求項1に記載の照明器具取付具。
【請求項7】
前記化粧材は、長手方向を上下方向に向けて配置されるルーバであり、
前記固定金具は、長手方向を左右方向に向けて配置されるストリンガーである、
請求項1に記載の照明器具取付具。
【請求項8】
化粧材と、前記化粧材に固定され、前記化粧材を壁構成材に固定するための固定金具とを有する化粧材ユニットと、前記化粧材ユニットに照明器具を取り付けるための照明器具取付具と、を備え、
前記照明器具取付具が、請求項1~7のうちのいずれか1項に記載した照明器具取付具である、照明器具取付具付き化粧材ユニット。
発明の詳細な説明
【技術分野】
【0001】
本開示は、照明器具取付具、及び照明器具取付具付き化粧材ユニットに関する。
続きを表示(約 960 文字)
【背景技術】
【0002】
ビルディングなどの建築物にあっては、壁を構成するパネル材の表面性状を工夫したり、壁を構成するフレーム材の配置を工夫したりして、外観意匠を向上することが行われている。
【0003】
近年、建築物の外観意匠に対する要望が多様化してきており、建築物の壁を構成する壁構成材自体を工夫することによっては、外観意匠に対する要望に十分に応えられない可能性がある。
【0004】
そこで、建築物の壁構成材に、化粧材を取り付けることで、外観意匠を向上することが考えられている。
【0005】
特開2013-174078号公報には、化粧材である複数本の縦桟材を、固定金具である胴縁、及び、外壁に固定した壁際材を介して、外壁に固定する構造が開示されている。
【0006】
特開2013-174078号公報に記載された構造では、複数本の縦桟材のそれぞれが、結合部材により胴縁に固定されている。複数本の縦桟材は、胴縁により連結されて、ルーバユニットを構成している。
【先行技術文献】
【特許文献】
【0007】
特開2013-174078号公報
【発明の概要】
【発明が解決しようとする課題】
【0008】
昼間だけでなく、夜間における建築物の外観意匠を向上するために、化粧材と、該化粧材を壁構成材に固定するための固定金具とからなる化粧材ユニットに、照明器具を取り付けて、建築物の外壁をライトアップすることが考えられる。
【0009】
ただし、化粧材と壁構成材との間には、固定金具、並びに、ボルト及びナットなどが配置されるため、照明器具を配置するための十分なスペースを確保することは難しい。また、照明器具に備えられた配線が視認可能な位置に露出している場合、意匠性を低下させる可能性がある。
【0010】
本開示は、化粧材と壁構成材との間の限られたスペースに照明器具を配置することができ、かつ、照明器具の配線を隠すことができる、照明器具取付具を提供することを目的とする。
【課題を解決するための手段】
(【0011】以降は省略されています)
特許ウォッチbot のツイートを見る
この特許をJ-PlatPat(特許庁公式サイト)で参照する
関連特許
不二サッシ株式会社
引違いサッシ
1日前
文化シヤッター株式会社
防護柵
6日前
不二サッシ株式会社
床加速度の測定システムおよび測定方法
2日前
不二サッシ株式会社
照明器具取付具、及び照明器具取付具付き化粧材ユニット
20日前
個人
室外機器
3か月前
個人
照明システム
3か月前
個人
気泡を用いた遊具。
5か月前
個人
車載機器の通気構造
29日前
株式会社遠藤照明
照明装置
20日前
株式会社遠藤照明
照明器具
4か月前
株式会社小糸製作所
車両用灯具
2日前
デンカ株式会社
照明装置
3か月前
株式会社小糸製作所
車両用灯具
2日前
能美防災株式会社
表示灯
29日前
個人
LEDライト
3か月前
デンカ株式会社
道路用照明
3か月前
アクア株式会社
冷蔵庫
2か月前
株式会社小糸製作所
誘導装置
13日前
フルトラム株式会社
光学機器
1日前
瀧住電機工業株式会社
ダクトレール
7か月前
株式会社小糸製作所
投光装置
29日前
株式会社小糸製作所
投光装置
29日前
スタンレー電気株式会社
照射用光源
6日前
株式会社小糸製作所
車両用灯具
6か月前
株式会社小糸製作所
表示用灯具
6日前
株式会社小糸製作所
車両用灯具
6か月前
株式会社小糸製作所
車両用灯具
3か月前
株式会社小糸製作所
車両用灯具
3か月前
株式会社小糸製作所
車両用灯具
3か月前
株式会社小糸製作所
車両用灯具
3か月前
株式会社小糸製作所
描画用灯具
6か月前
株式会社小糸製作所
車両用灯具
4か月前
株式会社小糸製作所
表示用灯具
6日前
株式会社小糸製作所
車両用灯具
6か月前
株式会社小糸製作所
車両用灯具
4か月前
株式会社小糸製作所
車両用灯具
4か月前
続きを見る
他の特許を見る