TOP
|
特許
|
意匠
|
商標
特許ウォッチ
Twitter
他の特許を見る
10個以上の画像は省略されています。
公開番号
2025148980
公報種別
公開特許公報(A)
公開日
2025-10-08
出願番号
2024049390
出願日
2024-03-26
発明の名称
引違いサッシ
出願人
不二サッシ株式会社
代理人
個人
主分類
E06B
3/46 20060101AFI20251001BHJP(戸,窓,シャッタまたはローラブラインド一般;はしご)
要約
【課題】5枚以上の障子を建て込んだ引違いサッシにおいても外障子用レールおよび内障子用レールの2本のレールで対応すると共に、中央の1枚の障子を移動させて換気する場合でも、1枚の網戸で対応する。
【解決手段】外障子用レール17a上を移動する第1外障子11、第2外障子13および第3外障子21と、内障子用レール17b上を移動する第1内障子12および第2内障子14’の5枚の障子を有し、5枚全ての障子11~21を閉めた場合、一方の縦枠18から他方の縦枠19に向かって第1外障子11、第1内障子12、第2外障子13、第2内障子14’、第3外障子21の順、またはその逆の順というように外障子と内障子とが1枚ずつ交互に配置されていると共に、その5枚の障子11~21の内、少なくとも1枚の障子である第2内障子14’において左右の第2内召合せ框14cおよび第2内右召合せ框14d’を左右対称に構成する。
【選択図】図14
特許請求の範囲
【請求項1】
5枚以上の外障子および内障子がそれぞれ1本の外障子用レールと1本の内障子用レールを移動するように構成した引違いサッシであって、
当該引違いサッシを閉めた場合、サッシ枠の一方の縦枠から他方の縦枠に向かって外障子と内障子とが1枚ずつ交互に配置されていると共に、その5枚以上の外障子および内障子の内、少なくとも1枚の外障子または内障子の左右の縦框が左右対称に構成されていることを特徴とする引違いサッシ。
続きを表示(約 300 文字)
【請求項2】
請求項1記載の引違いサッシにおいて、
左右の縦框が左右対称に構成された前記内障子は、左右の縦框それぞれの煙返し片の係合部が当該内障子の中心を向くように左右対称に構成されていると共に、左右の縦框それぞれにクレセント錠が設けられていることを特徴とする引違いサッシ。
【請求項3】
請求項1記載の引違いサッシにおいて、
左右の縦框が左右対称に構成された前記外障子は、左右の縦框それぞれの煙返し片の係合部が当該外障子の中心を向くように左右対称に構成されていると共に、左右の縦框それぞれにクレセント受けが設けられていることを特徴とする引違いサッシ。
発明の詳細な説明
【技術分野】
【0001】
本発明は、サッシ枠(窓枠を含む。)の外障子用レールおよび内障子用レールの2本のレール上を5枚以上の障子が移動する引違いサッシに関する。
続きを表示(約 3,700 文字)
【背景技術】
【0002】
引違いサッシは、通常、2枚の障子で構成するが、大開口のサッシ枠の場合には、3枚の障子を建て込む構造(例えば、特許文献1,2参照)や、4枚の障子を建て込む構造(例えば、特許文献3,4参照)が提案されている。
【先行技術文献】
【特許文献】
【0003】
実開昭51-105838号公報
特開2023-147609号公報
実公昭63-19508号公報
特許第7300534号公報
【発明の概要】
【発明が解決しようとする課題】
【0004】
しかし、上述の特許文献1,2の引違いサッシでは、3枚の障子がそれぞれ走行する3本のレールを見込み方向に設けているため、室内面積が狭くなると共に、大型の2枚の障子で構成した場合には、1枚当たりの障子や窓枠自体が重くなる等の問題があった。
【0005】
また、上述の特許文献3,4の引違いサッシでは、2枚の外障子と2枚の内障子とで4枚の障子を構成し、2枚の外障子は左右の縦枠側に離して設けてそれぞれ同じ外障子用レール上を移動させる一方、2枚の内障子は中央に設けて同じ内障子用レール上を移動して突き合うように構成しているため、特許文献3の引違いサッシのように2枚の内障子を閉めた際にそれぞれの召合せ框が突き合うように並び、室内から見た際に、デザイン上、太く見えて目立つ等の問題があった。尚、特許文献4の引違いサッシでは、2枚の内障子を閉めた際にそれぞれの召合せ框が突き合うように並ぶものの、一方の内障子の召合せ框が他方の内障子の召合せ框に重なるように形成しているため、一方の内障子の召合せ框の見付け方向の幅が大きいという問題があった。
【0006】
さらに、5枚以上の障子で構成した引違いサッシにおいて換気を行なう場合に中央召合せ框を開放して換気を行なうことが多いため、上述の特許文献3,4の引違いサッシでは、2枚の外障子をそれぞれ左右の縦枠側に寄せた状態で2枚の内障子の間を左右に開ける場合、網戸は2枚の外障子それぞれの外召合せ框にかかるように2枚の網戸同士を突き合わせる必要があり、室内へ虫が侵入し易い等の問題もある。
【0007】
そこで、本発明はこのような問題点を解決するためなされたもので、5枚以上の障子を建て込んだ引違いサッシにおいても外障子用レールおよび内障子用レールの2本のレールで対応することができると共に、中央の1枚の障子を移動させて換気する場合でも、1枚の網戸で対応することができる引違いサッシを提供することを目的とする。
【課題を解決するための手段】
【0008】
前記課題を解決するため、本発明に係る引違いサッシは、5枚以上の外障子および内障子がそれぞれ1本の外障子用レールと1本の内障子用レールを移動するように構成した引違いサッシであって、当該引違いサッシを閉めた場合、サッシ枠の一方の縦枠から他方の縦枠に向かって外障子と内障子とが1枚ずつ交互に配置されていると共に、その5枚以上の外障子および内障子の内、少なくとも1枚の外障子または内障子の左右の縦框が左右対称に構成されていることを特徴とする。
また、本発明に係る引違いサッシでは、左右の縦框が左右対称に構成された前記内障子は、左右の縦框それぞれの煙返し片の係合部が当該内障子の中心を向くように左右対称に構成されていると共に、左右の縦框それぞれにクレセント錠が設けられていることも特徴とする。
また、本発明に係る引違いサッシでは、左右の縦框が左右対称に構成された前記外障子は、左右の縦框それぞれの煙返し片の係合部が当該外障子の中心を向くように左右対称に構成されていると共に、左右の縦框それぞれにクレセント受けが設けられていることも特徴とする。
【発明の効果】
【0009】
本発明に係る引違いサッシでは、5枚以上の外障子および内障子がそれぞれ1本の外障子用レールと1本の内障子用レールを移動し、かつ、当該引違いサッシを閉めた際に、サッシ枠の一方の縦枠から他方の縦枠に向かって外障子と内障子とを1枚ずつ交互に配置し、その5枚以上の外障子および内障子の内、少なくとも1枚の外障子または内障子の左右の縦框を左右対称に構成している。
そのため、5枚以上の障子を建て込んだ引違いサッシであっても、通常の2枚建ての引き違いサッシを構成する2本の外障子用レールおよび内障子用レールの見付け方向の長さを変えることによって対応することが可能となるので、製造コストを低減することができる。
また、5枚以上の障子を2本のレール上で移動させるので、枠見込みを大きくする必要がなくなり、室内スペースを広く確保することができる。
また、大開口のサッシ枠を大型の2枚の障子で構成する場合と比較すると、5枚以上の障子で構成しているので、各障子を小型化して重量を軽量化することができると共に、通常サイズ(汎用サイズ)の障子と部品を共通化してコストダウンも図ることができる。
また、5枚以上の障子の内、中央の内障子を移動させて換気を行う場合でも、1枚の網戸にて対応することが可能となるので、屋外からの虫等の侵入を容易かつ確実に防止することができ、部屋内の快適性等を向上させることができる。
【図面の簡単な説明】
【0010】
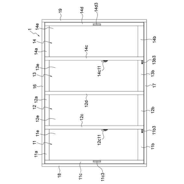
本発明に係る実施形態1の引違いサッシの内覧図である。
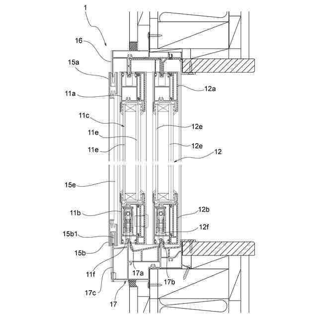
本発明に係る実施形態1の引違いサッシの横断面図である。
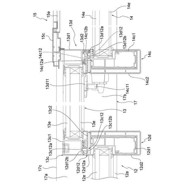
図2における第1外障子と第1内障子の召合せ部分を中心に拡大して示す要部拡大横断面図である。
図2における第1内障子と第2外障子と第2内障子の召合せ部分を中心に拡大して示す要部拡大横断面図である。
本発明に係る実施形態1の引違いサッシの縦断面図である。
本発明に係る実施形態1の引違いサッシにおいて第1内障子を図上左方向に移動させ1枚の障子を開けることにより換気している状態を示す横断面図である。
本発明に係る実施形態1の引違いサッシにおいて第1内障子を図上左方向に移動すると共に、第2外障子を図上右方向に移動することにより2枚の障子を開けて換気している状態を示す横断面図である。
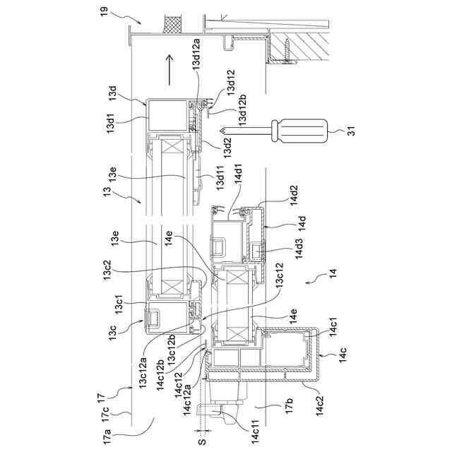
本発明に係る実施形態1の引違いサッシにおける第2外障子に設けたクレセント受けの水平位置の調整の一例を示す要部拡大横断面図である。
本発明に係る実施形態1の引違いサッシにおける第1内障子に設けたクレセント錠の水平位置を調整の一例を示す要部拡大横断面図である。
本発明に係る実施形態1の引違いサッシにおいて第2外障子の室内側に取っ手を設けた場合の内覧図である。
本発明に係る実施形態1の引違いサッシにおいて第2外障子の室内側に取っ手を設けた場合の横断面図である。
本発明に係る実施形態1の引違いサッシにおいて第2外障子の室内側に設けた取っ手を使用して第2外障子を図上右方向に移動させた状態を示す横断面図である。
本発明に係る実施形態2の引違いサッシの内覧図である。
本発明に係る実施形態2の引違いサッシの横断面図である。
本発明に係る実施形態2の引違いサッシにおける第2内障子と第3外障子等を拡大して示す要部拡大横断面図である。
本発明に係る実施形態2の引違いサッシにおいて第1内障子を図上左方向に移動させることにより換気している状態を示す横断面図である。
本発明に係る実施形態2の引違いサッシにおいて第1内障子を図上左方向に移動させる一方、第2外障子を図上右方向に移動させることにより換気している状態を示す横断面図である。
本発明に係る実施形態3の引違いサッシの内覧図である。
本発明に係る実施形態3の引違いサッシの横断面図である。
本発明に係る実施形態3の引違いサッシにおける第1内障子等を拡大して示す要部拡大横断面図である。
本発明に係る実施形態3の引違いサッシにおける第2内障子等を拡大して示す要部拡大横断面図である。
本発明に係る実施形態3の引違いサッシにおける第3外障子等を拡大して示す要部拡大横断面図である。
本発明に係る実施形態3の引違いサッシにおける第3内障子等を拡大して示す要部拡大横断面図である。
本発明に係る実施形態3の引違いサッシにおいて第2内障子を図上右方向に移動させることにより換気している状態を示す横断面図である。
本発明に係る実施形態3の引違いサッシにおいて第2外障子を図上左方向に移動させる一方、第2内障子を図上右方向に移動させることにより換気している状態を示す横断面図である。
【発明を実施するための形態】
(【0011】以降は省略されています)
この特許をJ-PlatPat(特許庁公式サイト)で参照する
関連特許
不二サッシ株式会社
引違いサッシ
1か月前
不二サッシ株式会社
引違いサッシ
1日前
不二サッシ株式会社
化粧材の固定構造
20日前
不二サッシ株式会社
化粧材の固定構造
20日前
文化シヤッター株式会社
防護柵
6日前
不二サッシ株式会社
化粧材の固定構造及び外壁の施工方法
20日前
不二サッシ株式会社
床加速度の測定システムおよび測定方法
2日前
不二サッシ株式会社
照明器具取付具、及び照明器具取付具付き化粧材ユニット
20日前
不二サッシ株式会社
化粧材落下防止具、落下防止具付き化粧材、及び落下防止具付き化粧材ユニット
20日前
中国電力株式会社
脚立
1か月前
株式会社ESP
止水板
1か月前
株式会社ナカオ
作業台
29日前
三協立山株式会社
構造体
3か月前
三協立山株式会社
構造体
3か月前
三協立山株式会社
開口部装置
3か月前
三協立山株式会社
開口部装置
1か月前
三協立山株式会社
開口部装置
1か月前
三協立山株式会社
開口部装置
1か月前
三協立山株式会社
開口部装置
1か月前
三協立山株式会社
開口部装置
2日前
三協立山株式会社
開口部装置
1か月前
ミサワホーム株式会社
水切り材
1か月前
株式会社ニチベイ
縦型ブラインド
2か月前
株式会社TJMデザイン
脚立用ホルダー
3か月前
文化シヤッター株式会社
止水装置
1日前
不二サッシ株式会社
引違いサッシ
1か月前
不二サッシ株式会社
引違いサッシ
1日前
永大産業株式会社
開閉構造体
3か月前
三協立山株式会社
サッシの製造方法
1か月前
株式会社LIXIL
太陽電池ガラス
10日前
株式会社LIXIL
建具
7日前
株式会社LIXIL
建具
1か月前
株式会社LIXIL
建具
7日前
株式会社LIXIL
建具
7日前
株式会社LIXIL
建具
1か月前
株式会社LIXIL
建具
20日前
続きを見る
他の特許を見る