TOP
|
特許
|
意匠
|
商標
特許ウォッチ
Twitter
他の特許を見る
10個以上の画像は省略されています。
公開番号
2025136910
公報種別
公開特許公報(A)
公開日
2025-09-19
出願番号
2024035844
出願日
2024-03-08
発明の名称
法面作業装置
出願人
株式会社NIPPO
代理人
弁理士法人クシブチ国際特許事務所
主分類
E01C
19/26 20060101AFI20250911BHJP(道路,鉄道または橋りょうの建設)
要約
【課題】法面機械の運転効率を向上させることにある。
【解決手段】法面作業装置1は、伴走するサポート機械3と、サポート機械3が有する支持ロープ17に吊下げられて、法面を自走する法面機械2と、を備える法面作業装置1において、法面機械2が、ステアリングホイール25を動作させるステアリング駆動部111を備え、サポート機械3が、ステアリング駆動部111を操作する遠隔操作部112を備える。
【選択図】図1
特許請求の範囲
【請求項1】
伴走するサポート機械と、
前記サポート機械が有する支持ロープに吊下げられて、法面を自走する法面機械と、を備える法面作業装置において、
前記法面機械が、ステアリングを動作させるステアリング駆動部を備え、
前記サポート機械が、前記ステアリング駆動部を操作する遠隔操作部を備える、
法面作業装置。
続きを表示(約 720 文字)
【請求項2】
前記法面機械が、
前記支持ロープの動きに追従する追従部材と、前記追従部材の動きに連動する連動部材と、前記連動部材の動きに連動するリンク部材と、を備え、前記リンク部材が、前記法面機械の前後進動作機構に連結される、
請求項1に記載の法面作業装置。
【請求項3】
前記追従部材は、アーム部材を備え、
前記アーム部材の基端は、前記法面機械が有する車両本体の支持軸に、略水平方向に揺動可能に支持され、前記アーム部材の自由端に、前記支持ロープに引っ掛ける係止部材を備える、
請求項2に記載の法面作業装置。
【請求項4】
前記法面機械が、
車輪支持部と、
前記車輪支持部に傾動可能に支持され、前記支持ロープが連結される車両本体と、
前記車両本体の前記車輪支持部に対する傾きの状態を検知するセンサと、
前記センサの検知値が、所定範囲に収まるように前記支持ロープを繰出し、又は、巻取り制御する制御部と、を備える、
請求項1又は2に記載の法面作業装置。
【請求項5】
前記車輪支持部と前記車両本体の間に、
前記車両本体の傾きに応じて伸縮するばね機構を備える、
請求項4に記載の法面作業装置。
【請求項6】
前記車両本体の傾きを禁止する禁止部を備える、
請求項4に記載の法面作業装置。
【請求項7】
前記車輪支持部は、台座部材を備え、
前記センサは、前記台座部材と前記車両本体との間隔を測定する変位センサである、
請求項4に記載の法面作業装置。
発明の詳細な説明
【技術分野】
【0001】
本発明は、法面作業装置に関する。
続きを表示(約 1,500 文字)
【背景技術】
【0002】
特許文献1は、伴走するサポート機械と、前記サポート機械が有する支持ロープに吊下げられて、法面を自走して舗装する、アスファルトフィニッシャ等の法面機械と、を備える法面作業装置を開示する。
【先行技術文献】
【特許文献】
【0003】
特開平1-260103号公報
【発明の概要】
【発明が解決しようとする課題】
【0004】
しかし、特許文献1では、法面作業においては、一人の作業者がサポート機械を運転し、別の作業者が法面機械を運転する。
本発明の目的は、法面機械の運転効率を向上させることにある。
【課題を解決するための手段】
【0005】
本発明は、伴走するサポート機械と、前記サポート機械が有する支持ロープに吊下げられて、法面を自走する法面機械と、を備える法面作業装置において、前記法面機械が、ステアリングを動作させるステアリング駆動部を備え、前記サポート機械が、前記ステアリング駆動部を操作する遠隔操作部を備える。
これによれば、一人の作業者がサポート機械を運転するとき、遠隔操作部を操作することで、法面機械のステアリングを操作できる。
【発明の効果】
【0006】
本発明によれば、法面機械の運転効率を向上できる。
【図面の簡単な説明】
【0007】
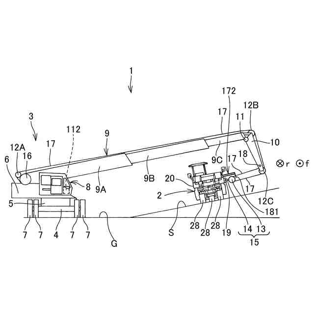
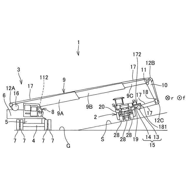
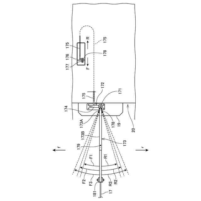
法面作業装置の側面図である。
法面機械の側面図である。
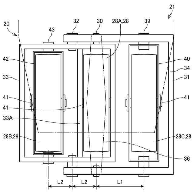
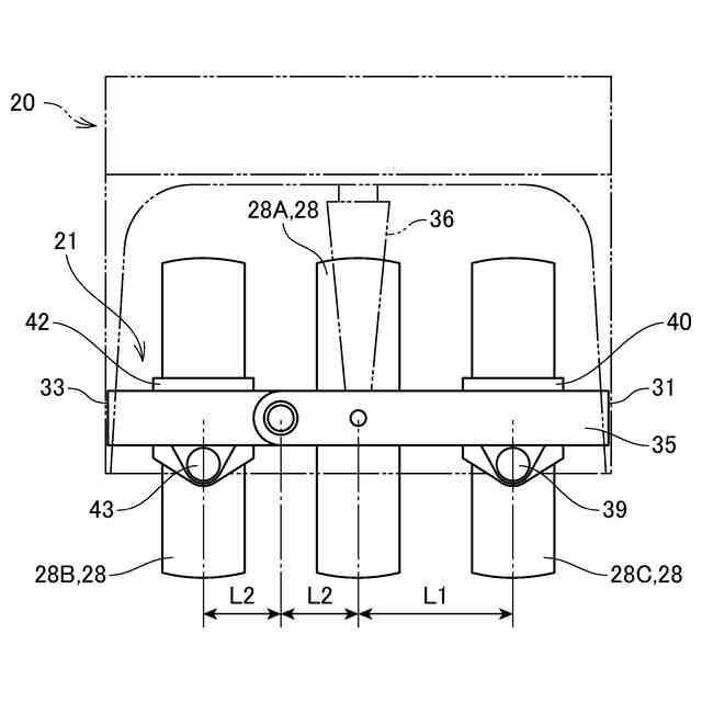
前輪支持部を示す平面図である。
前輪支持部を示す正面図である。
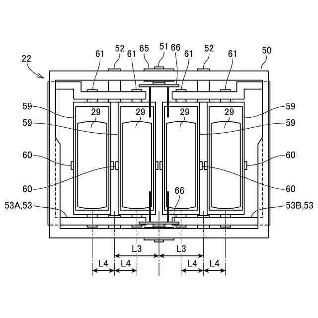
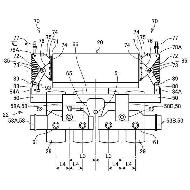
後輪支持部を示す平面図である。
後輪支持部を示す正面図である。
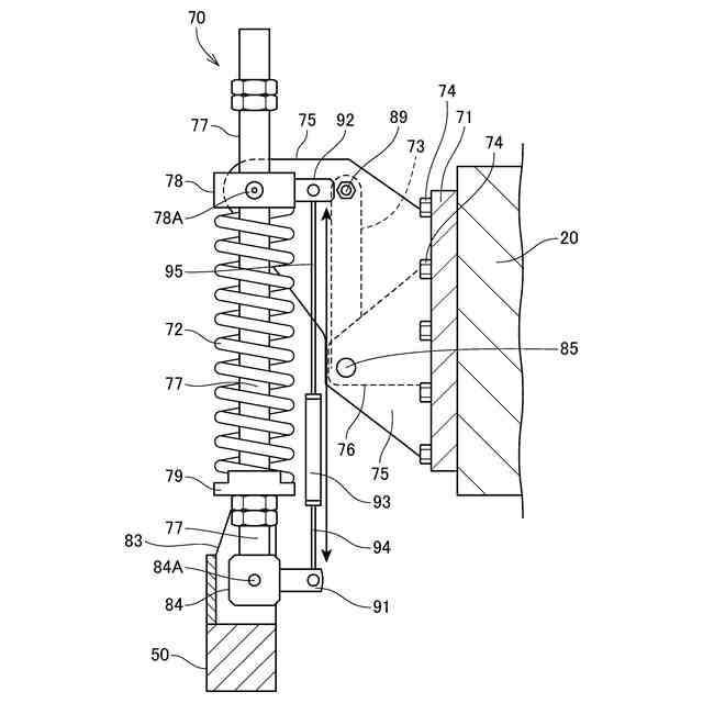
図6のVII-VII断面図である。
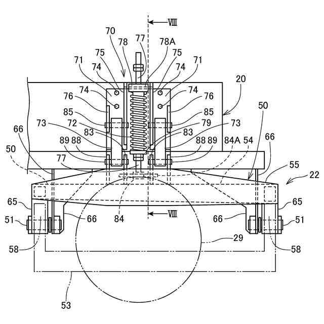
図7のVIII-VIII断面図である。
法面機械の自動走行機構を示す系統図である。
法面機械の自動走行機構を示す系統図である。
法面機械の自動走行機構を示す系統図である。
制御系のブロック図である。
【発明を実施するための形態】
【0008】
[実施形態]
[1-1.構成]
図1は、法面作業装置1の側面図である。
法面作業装置1は、テストコース、競技場などの、傾斜のある法面Sを自走し、法面Sを舗装するアスファルトフィニッシャや転圧ローラなどの法面機械2と、法面Sの下方に位置する平坦路Gを、法面機械2と伴走するサポート機械3と、を備える。法面作業装置1は、法面作業システムと呼ぶこともできる。
【0009】
[1-1-1.サポート機械]
サポート機械3は、走行部4と、走行部4の上部に旋回可能に配置される旋回体5と、旋回体5の上部に連結される車体6とを備える。走行部4は車輪7と、車輪7を駆動する駆動部(不図示)と、を備える。
車体6には、運転室8が配置される。
作業者は、運転室8に乗り込みサポート機械3を運転し、サポート機械3は、平坦路G上を走行自在である。
【0010】
サポート機械3は、車体6から上方に向かって延びるブーム9を備える。
ブーム9は、下ブーム9Aと、中ブーム9Bと、上ブーム9Cと、を備える。下ブーム9Aには、起伏用の油圧シリンダ(不図示)が連結され、下ブーム9Aは、車体6に対して起伏自在に支持される。中ブーム9Bと、上ブーム9Cには、伸縮用の油圧シリンダ(不図示)が連結され、中ブーム9Bと、上ブーム9Cは、下ブーム9Aに対して伸縮自在に構成される。
(【0011】以降は省略されています)
この特許をJ-PlatPat(特許庁公式サイト)で参照する
関連特許
株式会社NIPPO
飛散防止装置
3日前
株式会社NIPPO
コンクリートスタッカ
1日前
個人
折り畳み式標識具
2日前
GX株式会社
仮設防護体
24日前
日本精機株式会社
路面投影装置
1か月前
北越消雪機械工業株式会社
消雪装置
2日前
株式会社熊谷組
床版接合構造
5日前
範多機械株式会社
路面切削機
1か月前
GX株式会社
昇降式仮設防護体
15日前
前田工繊株式会社
防護柵
17日前
株式会社熊谷組
床版継手装置、及び、床版
5日前
中井商工株式会社
橋梁の桁端止水工法
5日前
浅香工業株式会社
レーキ
12日前
株式会社幸和道路
自走式道路路面標示文字描画車両
23日前
株式会社三共
足場用移動屋根装置及び橋梁用足場
25日前
株式会社NIPPO
コンクリートスタッカ
1日前
十武建設株式会社
舗装材吹付け装置、および吹付け施工方法
23日前
株式会社NIPPO
法面機械
15日前
共和ゴム株式会社
床版敷設シール材
29日前
株式会社栗本鐵工所
検査路及びステップ
1か月前
東日本旅客鉄道株式会社
横取り方法
1日前
株式会社NIPPO
法面作業装置
15日前
株式会社NIPPO
法面作業装置
15日前
株式会社NIPPO
路面切削装置及び路面切削方法
1か月前
株式会社NIPPO
コンクリート舗装の施工方法
5日前
五洋建設株式会社
床版部材設置装置及び床版部材の設置方法
23日前
大成建設株式会社
床版接合部の設計方法
5日前
株式会社NIPPO
半たわみ性舗装及びその施工方法
1か月前
株式会社NIPPO
再生アスファルト混合物の製造方法
23日前
オリエンタル白石株式会社
床版設置高さ調整機構及び床版取替工法
1か月前
株式会社NIPPO
再生アスファルト混合物の製造方法
1か月前
株式会社NIPPO
コンクリート舗装及びその施工方法
5日前
株式会社NIPPO
再生アスファルト混合物の製造方法
23日前
株式会社NIPPO
アスファルトフィニッシャ
26日前
住倉鋼材株式会社
新幹線路盤の突起用鉄筋ユニット並びにその製造方法及び装置
1日前
株式会社IHI
橋梁の管理方法および橋梁の管理装置
26日前
続きを見る
他の特許を見る