TOP
|
特許
|
意匠
|
商標
特許ウォッチ
Twitter
他の特許を見る
公開番号
2025137071
公報種別
公開特許公報(A)
公開日
2025-09-19
出願番号
2024036064
出願日
2024-03-08
発明の名称
マイクロ光共振器、及び光周波数コム発生装置
出願人
国立大学法人徳島大学
代理人
主分類
G02F
1/365 20060101AFI20250911BHJP(光学)
要約
【課題】
光周波数コムを起動において、温度上昇による共振器の熱変形による共振波長および屈折率変化するため、励起光34の波長λ1を精度よくソリトン化する領域に移動させることが難しいという問題を有していた。導波路の熱膨張に起因する熱的な波長シフトを抑えることを考慮しなければならない。
【解決手段】
第1の導波路12の内側に第1の導波路の熱変形を規制する第1の固定板13と同じく第1の導波路の外側にドーナツ状の第2の固定板を設け、第1の導波路のコム立ち上げ時に光強度によって発生する熱変形を規制する。これによりソリトン光コム立ち上げ動作の確実性を確保し、より簡素で小型化できる光コムデバイスを実現する。
【選択図】図1
特許請求の範囲
【請求項1】
レーザー装置から照射される所定の周波数を有する励起光の入力を受け付ける入力部と、3次非線形光学効果を有する材質により構成された円形状の第1の導波路と、前記第1の導波路の形成される面に平行な面上に形成され、前記第1の導波路と光学的に結合することにより、前記励起光の少なくとも一部を前記第1の導波路に入力し、前記第1の導波路から互いに等しい周波数間隔である複数の櫛状のスペクトラムを有する光周波数コムを取り出すように設けられた第2の導波路と、前記第1の導波路の形成される面と、前記第2の導波路が形成される面との間に形成されたクラッド層と、前記第1の導波路の内側に設けられたドーナツ状の第1のクラッド部と、前記第1クラッド部の内側に設けられ前記第1のクラッド部の材質よりも高い縦弾性係数を有する第1の固定部と、前記第1の導波路の外側に設けられたドーナツ状の第2のクラッド部と、前記第2のクラッド部の外周に沿って設けられ、前記第2のクラッド部の材質よりも高い縦弾性係数を有する第2の固定部とを備えるマイクロ光共振器。
続きを表示(約 730 文字)
【請求項2】
前記第1の固定部と前記第2の固定部の材質は、前記第1の導波路と同一であることを特徴とする請求項1記載のマイクロ光共振器。
【請求項3】
前記第1の導波路と前記クラッド層との間の第1の界面と、前記第2の導波路と前記クラッド層との第1の界面との第2の界面とが鏡面を有することを特徴とする請求項1ないし2記載のマイクロ光共振器。
【請求項4】
レーザー装置から照射される所定の周波数を有する励起光の入力を受け付ける入力部と、3次非線形光学効果を有する材質により構成された円形状の第1の導波路と、前記第1の導波路の形成される面に平行な面上に形成され、前記第1の導波路と光学的に結合することにより、前記励起光の少なくとも一部を前記第1の導波路に入力し、前記第1の導波路から互いに等しい周波数間隔である複数の櫛状のスペクトラムを有する光周波数コムを取り出すように設けられた第2の導波路と、前記第1の導波路の内側に形成され、ドーナツ状の前記第1のクラッド部を介して設けられの前記第1のクラッド部の材質よりも高い縦弾性係数を有する前記第1の固定部と、を備えるマイクロ光共振器。
【請求項5】
前記第1の固定部の材質は、前記第1の導波路と同一であることを特徴とする請求項4記載のマイクロ光共振器。
【請求項6】
前記第1の導波路の形成される面と、前記第2の導波路が形成される面との間に形成された前記クラッド層と、前記第1の導波路と前記クラッド層との間の第1の界面と、前記第2の導波路と前記クラッド層との第1の界面との第2の界面と、が鏡面を有することを特徴とする請求項4ないし5記載のマイクロ光共振器。
発明の詳細な説明
【技術分野】
【0001】
本発明は、光周波数コムの周波数制御装置及び方法に関し、特に、連続してソリトン光コムを生成し、かつ維持するための光周波数コムの周波数制御装置及び方法に関する。
続きを表示(約 1,300 文字)
【背景技術】
【0002】
光周波数コムは、周波数軸上に等間隔に並んだ成分(モード)からなる櫛(コム)形のスペクトラムを持つ光信号である。
【0003】
光周波数コムを起動するには、キャビティ内を異常分散状態にするだけでは不十分であり、特殊な手順を踏む必要がある。この手法は2014年に、周回型光導波路へ導入する連続波(CW)レーザーの波長を、その共振周波数付近で連続的に掃引する手法が発見され、この方法を基本とする手法が多く研究されている。
【0004】
しかし上記の手法による起動では、周回型光導波路における二つの要因による共振周波数のシフト、具体的にはカー非線形効果による光学的なシフトと、温度上昇による材料そのものの屈折率の変化及び熱膨張に起因する熱的なシフトの両方を考慮しなければならず、非常に複雑である。
【0005】
以下に従来の光周波数コム発生装置について説明する。
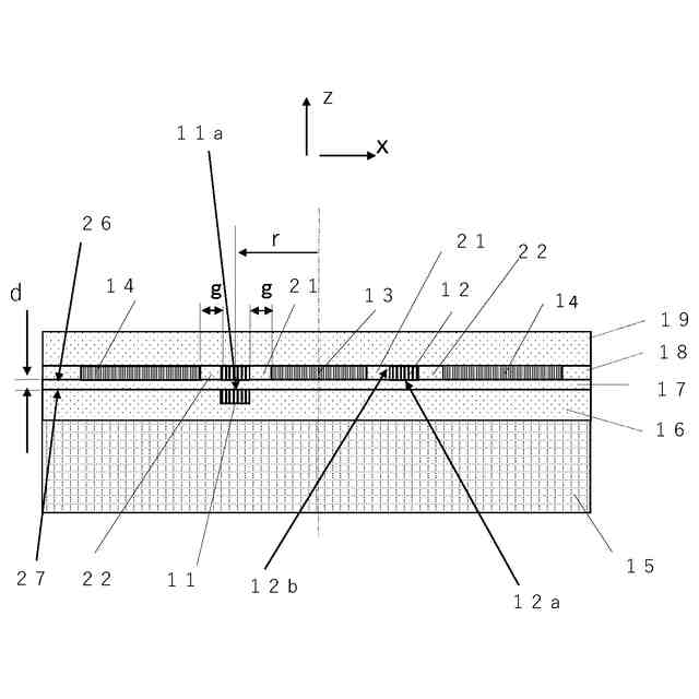
そのマイクロ光共振器を図7に示す。図7(a)は導波路の平面図、図7(b)は、同断面図を表している。なお、図7(b)は図7(a)に示すx軸における断面図である。30aはシリコン基板29上に成膜された二酸化ケイ素(SiO2)で形成された第1のクラッド層である。この第1のクラッド層30aの一部をエッチング除去して周回型光共振器である共振器32および導波路31が埋め込まれている、その上に第2のクラッド層30bが形成される。共振器32はリング状であり、導波路31は直線で構成される。共振器32と導波路31は僅かな隙間dを介して配置されている。なお、隙間dのz方向側面は、ドライエッチングで加工された面によって形成されている。また、共振器32と導波路31は窒化シリコンで構成されている。
【0006】
以上のように構成された従来の光周波数コム発生装置について、以下その動作について説明する。
【0007】
導波路31には、図示されないが、CWレーザー光源装置から照射される励起光の入力を受け付ける入力部33が接続され、CWレーザー光源装置からCWレーザーである励起光34が導波路31に入射される。
【0008】
入射される励起光34は波長λ1を有する連続波であるとする。図8(a)に入射励起光34の波長スペクトラムを示す。励起光34の共振波長λ1と共振器32の共振波形が重なると、励起光34は導波路31から染み出た、いわゆるエヴァネッセント波として共振器32内に取り込まれる。
【0009】
共振器内の異なる波長を有する各モードがそろった状態になると、ピークが重なり強め合う干渉により、パルス37が発生する。この状態をモード同期という。また、このパルスを光コムという。図9にモードの概念を示す。
【0010】
モード間隔は繰り返し周波数frepで表され、
frep =c/(2nL)
となる。nは導波路の材質の有効屈折率で、Lは共振器の周長、cは光速である。
光コムは、周波数軸上で見たとき、図8(b)のようなモードが櫛のように等間隔に並ぶスペクトラムを有している。
(【0011】以降は省略されています)
この特許をJ-PlatPat(特許庁公式サイト)で参照する
関連特許
キヤノン株式会社
映像表示装置
2日前
セイコーエプソン株式会社
虚像表示装置及び光学ユニット
2日前
日本電気硝子株式会社
光アイソレータ
2日前
デクセリアルズ株式会社
偏光素子、偏光素子の製造方法および光学機器
2日前
日東電工株式会社
光学フィルムおよびバックライト装置
2日前
JSR株式会社
液晶配向剤、液晶配向膜、液晶素子、重合体及び化合物
2日前
横河電機株式会社
取付具、光学素子組立体、及び共焦点光スキャナ
2日前
株式会社ニコン
光学系および光学機器
1日前
キヤノン株式会社
ズームレンズおよび撮像装置
1日前
キヤノン株式会社
ズームレンズおよび撮像装置
1日前
株式会社ニコン
変倍光学系および光学機器
1日前
キヤノン株式会社
ズームレンズ及びそれを有する撮像装置
1日前
キヤノン株式会社
撮像装置およびその制御方法
1日前
キヤノン株式会社
焦点調節装置及び方法、撮像装置、プログラム、記憶媒体
1日前
日東電工株式会社
偏光子およびその製造方法、ならびに、該偏光子を含む光学積層体および画像表示装置
1日前
ホヤ レンズ タイランド リミテッド
レンズ設計の選択方法、レンズ設計の選択システム、レンズ設計の選択装置
2日前
マジック リープ, インコーポレイテッド
一方向ミラーを伴う光学デバイス
2日前
マジック リープ, インコーポレイテッド
外光管理のためのシステムおよび方法
1日前
他の特許を見る