TOP
|
特許
|
意匠
|
商標
特許ウォッチ
Twitter
他の特許を見る
公開番号
2025141646
公報種別
公開特許公報(A)
公開日
2025-09-29
出願番号
2024041669
出願日
2024-03-15
発明の名称
偏光素子、偏光素子の製造方法および光学機器
出願人
デクセリアルズ株式会社
代理人
個人
主分類
G02B
5/30 20060101AFI20250919BHJP(光学)
要約
【課題】撥水膜の撥油性および耐熱性を両立させることが可能な偏光素子を提供する。
【解決手段】偏光素子10は、透明基板11と、透明基板11の一方の面に使用帯域の光の波長よりも短いピッチで配列されており、所定方向に延在している格子状凸部12とを備える。格子状凸部12は、透明基板11の側から順に、反射層21と、誘電体層22と、吸収層23とを有する。偏光素子10は、格子状凸部12の表面および透明基板11の格子状凸部12が配列されている側の表面に、第1撥水処理剤25aで処理されている領域と、第2撥水処理剤25bで処理されている領域とが不均一に存在している撥水膜25が形成されている。
【選択図】図2
特許請求の範囲
【請求項1】
透明基板と、
前記透明基板の一方の面に使用帯域の光の波長よりも短いピッチで配列されており、所定方向に延在している格子状凸部とを備え、
前記格子状凸部は、前記透明基板の側から順に、反射層と、誘電体層と、吸収層とを有し、
前記格子状凸部の表面および前記透明基板の格子状凸部が配列されている側の表面に、複数の異なる撥水処理剤で処理されている領域が不均一に存在している撥水膜が形成されている、偏光素子。
続きを表示(約 600 文字)
【請求項2】
前記複数の異なる撥水処理剤は、パーフルオロアルキル基を含む第1撥水処理剤と、パーフルオロアルキル基を含まない第2撥水処理剤とを含む、請求項1に記載の偏光素子。
【請求項3】
前記第1撥水処理剤は、トリクロロ(1H,1H,2H,2H-パーフルオロ-n-オクチル)シランであり、
前記第2撥水処理剤は、ジメチルジクロロシランである、請求項2に記載の偏光素子。
【請求項4】
請求項1から3のいずれか一項に記載の偏光素子を製造する方法であって、
前記透明基板の一方の面に、前記透明基板の側から順に、反射層と、誘電体層と、吸収層と、を積層して、積層体を形成する工程と、
前記積層体を選択的にエッチングすることにより、前記格子状凸部を形成する工程と、
前記格子状凸部の表面および前記透明基板の格子状凸部が形成されている側の表面を前記複数の異なる撥水処理剤で処理して前記撥水膜を形成する工程とを含む、偏光素子の製造方法。
【請求項5】
前記格子状凸部の表面および前記透明基板の格子状凸部が形成されている側の表面の一部を前記複数の異なる撥水処理剤で交互に処理して前記撥水膜を形成する、請求項4に記載の偏光素子の製造方法。
【請求項6】
請求項1から3のいずれか一項に記載の偏光素子を備える、光学機器。
発明の詳細な説明
【技術分野】
【0001】
本発明は、偏光素子、偏光素子の製造方法および光学機器に関する。
続きを表示(約 1,300 文字)
【背景技術】
【0002】
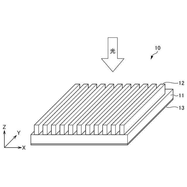
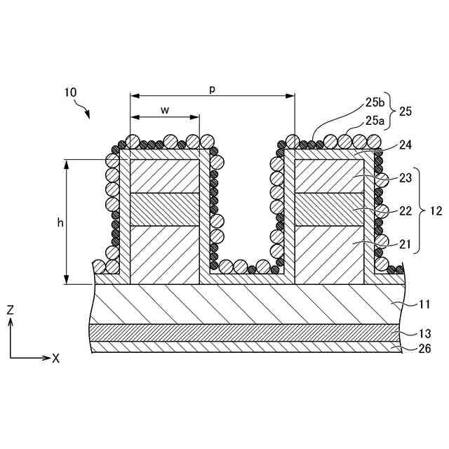
近年、耐熱性が要求される液晶プロジェクタ等の光学機器において、有機偏光素子に代わり、無機偏光素子が採用され始めている。無機偏光素子の中でも、透明基板の側から順に、反射層と、誘電体層と、吸収層とを有する格子状凸部を備えるワイヤグリッド型の偏光素子は、耐熱性が高いため、液晶プロジェクタ用途で多く使用されている。格子状凸部は、透明基板の一方の面に、使用帯域の光の波長よりも短いピッチで配列されており、所定方向に延在している。格子状凸部は、例えば、反射層と、誘電体層と、吸収層とを物理成膜法により形成した後、フォトリソグラフィ法およびドライエッチング法により、選択的にエッチングすることで形成される。
【0003】
一方、偏光素子は、大気中の水分およびゴミが付着してシミが生じることによる、光学特性および外観品質の悪化を回避するために、格子状凸部の表面を覆うように撥水膜が形成されている。ここで、撥水膜は、撥水性に加え、撥油性が求められる。
【0004】
特許文献1には、格子状凸部の表面及び格子状凸部間に形成される溝の底面部の表面に保護膜を形成することが記載されている。ここで、保護膜は、反射層の表面を覆うように形成される第1保護膜と、溝の底面部の表面を覆うように形成され且つ有機膜からなる第2保護膜と、吸収層の表面を覆うように形成され且つ有機膜からなる第3保護膜を有する。
【先行技術文献】
【特許文献】
【0005】
特開2020-64326号公報
【発明の概要】
【発明が解決しようとする課題】
【0006】
ここで、液晶プロジェクタ用途では、撥水膜の耐熱性が求められるが、撥水膜の撥油性および耐熱性を両立させることが困難である。
【0007】
本発明は、撥水膜の撥油性および耐熱性を両立させることが可能な偏光素子を提供することを目的とする。
【課題を解決するための手段】
【0008】
(1)透明基板と、前記透明基板の一方の面に使用帯域の光の波長よりも短いピッチで配列されており、所定方向に延在している格子状凸部とを備え、前記格子状凸部は、前記透明基板の側から順に、反射層と、誘電体層と、吸収層とを有し、前記格子状凸部の表面および前記透明基板の格子状凸部が配列されている側の表面に、複数の異なる撥水処理剤で処理されている領域が不均一に存在している撥水膜が形成されている、偏光素子。
【0009】
(2)前記複数の異なる撥水処理剤は、パーフルオロアルキル基を含む第1撥水処理剤と、パーフルオロアルキル基を含まない第2撥水処理剤とを含む、(1)に記載の偏光素子。
【0010】
(3)前記第1撥水処理剤は、トリクロロ(1H,1H,2H,2H-パーフルオロ-n-オクチル)シランであり、前記第2撥水処理剤は、ジメチルジクロロシランである、(2)に記載の偏光素子。
(【0011】以降は省略されています)
この特許をJ-PlatPat(特許庁公式サイト)で参照する
関連特許
株式会社シグマ
光学系
1か月前
カンタツ株式会社
光学系
23日前
日本精機株式会社
表示装置
28日前
日本精機株式会社
表示装置
1か月前
日本精機株式会社
表示装置
28日前
株式会社シグマ
高倍率ズームレンズ
1か月前
住友化学株式会社
偏光板
1か月前
キヤノン株式会社
映像表示装置
12日前
アイカ工業株式会社
反射防止フィルム
23日前
インターマン株式会社
立体映像表示装置
12日前
瀚宇彩晶股ふん有限公司
表示パネル
1か月前
日本精機株式会社
ヘッドアップディスプレイ
28日前
住友化学株式会社
偏光板
1か月前
沖電気工業株式会社
光導波路素子
28日前
沖電気工業株式会社
光導波路素子
28日前
沖電気工業株式会社
光導波路素子
28日前
個人
透過型及び反射型顕微鏡
12日前
東レ株式会社
プラスチック光ファイバ
22日前
キヤノン株式会社
レンズ装置および撮像装置
今日
キヤノン株式会社
画像表示装置
20日前
レーザーテック株式会社
検査装置及び検査方法
2日前
キヤノン株式会社
表示装置
5日前
キヤノン株式会社
光学系及び撮像装置
6日前
AGC株式会社
光学素子
1か月前
株式会社小糸製作所
画像投影装置
13日前
日本電気株式会社
ケージ、光伝送装置及び挿抜方法
1か月前
日東電工株式会社
光学積層体
13日前
株式会社小糸製作所
画像投影装置
12日前
株式会社小糸製作所
画像生成装置
21日前
日東電工株式会社
光学積層体
26日前
東レ株式会社
先端に凸面を有する光ファイバ
12日前
キヤノン株式会社
光学系および撮像装置
23日前
住友化学株式会社
複合偏光板及び画像表示装置
今日
株式会社JVCケンウッド
液晶表示装置
1か月前
日本電気株式会社
リング共振器、およびその製造方法
28日前
キヤノン株式会社
光学系および撮像装置
1か月前
続きを見る
他の特許を見る