TOP
|
特許
|
意匠
|
商標
特許ウォッチ
Twitter
他の特許を見る
10個以上の画像は省略されています。
公開番号
2025142329
公報種別
公開特許公報(A)
公開日
2025-09-30
出願番号
2025127397,2024036626
出願日
2025-07-30,2022-01-21
発明の名称
光学系および光学機器
出願人
株式会社ニコン
代理人
個人
,
個人
,
個人
,
個人
主分類
G02B
13/00 20060101AFI20250919BHJP(光学)
要約
【課題】合焦の際の収差変動が少ない光学系を提供する。
【解決手段】光学系OLは、光軸に沿って物体側から順に並んだ、第1レンズ群G1と、負の屈折力を有する第1合焦レンズ群GF1と、正の屈折力を有する第2合焦レンズ群GF2とを有し、合焦の際、第1合焦レンズ群GF1と第2合焦レンズ群GF2とが互いに異なる軌跡で光軸に沿って移動し、以下の条件式を満足する。
f1/|f1R|<1.00
但し、f1:第1レンズ群G1の焦点距離
f1R:無限遠合焦状態における第1レンズ群G1よりも像側に配置されたレンズ群の合成焦点距離
【選択図】図1
特許請求の範囲
【請求項1】
光軸に沿って物体側から順に並んだ、第1レンズ群と、負の屈折力を有する第1合焦レンズ群と、正の屈折力を有する第2合焦レンズ群とを有し、
合焦の際、前記第1合焦レンズ群と前記第2合焦レンズ群とが互いに異なる軌跡で光軸に沿って移動し、
以下の条件式を満足する光学系。
f1/|f1R|<1.00
但し、f1:前記第1レンズ群の焦点距離
f1R:無限遠合焦状態における前記第1レンズ群よりも像側に配置されたレンズ群の合成焦点距離
続きを表示(約 1,000 文字)
【請求項2】
光軸に沿って物体側から順に並んだ、第1レンズ群と、開口絞りと、第1合焦レンズ群と、第2合焦レンズ群とを有し、
合焦の際、前記第1合焦レンズ群と前記第2合焦レンズ群とが互いに異なる軌跡で光軸に沿って移動し、
前記第1合焦レンズ群は、少なくとも2つの負レンズを有する光学系。
【請求項3】
前記第1合焦レンズ群よりも物体側に配置された開口絞りをさらに有する請求項1に記載の光学系。
【請求項4】
前記第1合焦レンズ群が負の屈折力を有し、前記第2合焦レンズ群が正の屈折力を有する請求項2に記載の光学系。
【請求項5】
以下の条件式を満足する請求項1、および請求項4のいずれか一項に記載の光学系。
0.68<(-fF1)/fF2<3.60
但し、fF1:前記第1合焦レンズ群の焦点距離
fF2:前記第2合焦レンズ群の焦点距離
【請求項6】
前記第2合焦レンズ群よりも像側に配置された負の屈折力を有する後続レンズ群をさらに有し、
以下の条件式を満足する請求項1または2に記載の光学系。
0.60<fF2/(-fR)<1.10
但し、fF2:前記第2合焦レンズ群の焦点距離
fR:前記後続レンズ群の焦点距離
【請求項7】
以下の条件式を満足する請求項2に記載の光学系。
f1/|f1R|<1.00
但し、f1:前記第1レンズ群の焦点距離
f1R:無限遠合焦状態における前記第1レンズ群よりも像側に配置されたレンズ群の合成焦点距離
【請求項8】
前記後続レンズ群は、少なくとも2つのレンズ成分を有する請求項6に記載の光学系。
【請求項9】
以下の条件式を満足する請求項2~4、および請求項7のいずれか一項に記載の光学系。
0.50<Lre/Lfr<4.00
但し、Lfr:前記光学系の最も物体側のレンズ面から前記開口絞りまでの光軸上の距離
Lre:前記開口絞りから像面までの光軸上の距離
【請求項10】
以下の条件式を満足する請求項1~9のいずれか一項に記載の光学系。
0.45<f1/(-fF1)<2.50
但し、f1:前記第1レンズ群の焦点距離
fF1:前記第1合焦レンズ群の焦点距離
(【請求項11】以降は省略されています)
発明の詳細な説明
【技術分野】
【0001】
本発明は、光学系および光学機器に関する。
続きを表示(約 2,000 文字)
【背景技術】
【0002】
従来から、写真用カメラ、電子スチルカメラ、ビデオカメラ等に適した光学系が提案されている(例えば、特許文献1を参照)。このような光学系においては、合焦の際の収差変動を抑えることが難しい。
【先行技術文献】
【特許文献】
【0003】
特開2018-5099号公報
【発明の概要】
【0004】
第1の本発明に係る光学系は、光軸に沿って物体側から順に並んだ、第1レンズ群と、負の屈折力を有する第1合焦レンズ群と、正の屈折力を有する第2合焦レンズ群と、負の屈折力を有する後続レンズ群とを有し、合焦の際、前記第1合焦レンズ群と前記第2合焦レンズ群とが互いに異なる軌跡で光軸に沿って移動し、前記第1合焦レンズ群よりも物体側に配置された開口絞りをさらに有し、以下の条件式を満足する。
0.60<fF2/(-fR)<1.10
但し、fF2:前記第2合焦レンズ群の焦点距離
fR:前記後続レンズ群の焦点距離
【0005】
第2の本発明に係る光学系は、光軸に沿って物体側から順に並んだ、第1レンズ群と、負の屈折力を有する第1合焦レンズ群と、正の屈折力を有する第2合焦レンズ群とを有し、合焦の際、前記第1合焦レンズ群と前記第2合焦レンズ群とが互いに異なる軌跡で光軸に沿って移動し、以下の条件式を満足する。
f1/|f1R|<1.00
但し、f1:前記第1レンズ群の焦点距離
f1R:無限遠合焦状態における前記第1レンズ群よりも像側に配置されたレンズ群の合成焦点距離
【0006】
第3の本発明に係る光学系は、光軸に沿って物体側から順に並んだ、第1レンズ群と、開口絞りと、第1合焦レンズ群と、第2合焦レンズ群とを有し、合焦の際、前記第1合焦レンズ群と前記第2合焦レンズ群とが互いに異なる軌跡で光軸に沿って移動し、前記第1合焦レンズ群は、少なくとも2つの負レンズを有する。
【0007】
本発明に係る光学機器は、上記光学系を備えて構成される。
【図面の簡単な説明】
【0008】
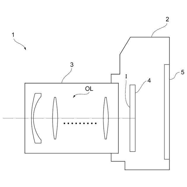
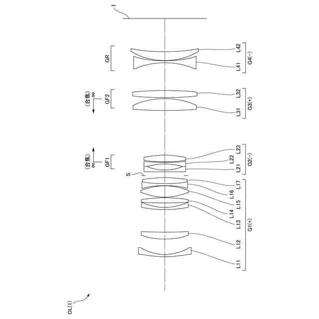
第1実施例に係る光学系のレンズ構成を示す図である。
図2(A)、図2(B)はそれぞれ、第1実施例に係る光学系の無限遠合焦時、近距離合焦時の諸収差図である。
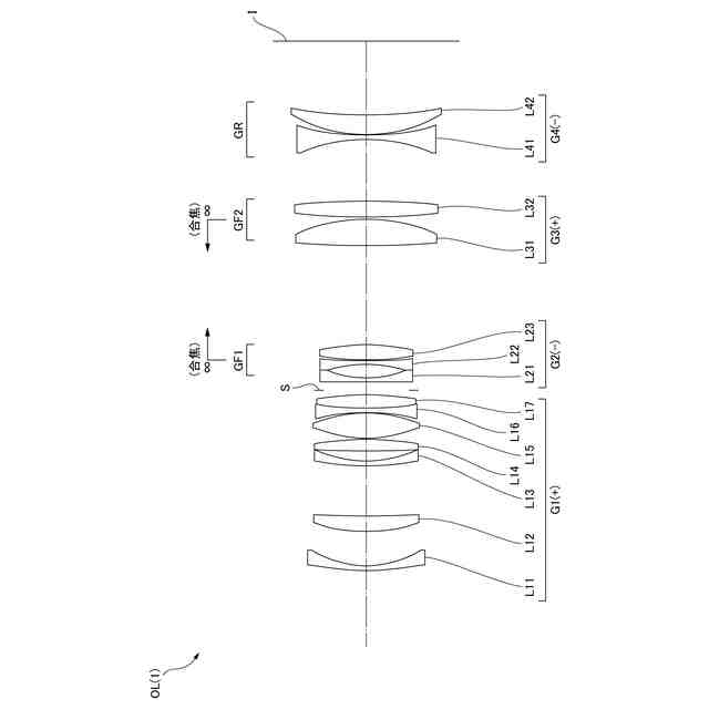
第2実施例に係る光学系のレンズ構成を示す図である。
図4(A)、図4(B)はそれぞれ、第2実施例に係る光学系の無限遠合焦時、近距離合焦時の諸収差図である。
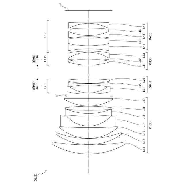
第3実施例に係る光学系のレンズ構成を示す図である。
図6(A)、図6(B)はそれぞれ、第3実施例に係る光学系の無限遠合焦時、近距離合焦時の諸収差図である。
各実施形態に係る光学系を備えたカメラの構成を示す図である。
第1実施形態に係る光学系の製造方法を示すフローチャートである。
第2実施形態に係る光学系の製造方法を示すフローチャートである。
第3実施形態に係る光学系の製造方法を示すフローチャートである。
第4実施形態に係る光学系の製造方法を示すフローチャートである。
【発明を実施するための形態】
【0009】
以下、本発明に係る好ましい実施形態について説明する。まず、各実施形態に係る光学系を備えたカメラ(光学機器)を図7に基づいて説明する。このカメラ1は、図7に示すように、本体2と、本体2に装着される撮影レンズ3により構成される。本体2は、撮像素子4と、デジタルカメラの動作を制御する本体制御部(不図示)と、液晶画面5とを備える。撮影レンズ3は、複数のレンズ群からなる光学系OLと、各レンズ群の位置を制御するレンズ位置制御機構(不図示)とを備える。レンズ位置制御機構は、レンズ群の位置を検出するセンサと、レンズ群を光軸に沿って前後に移動させるモータと、モータを駆動する制御回路などにより構成される。
【0010】
被写体からの光は、撮影レンズ3の光学系OLにより集光されて、撮像素子4の像面I上に到達する。像面Iに到達した被写体からの光は、撮像素子4により光電変換され、デジタル画像データとして不図示のメモリに記録される。メモリに記録されたデジタル画像データは、ユーザの操作に応じて液晶画面5に表示することが可能である。なお、このカメラは、ミラーレスカメラでも、クイックリターンミラーを有した一眼レフタイプのカメラであっても良い。また、図7に示す光学系OLは、撮影レンズ3に備えられる光学系を模式的に示したものであり、光学系OLのレンズ構成はこの構成に限定されるものではない。
(【0011】以降は省略されています)
この特許をJ-PlatPat(特許庁公式サイト)で参照する
関連特許
株式会社ニコン
撮像素子および撮像装置
9日前
株式会社ニコン
顕微鏡、方法、及びプログラム
19日前
株式会社ニコンビジョン
観察光学系、光学機器、および観察光学系の製造方法
7日前
株式会社ニコン
変倍光学系、光学機器、および変倍光学系の製造方法
19日前
株式会社ニコン
変倍光学系、光学機器、および変倍光学系の製造方法
19日前
株式会社ニコン
変倍光学系、光学機器、および変倍光学系の製造方法
19日前
株式会社ニコン
撮像装置
9日前
株式会社ニコン
撮像素子
5日前
株式会社ニコン
交換レンズ
9日前
株式会社ニコン
光学系および光学機器
8日前
株式会社ニコン
撮像素子及び撮像装置
5日前
株式会社ニコン
撮像素子及び撮像装置
2日前
株式会社ニコン
カバー装置及び撮像装置
13日前
株式会社ニコン
レンズ鏡筒及び撮像装置
19日前
株式会社ニコン
変倍光学系および光学機器
7日前
株式会社ニコン
変倍光学系および光学機器
8日前
株式会社ニコン
固体撮像素子及び撮像装置
8日前
株式会社ニコン
撮像ユニットおよび撮像装置
2日前
株式会社ニコン
パルス光生成装置、パルス光生成方法及び加工装置
13日前
株式会社ニコン
変倍光学系、光学機器、および変倍光学系の製造方法
2日前
株式会社ニコン
画像処理方法、画像処理装置、及び画像処理プログラム
2日前
株式会社ニコン
診断支援装置、学習装置、診断支援方法、学習方法及びプログラム
13日前
東レ株式会社
積層フィルム
今日
キヤノン株式会社
映像表示装置
19日前
アイカ工業株式会社
反射防止フィルム
6日前
スタンレー電気株式会社
照明装置
1日前
インターマン株式会社
立体映像表示装置
19日前
旭化成株式会社
成形体
5日前
個人
透過型及び反射型顕微鏡
19日前
日本分光株式会社
赤外顕微鏡
5日前
旭化成株式会社
成形体
5日前
キヤノン株式会社
画像表示装置
5日前
キヤノン株式会社
画像表示装置
27日前
キヤノン株式会社
レンズ装置および撮像装置
7日前
東レ株式会社
プラスチック光ファイバ
29日前
レーザーテック株式会社
検査装置及び検査方法
9日前
続きを見る
他の特許を見る