TOP
|
特許
|
意匠
|
商標
特許ウォッチ
Twitter
他の特許を見る
10個以上の画像は省略されています。
公開番号
2025142267
公報種別
公開特許公報(A)
公開日
2025-09-30
出願番号
2025125311,2021093426
出願日
2025-07-28,2021-06-03
発明の名称
ズームレンズおよび撮像装置
出願人
キヤノン株式会社
代理人
個人
,
個人
,
個人
主分類
G02B
15/16 20060101AFI20250919BHJP(光学)
要約
【課題】エクステンダー群を挿入可能であって、小型で高性能なズームレンズを提供する。
【解決手段】物体側から像側へ順に配置された、正の屈折力の第1レンズ群、負の屈折力の第2レンズ群、正の屈折力の第3レンズ群、負の屈折力の第4レンズ群、正の屈折力の第5レンズ群を有し、ズーミングに際して隣り合うレンズ群の間隔が変化するズームレンズであって、光路に挿抜されることでズームレンズの焦点距離を変化させるエクステンダー群を更に有し、第1レンズ群の焦点距離f1、ズームレンズの望遠端における焦点距離ft、望遠端における無限遠合焦時の最も像側の最終レンズ群から最終レンズ群に隣接するレンズ群までの光軸上での距離D、望遠端における無限遠合焦時の最も物体側のレンズ面から像面までの光軸上での距離TL、第3レンズ群の焦点距離f3、第4レンズの焦点距離f4は、所定の条件式を満足する。
【選択図】図1
特許請求の範囲
【請求項1】
物体側から像側へ順に配置された、正の屈折力の第1レンズ群、負の屈折力の第2レンズ群、正の屈折力の第3レンズ群、負の屈折力の第4レンズ群、エクステンダー群、正の屈折力の第5レンズ群からなり、ズーミングに際して隣り合うレンズ群の間隔が変化するズームレンズであって、
前記エクステンダー群が光路に挿抜されることで前記ズームレンズの焦点距離は変化し、
前記第2レンズ群は、少なくとも4枚のレンズを有し、
前記エクステンダー群は、接合レンズを有し、
前記第1レンズ群の焦点距離をf1、前記ズームレンズの望遠端における焦点距離をft、望遠端における無限遠合焦時の前記第5レンズ群から前記第4レンズ
群
までの光軸上での距離をD、望遠端における無限遠合焦時の最も物体側のレンズ面から像面までの光軸上での距離をTL、前記第3レンズ群の焦点距離をf3、前記第4レンズ群の焦点距離をf4とするとき、
0.60<f1/ft<1.50
-3.90<f1/f2<-1.00
0.10<D/TL<0.30
-5.00<f3/f4<-1.00
なる条件式を満足することを特徴とするズームレンズ。
続きを表示(約 650 文字)
【請求項2】
ズーミングに際して前記第5レンズ群は不動であることを特徴とする請求項1に記載のズームレンズ。
【請求項3】
-0.50<f4/ft<-0.05
なる条件式を満足することを特徴とする請求項1または2に記載のズームレンズ。
【請求項4】
前記第5レンズ群は、少なくとも一枚の正レンズと少なくとも一枚の負レンズからなることを特徴とする請求項1乃至3のいずれか一項に記載のズームレンズ。
【請求項5】
前記第5レンズ群は、正レンズ及び負レンズが接合されてなる接合レンズと、該接合レンズの像側に配置された負レンズとからなることを特徴とする請求項1乃至4のいずれか一項に記載のズームレンズ。
【請求項6】
0.10<f5/ft<2.00
なる条件式を満足することを特徴とする請求項1乃至5のいずれか一項に記載のズームレンズ。
【請求項7】
フォーカシングに際して前記第4レンズ群が移動することを特徴とする請求項1乃至6のいずれか一項に記載のズームレンズ。
【請求項8】
広角端から望遠端へのズーミングに際して、前記第2レンズ群が像側へ移動することを特徴とする請求項1乃至7のいずれか一項に記載のズームレンズ。
【請求項9】
請求項1乃至8のいずれか一項に記載のズームレンズと、該ズームレンズによって形成された像を受光する撮像素子とを有することを特徴とする撮像装置。
発明の詳細な説明
【技術分野】
【0001】
本発明は、ズームレンズおよび撮像装置に関する。
続きを表示(約 1,800 文字)
【背景技術】
【0002】
特許文献1および特許文献2には、望遠端側の焦点距離を伸ばすための倍率変換光学群(エクステンダー群)を挿抜可能な光学系(望遠レンズ)が開示されている。
【先行技術文献】
【特許文献】
【0003】
特許第5409841号公報
特開2019-120771号公報
【発明の概要】
【発明が解決しようとする課題】
【0004】
特許文献1および特許文献2に開示された光学系では、小型化を目的として絞りよりも像側にエクステンダーが設けられている。この場合、絞りよりも像側のレンズ群間隔を広く確保する必要があるため、フォーカスレンズ群を絞りよりも物体側に配置する必要がある。フォーカスレンズ群を絞りよりも物体側に配置すると、フォーカスレンズ群の径が望遠端におけるFno光束径により決定されるために大径化して重くなり、高速駆動を実現できない。
【0005】
そこで本発明は、エクステンダー群を挿入可能であって、小型で高性能なズームレンズおよび撮像装置を提供することを目的とする。
【課題を解決するための手段】
【0006】
本発明の一側面としてのズームレンズは、物体側から像側へ順に配置された、正の屈折力の第1レンズ群、負の屈折力の第2レンズ群、正の屈折力の第3レンズ群、負の屈折力の第4レンズ群、エクステンダー群、正の屈折力の第5レンズ群からなり、ズーミングに際して隣り合うレンズ群の間隔が変化するズームレンズであって、前記エクステンダー群が光路に挿抜されることで前記ズームレンズの焦点距離は変化し、前記第2レンズ群は、少なくとも4枚のレンズを有し、前記エクステンダー群は、接合レンズを有し、前記第1レンズ群において最も物体側に配置されたレンズは、正の屈折力を有し、前記第1レンズ群の焦点距離f1、前記ズームレンズの望遠端における焦点距離ft、望遠端における無限遠合焦時の前記第5レンズ群から前記第4レンズ群までの光軸上での距離D、望遠端における無限遠合焦時の最も物体側のレンズ面から像面までの光軸上での距離TL、前記第3レンズ群の焦点距離f3、前記第4レンズ群の焦点距離f4は、所定の条件式を満足する。
【0007】
本発明の他の目的及び特徴は、以下の実施例において説明される。
【発明の効果】
【0008】
本発明によれば、エクステンダー群を挿入可能であって、小型で高性能なズームレンズおよび撮像装置を提供することができる。
【図面の簡単な説明】
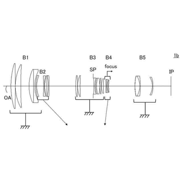
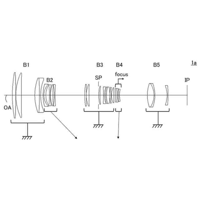
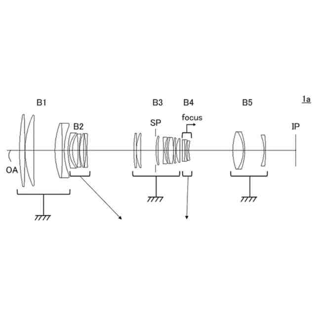
【0009】
実施例1における広角端での断面図である。
実施例1における(a)広角端、(b)中間ズーム位置、(c)望遠橋での収差図である。
実施例2における広角端での断面図である。
実施例2における(a)広角端、(b)中間ズーム位置、(c)望遠橋での収差図である。
実施例3における広角端での断面図である。
実施例3における(a)広角端、(b)中間ズーム位置、(c)望遠橋での収差図である。
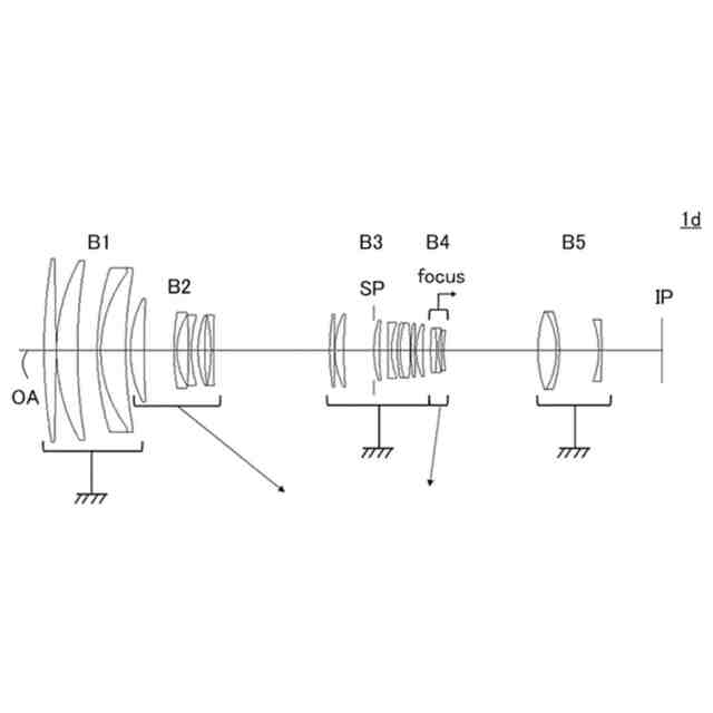
実施例4における広角端での断面図である。
実施例4における(a)広角端、(b)中間ズーム位置、(c)望遠橋での収差図である。
実施例5における広角端での断面図である。
実施例5における(a)広角端、(b)中間ズーム位置、(c)望遠橋での収差図である。
実施例6における広角端での断面図である。
実施例6における(a)広角端、(b)中間ズーム位置、(c)望遠橋での収差図である。
実施例1-2における広角端での断面図である。
実施例3-2における広角端での断面図である。
実施例4-2における広角端での断面図である。
実施例5-2における広角端での断面図である。
実施例6-2における広角端での断面図である。
各実施例における光学系を備えた撮像装置の概略図である。
【発明を実施するための形態】
【0010】
以下、本発明の実施例について、図面を参照しながら詳細に説明する。
(【0011】以降は省略されています)
この特許をJ-PlatPat(特許庁公式サイト)で参照する
関連特許
キヤノン株式会社
トナー
29日前
キヤノン株式会社
光学装置
26日前
キヤノン株式会社
記録装置
14日前
キヤノン株式会社
電子機器
6日前
キヤノン株式会社
定着装置
6日前
キヤノン株式会社
撮像装置
26日前
キヤノン株式会社
光学機器
1か月前
キヤノン株式会社
収容装置
6日前
キヤノン株式会社
撮像装置
1か月前
キヤノン株式会社
発光装置
1か月前
キヤノン株式会社
発光装置
5日前
キヤノン株式会社
表示装置
5日前
キヤノン株式会社
撮像装置
6日前
キヤノン株式会社
電子機器
23日前
キヤノン株式会社
定着装置
21日前
キヤノン株式会社
定着装置
21日前
キヤノン株式会社
電子機器
14日前
キヤノン株式会社
定着装置
21日前
キヤノン株式会社
電子機器
2日前
キヤノン株式会社
撮像装置
14日前
キヤノン株式会社
電子機器
6日前
キヤノン株式会社
電子機器
1か月前
キヤノン株式会社
撮像装置
1か月前
キヤノン株式会社
撮像装置
23日前
キヤノン株式会社
電子機器
21日前
キヤノン株式会社
撮像装置
12日前
キヤノン株式会社
記録装置
13日前
キヤノン株式会社
電子機器
29日前
キヤノン株式会社
撮像装置
13日前
キヤノン株式会社
電子機器
今日
キヤノン株式会社
定着装置
12日前
キヤノン株式会社
撮像装置
1か月前
キヤノン株式会社
電子機器
26日前
キヤノン株式会社
現像装置
29日前
キヤノン株式会社
半導体装置
今日
キヤノン株式会社
容器構造体
1か月前
続きを見る
他の特許を見る