TOP
|
特許
|
意匠
|
商標
特許ウォッチ
Twitter
他の特許を見る
10個以上の画像は省略されています。
公開番号
2025142029
公報種別
公開特許公報(A)
公開日
2025-09-29
出願番号
2025119040,2024097978
出願日
2025-07-15,2021-03-24
発明の名称
一方向ミラーを伴う光学デバイス
出願人
マジック リープ, インコーポレイテッド
,
Magic Leap,Inc.
代理人
個人
,
個人
,
個人
,
個人
,
個人
主分類
G02B
27/02 20060101AFI20250919BHJP(光学)
要約
【課題】好適な一方向ミラーを伴う光学デバイスを提供すること。
【解決手段】いくつかの実装では、光学デバイスは、偏光選択的ミラーと、吸収性偏光器とによって形成された一方向ミラーを含む。吸収性偏光器は、反射性偏光器の透過軸と整列させられた透過軸を有する。一方向ミラーは、頭部搭載型ディスプレイシステムの世界側に提供され得る。有利なこととして、一方向ミラーは、世界からの光を反射し得、プライバシを提供し、ディスプレイの審美性を改良し得る。いくつかの実装では、一方向ミラーは、デポラライザおよび一対の対向波長板のうちの1つ以上を含み、整列許容誤差を改良し、視認者への反射を低減させる。いくつかの実装では、一方向ミラーは、世界から視認者に透過させられる光を低減させるための調光器を伴うコンパクトな統合された構造を形成し得る。
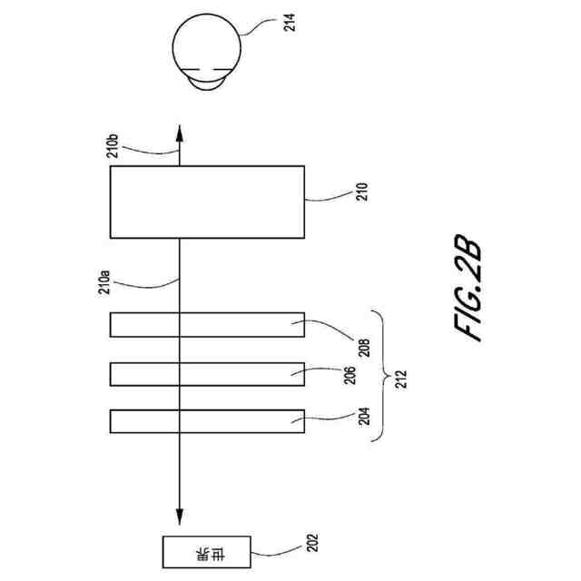
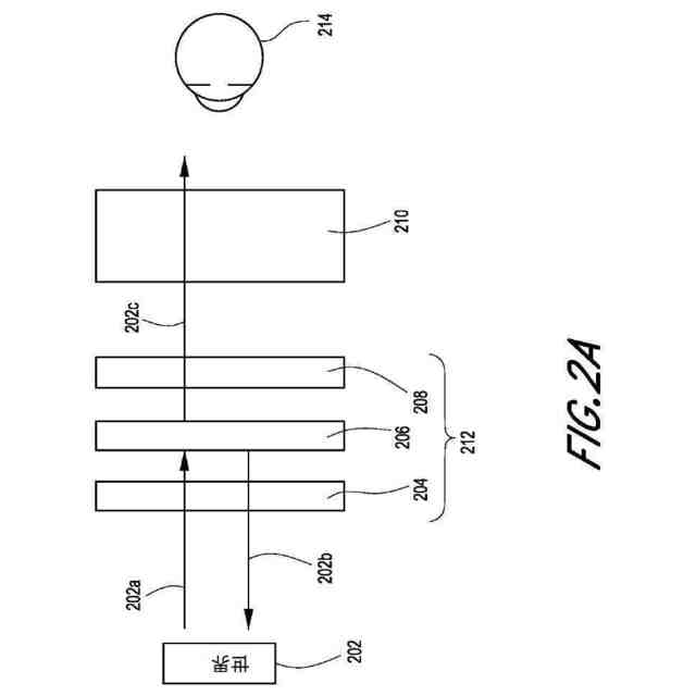
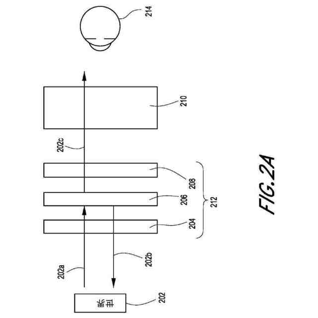
【選択図】図2A
特許請求の範囲
【請求項1】
本明細書に記載の発明。
発明の詳細な説明
【技術分野】
【0001】
(優先権の主張)
本願は、あらゆる目的のために、参照することによってその全体として本明細書に組み込まれる2020年3月25日に出願された米国仮出願第62/994,739号の優先権を主張する。
(参照による組み込み)
続きを表示(約 1,900 文字)
【0002】
本願は、参照することによって、以下の各々の全体を組み込む:「Method and System for Display Device with Integrated Polarizer」と題され、2018年8月16日に公開された米国特許公開第2018/0234675号、「Eyepieces for Augmented Reality Display System」と題され、2019年6月20日号に公開された米国特許公開第2019/0187474A1号、および「Diffractive Devices Based on Cholesteric Liquid Crystal」と題され、2018年6月14日に公開された米国特許公開第2018/0164627号。
(技術分野)
【0003】
本開示は、一方向ミラーを有する拡張現実ディスプレイデバイス等の一方向ミラーを含む光学デバイスに関する。
【背景技術】
【0004】
現代のコンピューティングおよびディスプレイ技術は、いわゆる「拡張現実」体験のためのシステムの開発を促進しており、デジタル的に再現された画像またはその一部が現実であるように見える様式で、またはそのように知覚され得る様式で、ユーザに提示される。拡張現実または「AR」シナリオは、典型的に、ユーザの周囲の実際の世界の可視化に対する拡張としてのデジタルまたは仮想画像情報の提示を伴う。複合現実または「MR」シナリオは、一種のARシナリオであり、典型的に、自然世界の中に統合され、それに応答する仮想オブジェクトを伴う。例えば、MRシナリオは、実世界内のオブジェクトによってブロックされて見えるAR画像コンテンツ、またはそうでなければそれと相互作用するように知覚されるAR画像コンテンツを含み得る。
【0005】
図1Aを参照すると、拡張現実場面10が描写されており、AR技術のユーザは、人々、木々、背景における建物、コンクリートプラットフォーム30を特徴とする、実世界公園状設定20を見ている。これらのアイテムに加えて、AR技術のユーザは、実世界プラットフォーム30上に立っているロボット像40と、マルハナバチの擬人化のように見える、飛んでいる漫画のようなアバタキャラクタ50等の「仮想コンテンツ」も「見ている」と知覚するが、これらの要素40、50は、実世界には存在しない。ヒトの視知覚系は、複雑であり、他の仮想または実世界画像要素の中で仮想画像要素の快適で、自然な感覚で、かつ豊かな提示を促進する、AR技術を生産することは、困難である。
【0006】
本明細書に開示されるシステムおよび方法は、とりわけ、AR技術に関連する種々の課題に対処する。
【発明の概要】
【課題を解決するための手段】
【0007】
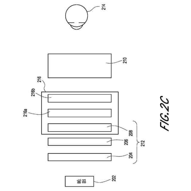
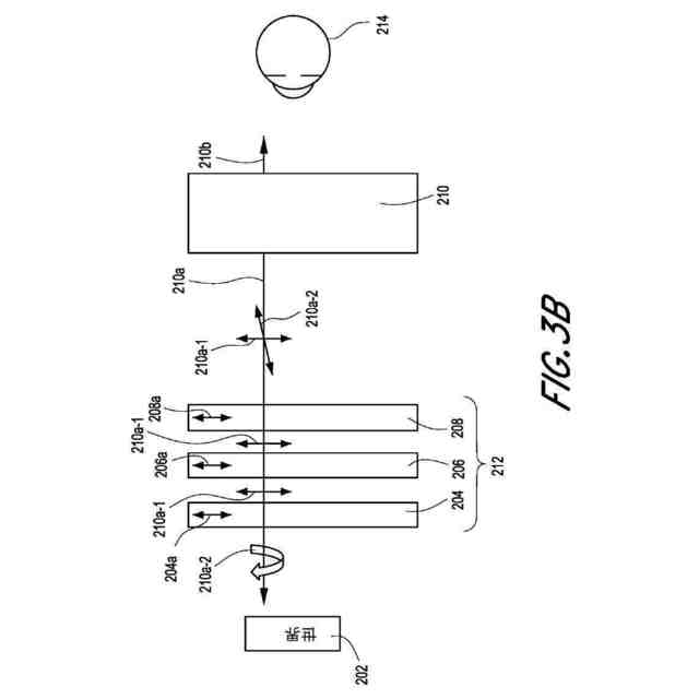
いくつかの実装では、光学デバイスは、一方向ミラーを備えている。一方向ミラーは、デポラライザ(depolarizer)と、デポラライザからの光を受け取るように向けられ、透過軸を有する偏光選択的ミラーと、偏光選択的ミラーからの光を受け取るように向けられ、偏光選択的ミラーの透過軸と整列させられた透過軸を有する吸収性偏光器とを備えている。偏光選択的ミラーは、デポラライザと吸収性偏光器との間に配置される。
【0008】
いくつかの他の実装では、光学デバイスは、一方向ミラーを備えている。一方向ミラーは、コレステリック液晶反射性偏光器と、コレステリック液晶反射性偏光器を透過させられる光を受け取るように構成された円偏光器とを備えている。
【0009】
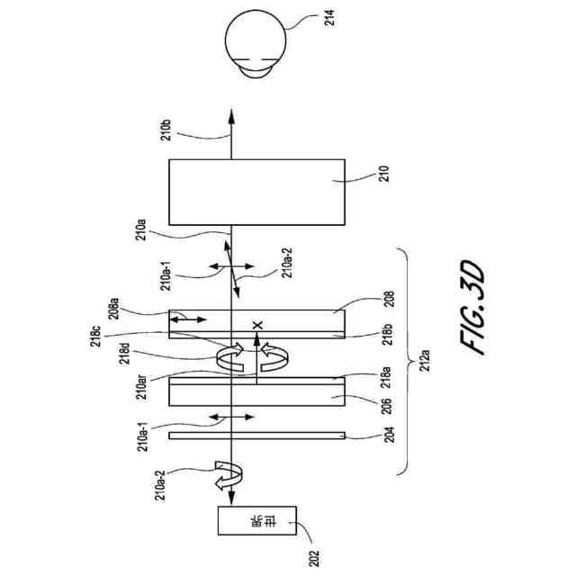
さらに他の実装では、光学デバイスは、一方向ミラー式調光器を備えている。一方向ミラー式調光器は、透過軸を有する偏光選択的ミラーと、偏光選択的ミラーの後方にあり、偏光選択的ミラーの透過軸と整列させられた透過軸を有する吸収性偏光器と、吸収性偏光器の後方にある切り替え可能な液晶要素のアレイと、切り替え可能な液晶要素のアレイの後方にあり、吸収性偏光器の透過軸と整列させられた透過軸を有する偏光器とを備えている。
【0010】
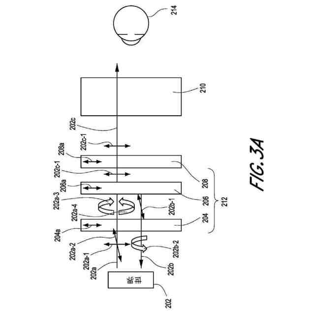
いくつかの他の実装では、光学デバイスは、透過軸を有する偏光選択的ミラーと、偏光選択的ミラーの透過軸と整列させられた透過軸を有する吸収性偏光器と、偏光選択的ミラーと吸収性偏光器との間の1つ以上の位相差板とを備えている。
(【0011】以降は省略されています)
この特許をJ-PlatPat(特許庁公式サイト)で参照する
関連特許
カンタツ株式会社
光学系
23日前
キヤノン株式会社
映像表示装置
12日前
アイカ工業株式会社
反射防止フィルム
23日前
インターマン株式会社
立体映像表示装置
12日前
個人
透過型及び反射型顕微鏡
12日前
キヤノン株式会社
画像表示装置
20日前
東レ株式会社
プラスチック光ファイバ
22日前
キヤノン株式会社
レンズ装置および撮像装置
今日
レーザーテック株式会社
検査装置及び検査方法
2日前
キヤノン株式会社
表示装置
5日前
日東電工株式会社
光学積層体
13日前
株式会社小糸製作所
画像生成装置
21日前
東レ株式会社
先端に凸面を有する光ファイバ
12日前
キヤノン株式会社
光学系及び撮像装置
6日前
日東電工株式会社
光学積層体
26日前
株式会社小糸製作所
画像投影装置
13日前
株式会社小糸製作所
画像投影装置
12日前
セイコーエプソン株式会社
虚像表示装置
2日前
KDDI株式会社
光増幅器
12日前
住友化学株式会社
複合偏光板及び画像表示装置
今日
キヤノン株式会社
光学系および撮像装置
23日前
KDDI株式会社
光増幅器
12日前
レーザーテック株式会社
波長変換装置及び波長変換方法
6日前
株式会社キーエンス
観察装置
22日前
遠視界科技股分有限公司
高視野角拡大装置
14日前
瀚宇彩晶股ふん有限公司
表示パネル
26日前
国立大学法人徳島大学
マイクロコム制御装置
26日前
株式会社フォトニックラティス
透過型光学顕微鏡
6日前
TOPPANホールディングス株式会社
調光シート
14日前
TOPPANホールディングス株式会社
調光シート
14日前
キヤノン株式会社
映像表示装置
2日前
日本碍子株式会社
導波素子の製造方法
5日前
富士フイルム株式会社
レンズ装置
2日前
大日本印刷株式会社
レンズアレイ及び表示装置
22日前
国立大学法人徳島大学
マイクロ光共振器、及び光周波数コム発生装置
12日前
日東電工株式会社
偏光フィルム
20日前
続きを見る
他の特許を見る