TOP
|
特許
|
意匠
|
商標
特許ウォッチ
Twitter
他の特許を見る
公開番号
2025141391
公報種別
公開特許公報(A)
公開日
2025-09-29
出願番号
2024041296
出願日
2024-03-15
発明の名称
光学フィルムおよびバックライト装置
出願人
日東電工株式会社
代理人
弁理士法人籾井特許事務所
主分類
G02B
5/20 20060101AFI20250919BHJP(光学)
要約
【課題】本発明は、色変換素子を透過した光における斜め方向から見た場合の色付きを抑制し得る光学フィルムの提供を主たる目的とする。
【解決手段】高分子マトリクスと、前記高分子マトリクス中に分散し、重合性液晶成分の重合生成物および二色性色素を含む分散粒子と、を含む、色素分散層を有し、前記色素分散層の少なくとも一部の領域において、前記重合生成物および前記二色性色素が、所定の方向に配向しており、前記少なくとも一部の領域に入射角60°で入射した光の吸収スペクトルが、波長340nm~800nmの範囲に吸収極大波長を有し、前記少なくとも一部の領域に入射角60°で入射した前記吸収極大波長の光の吸光度は、入射角0°で入射した前記吸収極大波長の光の吸光度よりも大きい、光学フィルム。
【選択図】図2
特許請求の範囲
【請求項1】
高分子マトリクスと、前記高分子マトリクス中に分散し、重合性液晶成分の重合生成物および二色性色素を含む分散粒子と、を含む、色素分散層を有し、
前記色素分散層の少なくとも一部の領域において、前記重合生成物および前記二色性色素が、所定の方向に配向しており、
前記少なくとも一部の領域に入射角60°で入射した光の吸収スペクトルが、波長340nm~800nmの範囲に吸収極大波長を有し、
前記少なくとも一部の領域に入射角60°で入射した前記吸収極大波長の光の吸光度は、入射角0°で入射した前記吸収極大波長の光の吸光度よりも大きい、
光学フィルム。
続きを表示(約 640 文字)
【請求項2】
前記分散粒子の平均粒子径が、1μm以下である、請求項1に記載の光学フィルム。
【請求項3】
前記分散粒子の平均粒子径が、300nm以下である、請求項1に記載の光学フィルム。
【請求項4】
前記分散粒子が、非重合性液晶成分をさらに含む、請求項1に記載の光学フィルム。
【請求項5】
前記色素分散層の前記少なくとも一部の領域における前記二色性色素の含有割合が、前記重合生成物および前記非重合性液晶成分の合計含有量に対して、0.1重量%~10重量%である、請求項4に記載の光学フィルム。
【請求項6】
前記色素分散層の厚みが、3μm~30μmである、請求項1に記載の光学フィルム。
【請求項7】
前記色素分散層の片側または両側に配置された支持基材をさらに有する、請求項1に記載の光学フィルム。
【請求項8】
前記少なくとも一部の領域に入射角0°で入射した光の全光線透過率が、50%以上である、請求項1に記載の光学フィルム。
【請求項9】
前記少なくとも一部の領域に入射角0°で入射した光のヘイズが、5%以下である、請求項1に記載の光学フィルム。
【請求項10】
前記少なくとも一部の領域に入射角60°で入射した前記吸収極大波長の光の吸光度が0.12以上である、請求項1に記載の光学フィルム。
(【請求項11】以降は省略されています)
発明の詳細な説明
【技術分野】
【0001】
本発明は、光学フィルムおよびバックライト装置に関する。
続きを表示(約 2,800 文字)
【背景技術】
【0002】
有機EL表示装置、液晶表示装置等の画像表示装置においては、しばしば、色変換方式によるマルチカラー化技術が適用されている。例えば、青色発光を緑色発光または赤色発光に変換する色変換素子を青色光源と組み合わせて、青色光源から、青、緑、赤の3原色を取り出すことにより、フルカラー表示や白色光の取り出しが可能となる(例えば、特許文献1)。
【0003】
しかしながら、色変換素子を透過した光には、特に斜め方向から見た場合に、所望でない色付きが生じる場合がある。
【先行技術文献】
【特許文献】
【0004】
WO2019/146332A1
【発明の概要】
【発明が解決しようとする課題】
【0005】
本発明は、色変換素子等を透過した光における斜め方向から見た場合の色付きを抑制し得る光学フィルムの提供を主たる目的とする。
【課題を解決するための手段】
【0006】
[1]本発明の1つの局面によれば、高分子マトリクスと、上記高分子マトリクス中に分散し、重合性液晶成分の重合生成物および二色性色素を含む分散粒子と、を含む、色素分散層を有し、上記色素分散層の少なくとも一部の領域において、上記重合生成物および上記二色性色素が、所定の方向に配向しており、上記少なくとも一部の領域に入射角60°で入射した光の吸収スペクトルが、波長340nm~800nmの範囲に吸収極大波長を有し、上記少なくとも一部の領域に入射角60°で入射した上記吸収極大波長の光の吸光度は、入射角0°で入射した上記吸収極大波長の光の吸光度よりも大きい、光学フィルムが提供される。
[2]上記[1]に記載の光学フィルムにおいて、上記分散粒子の平均粒子径が、1μm以下であってよい。
[3]上記[1]または[2]に記載の光学フィルムにおいて、上記分散粒子の平均粒子径が、300nm以下であってよい。
[4]上記[1]から[3]のいずれかに記載の光学フィルムにおいて、上記分散粒子が、非重合性液晶成分をさらに含んでよい。
[5]上記[4]に記載の光学フィルムにおいて、上記色素分散層の上記少なくとも一部の領域における上記二色性色素の含有割合が、上記重合生成物および上記非重合性液晶成分の合計含有量に対して、0.1重量%~10重量%であってよい。
[6]上記[1]から[5]のいずれかに記載の光学フィルムにおいて、上記色素分散層の厚みが、3μm~30μmであってよい。
[7]上記[1]から[6]のいずれかに記載の光学フィルムは、上記色素分散層の片側または両側に配置された支持基材をさらに有してよい。
[8]上記[1]から[7]のいずれかに記載の光学フィルムにおいて、上記少なくとも一部の領域に入射角0°で入射した光の全光線透過率が、50%以上であってよい。
[9]上記[1]から[8]のいずれかに記載の光学フィルムにおいて、上記少なくとも一部の領域に入射角0°で入射した光のヘイズが、5%以下であってよい。
[10]上記[1]から[9]のいずれかに記載の光学フィルムにおいて、上記少なくとも一部の領域に入射角60°で入射した上記吸収極大波長の光の吸光度が0.12以上であってよい。
[11]本発明の別の局面によれば、単色光源と色変換素子と上記[1]から[10]のいずれかに記載の光学フィルムとを有する、バックライト装置が提供される。
【発明の効果】
【0007】
本発明の実施形態による光学フィルムは、所定の方向に配向した状態の二色性色素を含むことにより、正面方向に比べて斜め方向における所定の波長の入射光を多く吸収することができる。よって、本発明の実施形態による光学フィルムを単色光源および色変換素子と組み合わせて用いることにより、色変換素子を透過した光における斜め方向から見た場合の色付きを好適に抑制することができる。
【図面の簡単な説明】
【0008】
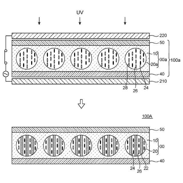
本発明の1つの実施形態による光学フィルムの構成を示す概略断面図である。
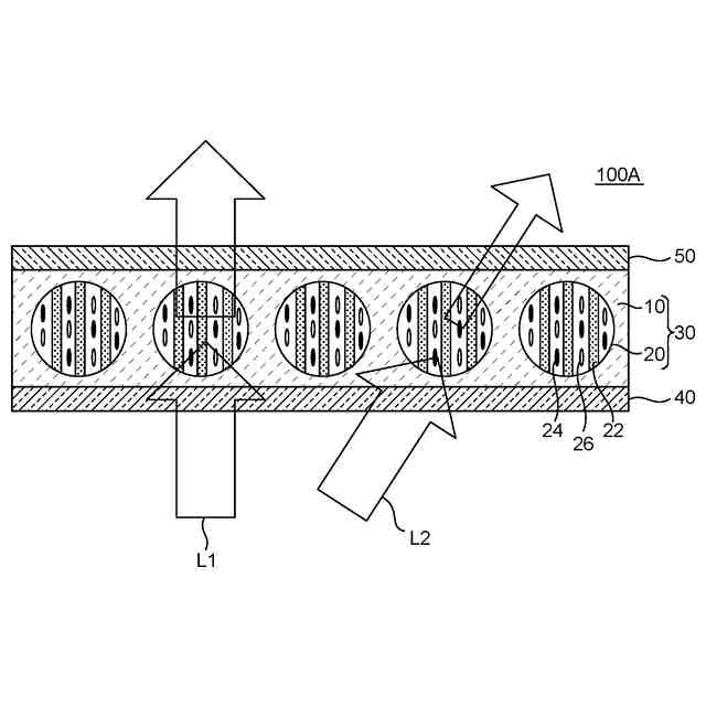
図1に示す光学フィルムにおける入射光の吸収を説明する概略図である。
本発明の1つの実施形態による光学フィルムの製造方法における一工程を説明する概略図である。
(a)および(b)はそれぞれ、本発明の1つの実施形態による光学フィルムの構成を示す概略平面図および概略断面図である。
(a)および(b)はそれぞれ、本発明の1つの実施形態による光学フィルムの構成を示す概略平面図および概略断面図である。
透過光の測定方法を説明する概略図である。
【発明を実施するための形態】
【0009】
以下、本発明の実施形態について説明するが、本発明はこれらの実施形態には限定されない。また、各実施形態は、適宜組み合わせることができる。図面は説明をより明確にするため、実施の形態に比べ、各部の幅、厚み、形状等について模式的に表される場合があるが、あくまで一例であって、本発明の解釈を限定するものではない。本明細書中で、数値範囲を表す「~」は、その上限および下限の数値を含む。
【0010】
A.光学フィルム
A-1.光学フィルムの全体構成
図1は、本発明の1つの実施形態による光学フィルムの構成を示す概略断面図である。光学フィルム100Aは、高分子マトリクス10と、高分子マトリクス10中に分散し、重合性液晶成分の重合生成物(以下、液晶ポリマーと称する場合がある)22および二色性色素24を含む分散粒子20と、を含む、色素分散層30を有する。分散粒子20は、非重合性液晶成分26をさらに含んでいるが、非重合性液晶成分26は任意成分である。よって、分散粒子20は、非重合性液晶成分26を含まなくてもよい。光学フィルム100Aにおいては、色素分散層30の全体が、液晶ポリマー22、二色性色素24、および非重合性液晶成分26が、厚み方向に配向している領域(領域A)として構成されている。このような構成を有する領域Aにおいては、図2に示すように、正面方向から入射する光L1の吸収が抑制される一方で、斜め方向から入射する光L2のうち所定の波長の光が二色性色素によって吸収され得る。よって、代表的には、領域Aに斜め方向から(例えば、入射角60°で)入射した光L2の全光線透過率は、正面方向から(換言すると、入射角0°で)入射した光L1の全光線透過率よりも低くなる。全光線透過率は、JIS K 7361に従って測定され得る。
(【0011】以降は省略されています)
この特許をJ-PlatPat(特許庁公式サイト)で参照する
関連特許
日東電工株式会社
吸着材
3日前
日東電工株式会社
通気構造
1か月前
日東電工株式会社
発光装置
4日前
日東電工株式会社
光学積層体
1か月前
日東電工株式会社
生体センサ
1か月前
日東電工株式会社
光学積層体
18日前
日東電工株式会社
配線回路基板
2か月前
日東電工株式会社
反射フィルム
1か月前
日東電工株式会社
スイッチ装置
4日前
日東電工株式会社
偏光フィルム
25日前
日東電工株式会社
配線回路基板
2か月前
日東電工株式会社
複合ケーブル
1か月前
日東電工株式会社
光学粘着シート
5日前
日東電工株式会社
光学粘着シート
5日前
日東電工株式会社
光学粘着シート
5日前
日東電工株式会社
偏光子の製造方法
1か月前
日東電工株式会社
ガラス樹脂複合体
1か月前
日東電工株式会社
反射防止フィルム
3日前
日東電工株式会社
反射防止フィルム
3日前
日東電工株式会社
表面保護フィルム
1か月前
日東電工株式会社
表面保護フィルム
1か月前
日東電工株式会社
ロール体の製造方法
7日前
日東電工株式会社
光学積層体の製造方法
1か月前
日東電工株式会社
調光用導電性フィルム
17日前
日東電工株式会社
光学積層体の製造方法
4日前
日東電工株式会社
光学積層体の製造方法
4日前
日東電工株式会社
積層フィルムの製造方法
2か月前
日東電工株式会社
ウレア化合物の製造方法
11日前
日東電工株式会社
積層フィルムの製造方法
2か月前
日東電工株式会社
長尺状積層体の製造方法
1か月前
日東電工株式会社
延伸フィルムの製造方法
17日前
日東電工株式会社
延伸フィルムの製造方法
17日前
日東電工株式会社
長尺状積層体の製造方法
1か月前
日東電工株式会社
長尺状積層体の製造方法
1か月前
日東電工株式会社
フィルムチップの製造方法
1か月前
日東電工株式会社
搬送キャリアの再利用方法
1か月前
続きを見る
他の特許を見る