TOP
|
特許
|
意匠
|
商標
特許ウォッチ
Twitter
他の特許を見る
公開番号
2025142226
公報種別
公開特許公報(A)
公開日
2025-09-30
出願番号
2025121709,2022205759
出願日
2025-07-18,2022-12-22
発明の名称
偏光子およびその製造方法、ならびに、該偏光子を含む光学積層体および画像表示装置
出願人
日東電工株式会社
代理人
弁理士法人籾井特許事務所
主分類
G02B
5/30 20060101AFI20250919BHJP(光学)
要約
【課題】端部脱色が抑制された薄型の偏光子を提供すること。
【解決手段】本発明の実施形態による偏光子は、厚みが8μm以下であり、押し込み弾性率が9.5GPa以下であり、かつ、押し込み硬さが0.65GPa以上である。このような偏光子の製造方法は、長尺状の熱可塑性樹脂基材の片側に、ハロゲン化物とポリビニルアルコール系樹脂とを含むポリビニルアルコール系樹脂層を形成して積層体とすること;および、積層体に、空中補助延伸処理と、染色処理と、水中延伸処理と、長手方向に搬送しながら加熱することにより、幅方向に2%以上収縮させる乾燥収縮処理と、をこの順に施すこと;を含み、空中補助延伸処理における延伸温度は140℃以上であり、かつ、延伸倍率は2.5倍以上である。
【選択図】図1
特許請求の範囲
【請求項1】
厚みが8μm以下であり、押し込み弾性率が9.5GPa以下であり、かつ、押し込み硬さが0.65GPa以上である、偏光子。
発明の詳細な説明
【技術分野】
【0001】
本発明は、偏光子およびその製造方法、ならびに、該偏光子を含む光学積層体および画像表示装置に関する。
続きを表示(約 3,100 文字)
【背景技術】
【0002】
画像表示装置(例えば、液晶表示装置、有機EL表示装置、量子ドット表示装置)には、その画像形成方式に起因して、多くの場合、表示パネルの少なくとも一方の側に偏光板が配置されている。しかし、偏光板は、実質的に偏光板の光学特性を支配する偏光子の光学特性が高温高湿環境下で低下するという耐久性の問題がある。より具体的には、偏光子は、高温高湿環境下において端部の偏光性能が消失し、結果として、いわゆる色抜け(端部脱色)という現象が生じる場合がある。近年、画像表示装置の狭額縁化(場合によっては、いわゆるベゼルレス化)の要望が強まっており、端部の色抜け防止の必要性が高まっている。
【先行技術文献】
【特許文献】
【0003】
特開2000-338329号公報
【発明の概要】
【発明が解決しようとする課題】
【0004】
本発明は上記従来の課題を解決するためになされたものであり、その主たる目的は、端部脱色が抑制された薄型の偏光子を提供することにある。
【課題を解決するための手段】
【0005】
[1]本発明の実施形態による偏光子は、厚みが8μm以下であり、押し込み弾性率が9.5GPa以下であり、かつ、押し込み硬さが0.65GPa以上である。
[2]上記[1]において、上記偏光子は、二色性物質を含むポリビニルアルコール系樹脂フィルムで構成されている。
[3]上記[1]または[2]において、上記偏光子は、配向関数が0.30以上である。
[4]本発明の別の局面によれば、偏光子の製造方法が提供される。この製造方法は、長尺状の熱可塑性樹脂基材の片側に、ハロゲン化物とポリビニルアルコール系樹脂とを含むポリビニルアルコール系樹脂層を形成して積層体とすること;および、該積層体に、空中補助延伸処理と、染色処理と、水中延伸処理と、長手方向に搬送しながら加熱することにより、幅方向に2%以上収縮させる乾燥収縮処理と、をこの順に施すこと;を含み、該空中補助延伸処理における延伸温度が140℃以上であり、かつ、延伸倍率が2.5倍以上である。
[5]本発明のさらに別の局面によれば、光学積層体が提供される。この光学積層体は、上記[1]から[3]のいずれかの偏光子と、該偏光子の一方の側に配置された保護層と、を含む。
[6]上記[5]において、上記光学積層体は、上記偏光子に隣接して配置された樹脂層をさらに含み、該樹脂層は、ガラス転移温度が85℃以上で重量平均分子量Mwが25000以上の樹脂を含む。
[7]上記[6]において、上記光学積層体は、上記樹脂層の偏光子と反対側に、円偏光機能または楕円偏光機能を有する位相差層をさらに含む。
[8]上記[7]において、上記位相差層は樹脂フィルムの延伸フィルムで構成されており、そのRe(550)は100nm~200nmであり、Re(450)<Re(550)の関係を満足し、該位相差層の遅相軸と上記偏光子の吸収軸とのなす角度は40°~50°である。
[9]上記[7]または[8]において、上記光学積層体は、上記位相差層の樹脂層と反対側に、屈折率特性がnz>nx=nyの関係を示す別の位相差層をさらに有する。
[10]上記[5]から[9]のいずれかにおいて、上記光学積層体は、上記保護層の偏光子と反対側にハードコート層が形成されている。
[11]本発明の別の局面によれば、画像表示装置が提供される。この画像表示装置は、上記[5]から[10]のいずれかの光学積層体を備える。
【発明の効果】
【0006】
本発明の実施形態によれば、端部脱色が抑制された薄型の偏光子を実現することができる。
【図面の簡単な説明】
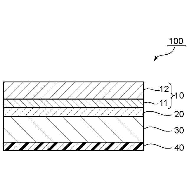
【0007】
本発明の1つの実施形態による光学積層体の概略断面図である。
【発明を実施するための形態】
【0008】
以下、本発明の代表的な実施形態について説明するが、本発明はこれらの実施形態には限定されない。
【0009】
(用語および記号の定義)
本明細書における用語および記号の定義は下記の通りである。
(1)屈折率(nx、ny、nz)
「nx」は面内の屈折率が最大になる方向(すなわち、遅相軸方向)の屈折率であり、「ny」は面内で遅相軸と直交する方向(すなわち、進相軸方向)の屈折率であり、「nz」は厚み方向の屈折率である。
(2)面内位相差(Re)
「Re(λ)」は、23℃における波長λnmの光で測定したフィルムの面内位相差である。例えば、「Re(550)」は、23℃における波長550nmの光で測定したフィルムの面内位相差である。Re(λ)は、フィルムの厚みをd(nm)としたとき、式:Re=(nx-ny)×dによって求められる。
(3)厚み方向の位相差(Rth)
「Rth(λ)」は、23℃における波長λnmの光で測定したフィルムの厚み方向の位相差である。例えば、「Rth(550)」は、23℃における波長550nmの光で測定したフィルムの厚み方向の位相差である。Rth(λ)は、フィルムの厚みをd(nm)としたとき、式:Rth=(nx-nz)×dによって求められる。
(4)Nz係数
Nz係数は、Nz=Rth/Reによって求められる。
(5)角度
本明細書において角度に言及するときは、特に明記しない限り、当該角度は時計回りおよび反時計回りの両方の方向の角度を包含する。
【0010】
A.偏光子
本発明の実施形態による偏光子は、上記のとおり、厚みが8μm以下であり、押し込み弾性率が9.5GPa以下であり、かつ、押し込み硬さが0.65GPa以上である。このように、本発明の実施形態によれば、押し込み弾性率が比較的低いにもかかわらず、押し込み硬さが非常に大きい偏光子が得られ得る。このような偏光子は、非常に薄型でありながら端部脱色が良好に抑制され得る。より詳細には以下のとおりである。端部脱色を抑制する手段として、代表的には、偏光子の耐水性を向上させることが挙げられる。偏光子の耐水性を向上させる手段として、代表的には、偏光子を剛直にする(硬くする)ことが挙げられる。偏光子が剛直であれば、水分による膨潤が起こりにくいので、偏光子中のヨウ素の流出を抑制することができる。一方、偏光子を薄型化するとヨウ素密度が高くなり、偏光子中のポリビニルアルコール(PVA)の分子間相互作用が妨げられる傾向にある。その結果、薄型の偏光子の剛直性(硬さ)は不十分となる場合が多い。ホウ酸などによる化学架橋も偏光子の剛直性に寄与し得るが、架橋点を増やすと延伸しにくくなることから、限定された範囲でしか使用できない。本発明の実施形態による偏光子は、上記のとおり、押し込み弾性率が比較的低いにもかかわらず、押し込み硬さが非常に大きい。このような偏光子は、硬いことによる利点(端部脱色の抑制)を維持しつつ、延伸しやすいので薄型化が容易である。このような偏光子は、後述するように、薄型偏光子の製造方法における空中補助延伸処理において、従来よりも高温かつ高延伸倍率で延伸することにより得られ得る。
(【0011】以降は省略されています)
この特許をJ-PlatPat(特許庁公式サイト)で参照する
関連特許
日東電工株式会社
光学積層体
26日前
日東電工株式会社
光学積層体
13日前
日東電工株式会社
複合ケーブル
1か月前
日東電工株式会社
偏光フィルム
20日前
日東電工株式会社
光学粘着シート
今日
日東電工株式会社
光学粘着シート
今日
日東電工株式会社
光学粘着シート
今日
日東電工株式会社
ガラス樹脂複合体
1か月前
日東電工株式会社
偏光子の製造方法
1か月前
日東電工株式会社
ロール体の製造方法
2日前
日東電工株式会社
調光用導電性フィルム
12日前
日東電工株式会社
光学積層体の製造方法
28日前
日東電工株式会社
ウレア化合物の製造方法
6日前
日東電工株式会社
延伸フィルムの製造方法
12日前
日東電工株式会社
延伸フィルムの製造方法
12日前
日東電工株式会社
フィルムチップの製造方法
1か月前
日東電工株式会社
表示システムおよび表示体
1か月前
日東電工株式会社
表示システムおよび表示体
1か月前
日東電工株式会社
表示システムおよび表示体
1か月前
日東電工株式会社
表示システムおよび表示体
1か月前
日東電工株式会社
フィルムチップの製造方法
1か月前
日東電工株式会社
搬送キャリアの再利用方法
28日前
日東電工株式会社
スパイラル型膜モジュール
14日前
日東電工株式会社
フィルムチップの製造方法
1か月前
日東電工株式会社
発泡体、部材、及び放熱構造
12日前
日東電工株式会社
粘着剤および/または接着剤
1か月前
日東電工株式会社
光学積層体および表示システム
28日前
日東電工株式会社
積層ホログラム素子の製造方法
1か月前
日東電工株式会社
光学積層体および画像表示装置
1か月前
日東電工株式会社
半導体ウエハ加工用粘着シート
1か月前
日東電工株式会社
光学フィルムチップの製造方法
1か月前
日東電工株式会社
半導体ウエハ加工用粘着テープ
1か月前
日東電工株式会社
複合体、及び、複合体の製造方法
6日前
日東電工株式会社
光学部材の製造方法および光学積層体
1か月前
日東電工株式会社
光学フィルムおよびバックライト装置
2日前
日東電工株式会社
多層断熱材及び多層断熱材の製造方法
28日前
続きを見る
他の特許を見る