TOP
|
特許
|
意匠
|
商標
特許ウォッチ
Twitter
他の特許を見る
公開番号
2025141343
公報種別
公開特許公報(A)
公開日
2025-09-29
出願番号
2024041235
出願日
2024-03-15
発明の名称
光アイソレータ
出願人
日本電気硝子株式会社
代理人
弁理士法人大阪フロント特許事務所
主分類
G02B
27/28 20060101AFI20250919BHJP(光学)
要約
【課題】光路ずれを生じ難くすることができ、しかも限られたスペースに効率よく配置することができる、光アイソレータを提供する。
【解決手段】順方向Xに光が入射し内部を通過する貫通孔2aを有する磁石2と、光を透過させ、磁石2の貫通孔2aの内部に設けられているファラデー素子3と、磁石2の入射側に配置されている第1の偏光子4と、磁石2の出射側に配置されている第2の偏光子5とを備え、磁石2は、それぞれ貫通孔を有する第1の磁石体6と、第2の磁石体7と、第3の磁石体8とを有し、順方向Xにおける第1の偏光子4の入射面4aと第2の偏光子5の出射面5bとの距離が、磁石2の横断面における外周縁の2点間の距離のうち最も長い距離よりも短いことを特徴とする、光アイソレータ1。
【選択図】図2
特許請求の範囲
【請求項1】
順方向に光が入射し内部を通過する貫通孔を有する磁石と、
前記光を透過させ、前記磁石の前記貫通孔の内部に設けられているファラデー素子と、
前記順方向における前記光が入射する方を入射側とし、前記光が出射する方を出射側としたときに、
前記磁石の前記入射側に配置されている第1の偏光子と、
前記磁石の前記出射側に配置されている第2の偏光子と、
を備え、
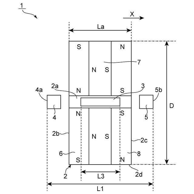
前記磁石は、それぞれ貫通孔を有する第1の磁石体と、第2の磁石体と、第3の磁石体とを有し、
前記第1の磁石体、前記第2の磁石体、及び前記第3の磁石体がこの順序において積層されており、前記第1の磁石体の前記貫通孔、前記第2の磁石体の前記貫通孔、及び前記第3の磁石体の前記貫通孔が連通しており、
前記第1の磁石体は、前記順方向に垂直な方向に、かつ前記貫通孔側がN極となるように着磁されており、
前記第2の磁石体は、前記順方向に平行な方向に、かつ前記第1の磁石体側がN極となるように着磁されており、
前記第3の磁石体は、前記順方向に垂直な方向に、かつ前記貫通孔側がS極となるように着磁されており、
前記順方向における前記入射側の面を入射面とし、前記順方向における前記出射側の面を出射面とし、前記順方向と垂直な方向に沿う断面を横断面としたときに、
前記順方向における前記第1の偏光子の前記入射面と前記第2の偏光子の前記出射面との距離が、前記磁石の前記横断面における外周縁の2点間の距離のうち最も長い距離よりも短いことを特徴とする、光アイソレータ。
続きを表示(約 1,600 文字)
【請求項2】
前記第1の偏光子を収納している第1の偏光子ホルダと、
前記第2の偏光子を収納している第2の偏光子ホルダと、
をさらに備え、
前記順方向における前記第1の偏光子ホルダの前記入射面と前記第2の偏光子ホルダの前記出射面との距離が、前記磁石の前記横断面における外周縁の2点間の距離のうち最も長い距離よりも短いことを特徴とする、請求項1に記載の光アイソレータ。
【請求項3】
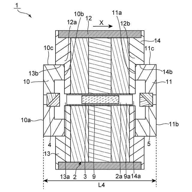
前記磁石と前記ファラデー素子とを内部に収納しており、前記入射側に位置している第1の開放部と、前記出射側に位置している第2の開放部とを有する、筐体と、
前記光が通過する第1の開口部を有し、前記筐体の前記第1の開放部を閉塞している第1の蓋体と、
前記光が通過する第2の開口部を有し、前記筐体の前記第2の開放部を閉塞している第2の蓋体と、
をさらに備え、
前記第1の蓋体は、前記磁石と前記第1の偏光子との間に配置されており、
前記第2の蓋体は、前記磁石と前記第2の偏光子との間に配置されていることを特徴とする、請求項1に記載の光アイソレータ。
【請求項4】
前記磁石と前記ファラデー素子とを内部に収納しており、前記入射側に位置している第1の開放部と、前記出射側に位置している第2の開放部とを有する、筐体と、
前記光が通過する第1の開口部を有し、前記筐体の前記第1の開放部を閉塞している第1の蓋体と、
前記光が通過する第2の開口部を有し、前記筐体の前記第2の開放部を閉塞している第2の蓋体と、
をさらに備え、
前記第1の蓋体は、前記磁石と前記第1の偏光子ホルダとの間に配置されており、
前記第2の蓋体は、前記磁石と前記第2の偏光子ホルダとの間に配置されていることを特徴とする、請求項2に記載の光アイソレータ。
【請求項5】
前記第1の蓋体の内部に前記第1の偏光子ホルダの少なくとも一部が位置しており、前記第1の蓋体が、前記第1の偏光子ホルダと互いに嵌合している第1の嵌合部を有し、
前記第2の蓋体の内部に前記第2の偏光子ホルダの少なくとも一部が位置しており、前記第2の蓋体が、前記第2の偏光子ホルダと互いに嵌合している第2の嵌合部を有することを特徴とする、請求項4に記載の光アイソレータ。
【請求項6】
前記磁石の前記横断面における外周縁の2点間の距離のうち最も長い距離が、前記磁石の前記横断面の外形が円のときは前記円の直径であり、前記磁石の前記横断面の外形が正多角形のときは前記正多角形の最も長い対角線の長さであることを特徴とする、請求項1~5のいずれか1項に記載の光アイソレータ。
【請求項7】
前記磁石の前記横断面における外周縁の2点間の距離のうち最も長い距離が、前記磁石の前記横断面の外形が円のときは前記円の直径であり、前記磁石の前記横断面の外形が正多角形のときは前記正多角形の内接円の直径であることを特徴とする、請求項1~5のいずれか1項に記載の光アイソレータ。
【請求項8】
前記順方向における前記ファラデー素子の長さの前記磁石の長さに対する比(ファラデー素子の長さ/磁石の長さ)が、0.25以上、1.0以下であることを特徴とする、請求項1~5のいずれか1項に記載の光アイソレータ。
【請求項9】
前記ファラデー素子の長さが3mm~30mmであり、前記ファラデー素子のベルデ定数が0.01min/Oe・cm~1min/Oe・cmであり、前記ファラデー素子の磁束密度が0.3T~3.0Tであることを特徴とする、請求項1~5のいずれか1項に記載の光アイソレータ。
【請求項10】
前記磁石の前記横断面における外形が四角形であることを特徴とする、請求項1~5のいずれか1項に記載の光アイソレータ。
発明の詳細な説明
【技術分野】
【0001】
本発明は、光アイソレータに関する。
続きを表示(約 2,100 文字)
【背景技術】
【0002】
光アイソレータは、光を一方向だけに伝搬し、反射して戻る光を阻止する磁気光学素子である。光アイソレータは、例えば、光通信システムやレーザー加工システム等に用いられるレーザー発振器に使用される。
【0003】
下記の特許文献1には、光アイソレータの一例が開示されている。上記光アイソレータにおいては、磁石構造体の内部に、ファラデー回転素子が配置されている。上記ファラデー回転素子を透過する光の光軸の方向において、ファラデー回転素子を挟むように一対の偏光子が設けられている。特許文献1の光アイソレータでは、光軸方向における偏光子間の距離が、磁石構造体の光軸方向に直交する方向における外径より大きくなっている(特許文献1の図1等参照)。
【先行技術文献】
【特許文献】
【0004】
特開2016-051105号公報
【発明の概要】
【発明が解決しようとする課題】
【0005】
しかしながら、特許文献1のような光アイソレータは、上記のように光路長が長く設計されており、光路ずれが生じ易いという問題がある。また、光アイソレータが使用されるデバイスの設計によっては、光アイソレータを限られたスペースに配置できない場合がある。
【0006】
本発明は、光路ずれを生じ難くすることができ、しかも限られたスペースに効率よく配置することができる、光アイソレータを提供することを目的とする。
【課題を解決するための手段】
【0007】
本発明の態様1に係る光アイソレータは、順方向に光が入射し内部を通過する貫通孔を有する磁石と、前記光を透過させ、前記磁石の前記貫通孔の内部に設けられているファラデー素子と、前記順方向における前記光が入射する方を入射側とし、前記光が出射する方を出射側としたときに、前記磁石の前記入射側に配置されている第1の偏光子と、前記磁石の前記出射側に配置されている第2の偏光子とを備え、前記磁石は、それぞれ貫通孔を有する第1の磁石体と、第2の磁石体と、第3の磁石体とを有し、前記第1の磁石体、前記第2の磁石体、及び前記第3の磁石体がこの順序において積層されており、前記第1の磁石体の前記貫通孔、前記第2の磁石体の前記貫通孔、及び前記第3の磁石体の前記貫通孔が連通しており、前記第1の磁石体は、前記順方向に垂直な方向に、かつ前記貫通孔側がN極となるように着磁されており、前記第2の磁石体は、前記順方向に平行な方向に、かつ前記第1の磁石体側がN極となるように着磁されており、前記第3の磁石体は、前記順方向に垂直な方向に、かつ前記貫通孔側がS極となるように着磁されており、前記順方向における前記入射側の面を入射面とし、前記順方向における前記出射側の面を出射面とし、前記順方向と垂直な方向に沿う断面を横断面としたときに、前記順方向における前記第1の偏光子の前記入射面と前記第2の偏光子の前記出射面との距離が、前記磁石の前記横断面における外周縁の2点間の距離のうち最も長い距離よりも短いことを特徴とする。
【0008】
態様2の光アイソレータでは、態様1において、前記第1の偏光子を収納している第1の偏光子ホルダと、前記第2の偏光子を収納している第2の偏光子ホルダとをさらに備え、前記順方向における前記第1の偏光子ホルダの前記入射面と前記第2の偏光子ホルダの前記出射面との距離が、前記磁石の前記横断面における外周縁の2点間の距離のうち最も長い距離よりも短いことが好ましい。
【0009】
態様3の光アイソレータでは、態様1または態様2において、前記磁石と前記ファラデー素子とを内部に収納しており、前記入射側に位置している第1の開放部と、前記出射側に位置している第2の開放部とを有する、筐体と、前記光が通過する第1の開口部を有し、前記筐体の前記第1の開放部を閉塞している第1の蓋体と、前記光が通過する第2の開口部を有し、前記筐体の前記第2の開放部を閉塞している第2の蓋体とをさらに備え、前記第1の蓋体は、前記磁石と前記第1の偏光子との間に配置されており、前記第2の蓋体は、前記磁石と前記第2の偏光子との間に配置されていることが好ましい。
【0010】
態様4の光アイソレータでは、態様2において、前記磁石と前記ファラデー素子とを内部に収納しており、前記入射側に位置している第1の開放部と、前記出射側に位置している第2の開放部とを有する、筐体と、前記光が通過する第1の開口部を有し、前記筐体の前記第1の開放部を閉塞している第1の蓋体と、前記光が通過する第2の開口部を有し、前記筐体の前記第2の開放部を閉塞している第2の蓋体とをさらに備え、前記第1の蓋体は、前記磁石と前記第1の偏光子ホルダとの間に配置されており、前記第2の蓋体は、前記磁石と前記第2の偏光子ホルダとの間に配置されていることが好ましい。
(【0011】以降は省略されています)
この特許をJ-PlatPat(特許庁公式サイト)で参照する
関連特許
日本電気硝子株式会社
ガラス製造装置
3日前
日本電気硝子株式会社
光アイソレータ
6日前
日本電気硝子株式会社
光学部材の製造方法
2日前
日本電気硝子株式会社
ガラス板の製造方法
16日前
日本電気硝子株式会社
ガラス物品の製造方法
1か月前
日本電気硝子株式会社
減圧脱泡装置及びガラス製造装置
3日前
日本電気硝子株式会社
固体電解質前駆体溶液、固体電解質前駆体、及び固体電解質
16日前
古野電気株式会社
電磁波整合装置、電磁波通過装置、及び壁
9日前
カンタツ株式会社
光学系
27日前
日本精機株式会社
表示装置
1か月前
日本精機株式会社
表示装置
1か月前
アイカ工業株式会社
反射防止フィルム
3日前
キヤノン株式会社
映像表示装置
16日前
アイカ工業株式会社
反射防止フィルム
27日前
インターマン株式会社
立体映像表示装置
16日前
日本精機株式会社
ヘッドアップディスプレイ
1か月前
沖電気工業株式会社
光導波路素子
1か月前
沖電気工業株式会社
光導波路素子
1か月前
沖電気工業株式会社
光導波路素子
1か月前
旭化成株式会社
成形体
2日前
個人
透過型及び反射型顕微鏡
16日前
日本分光株式会社
赤外顕微鏡
2日前
旭化成株式会社
成形体
2日前
キヤノン株式会社
画像表示装置
2日前
キヤノン株式会社
レンズ装置および撮像装置
4日前
東レ株式会社
プラスチック光ファイバ
26日前
キヤノン株式会社
画像表示装置
24日前
レーザーテック株式会社
検査装置及び検査方法
6日前
キヤノン株式会社
表示装置
9日前
日東電工株式会社
光学積層体
1か月前
株式会社小糸製作所
画像投影装置
17日前
株式会社小糸製作所
画像生成装置
25日前
日東電工株式会社
光学積層体
17日前
東レ株式会社
先端に凸面を有する光ファイバ
16日前
キヤノン株式会社
光学系及び撮像装置
10日前
株式会社小糸製作所
画像投影装置
16日前
続きを見る
他の特許を見る