TOP
|
特許
|
意匠
|
商標
特許ウォッチ
Twitter
他の特許を見る
10個以上の画像は省略されています。
公開番号
2025142299
公報種別
公開特許公報(A)
公開日
2025-09-30
出願番号
2025126551,2023195297
出願日
2025-07-29,2023-11-16
発明の名称
焦点調節装置及び方法、撮像装置、プログラム、記憶媒体
出願人
キヤノン株式会社
代理人
弁理士法人大塚国際特許事務所
主分類
G02B
7/28 20210101AFI20250919BHJP(光学)
要約
【課題】撮影に適切なタイミングで被写体に焦点を合わせることができる撮像装置を提供する。
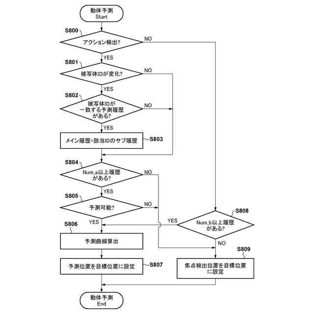
【解決手段】画像から被写体を検出する被写体検出部と、画像から被写体の特定の状態を検出する状態検出部と、被写体検出部により検出された被写体に対応する焦点検出結果の履歴を取得する焦点検出部と、焦点検出結果を用いて焦点調節する焦点調節部と、焦点検出部による被写体の焦点検出結果の履歴の取得を、状態検出部による特定の状態の検出処理と並行して行う制御部と、焦点調節部が第1の被写体に焦点を合わせている状態から、特定の状態が検出された第2の被写体に焦点を合わせる状態に移行する場合に、焦点調節部が第2の被写体に焦点を合わせるための焦点調節位置を、第2の被写体の焦点検出結果の履歴を用いて予測する予測部と、を備える。
【選択図】 図9
特許請求の範囲
【請求項1】
画像から被写体を検出する被写体検出手段と、
画像から被写体の特定の状態を検出する状態検出手段と、
前記被写体検出手段により検出された被写体に対応する焦点検出結果の履歴を取得する焦点検出手段と、
前記焦点検出結果を用いて焦点調節する焦点調節手段と、
前記焦点検出手段による被写体の焦点検出結果の履歴の取得を、前記状態検出手段による特定の状態の検出処理と並行して行う制御手段と、
前記焦点調節手段が第1の被写体に焦点を合わせている状態から、前記特定の状態が検出された第2の被写体に焦点を合わせる状態に移行する場合に、前記焦点調節手段が前記第2の被写体に焦点を合わせるための焦点調節位置を、前記第2の被写体の焦点検出結果の履歴を用いて予測する予測手段と、
を備えることを特徴とする焦点調節装置。
続きを表示(約 1,000 文字)
【請求項2】
前記特定の状態とは、被写体が特定のアクションを起こした状態であることを特徴とする請求項1に記載の焦点調節装置。
【請求項3】
前記予測手段は、前記第2の被写体について、焦点検出結果の履歴が所定の数以上記憶されている場合に、前記第2の被写体に焦点を合わせるための焦点調節位置を予測することを特徴とする請求項1に記載の焦点調節装置。
【請求項4】
前記第2の被写体の焦点検出結果の履歴における焦点位置の差またはばらつきが所定値以上の場合は、前記予測手段は、前記第2の被写体に焦点を合わせるための焦点調節位置を予測しないことを特徴とする請求項1に記載の焦点調節装置。
【請求項5】
前記焦点検出手段は、被写体に対する複数の焦点検出領域のうち、最至近の焦点検出情報を、焦点検出結果の履歴の情報として記憶することを特徴とする請求項1に記載の焦点調節装置。
【請求項6】
被写体を撮像する撮像手段と、
請求項1乃至5のいずれか1項に記載の焦点調節装置と、
を備えることを特徴とする撮像装置。
【請求項7】
画像から被写体を検出する被写体検出工程と、
画像から被写体の特定の状態を検出する状態検出工程と、
前記被写体検出工程により検出された被写体に対応する焦点検出結果の履歴を取得する焦点検出工程と、
前記焦点検出結果を用いて焦点調節する焦点調節工程と、
前記焦点検出工程による被写体の焦点検出結果の履歴の取得を、前記状態検出工程による特定の状態の検出処理と並行して行うように制御する制御工程と、
前記焦点調節工程により第1の被写体に焦点を合わせている状態から、前記特定の状態が検出された第2の被写体に焦点を合わせる状態に移行する場合に、前記焦点調節工程により前記第2の被写体に焦点を合わせるための焦点調節位置を、前記第2の被写体の焦点検出結果の履歴を用いて予測する予測工程と、
を有することを特徴とする焦点調節方法。
【請求項8】
請求項7に記載の焦点調節方法の各工程をコンピュータに実行させるためのプログラム。
【請求項9】
請求項7に記載の焦点調節方法の各工程をコンピュータに実行させるためのプログラムを記憶したコンピュータが読み取り可能な記憶媒体。
発明の詳細な説明
【技術分野】
【0001】
本発明は、撮像装置に用いられる焦点調節装置及び方法に関する。
続きを表示(約 1,300 文字)
【背景技術】
【0002】
近年、撮像素子を用いた撮像面位相差AF方式やコントラストAF方式など様々なAF(オートフォーカス)方式が実用化されている。さらに、様々なAF方式において、主被写体の領域を特定して合焦させる技術が知られている。
【0003】
特許文献1には、時系列に生成される複数の画像に基づいて撮影画面内での特徴領域の大きさと位置の変化を検出して被写体の移動方向を推定し、推定結果に応じて合焦動作を行う技術が開示されている。
【0004】
また、特許文献2には、焦点検出する際の像面位置の変化量が予め設定された閾値未満の場合に焦点調節動作を行わせる捕捉判定手段を備える撮像装置が開示されている。そして、予め決められた条件を満たすことによって被写体および撮像装置が静止状態にある場合に、捕捉判定手段の閾値を予め設定された値よりも大きくすることによってピント追従精度を向上させている。
【先行技術文献】
【特許文献】
【0005】
特開2013-160991号公報
特開2012-203207号公報
【発明の概要】
【発明が解決しようとする課題】
【0006】
しかしながら、特許文献1においては、被写体の動き判定が、被写体の大きさ、位置、焦点検出情報のみに基づいており、主被写体として好ましい状態か否かは判断できない。
【0007】
特許文献2においては、AF開始時のみピント追従性を向上させることはできるが、AF開始以降の、主被写体として好ましい被写体へのピント追従には適用することができない。
【0008】
本発明は上述した課題に鑑みてなされたものであり、その目的は、撮影に適切なタイミングで被写体に焦点を合わせることができる撮像装置を提供することである。
【課題を解決するための手段】
【0009】
本発明に係わる焦点調節装置は、画像から被写体を検出する被写体検出手段と、画像から被写体の特定の状態を検出する状態検出手段と、前記被写体検出手段により検出された被写体に対応する焦点検出結果の履歴を取得する焦点検出手段と、前記焦点検出結果を用いて焦点調節する焦点調節手段と、前記焦点検出手段による被写体の焦点検出結果の履歴の取得を、前記状態検出手段による特定の状態の検出処理と並行して行う制御手段と、前記焦点調節手段が第1の被写体に焦点を合わせている状態から、前記特定の状態が検出された第2の被写体に焦点を合わせる状態に移行する場合に、前記焦点調節手段が前記第2の被写体に焦点を合わせるための焦点調節位置を、前記第2の被写体の焦点検出結果の履歴を用いて予測する予測手段と、を備えることを特徴とする。
【発明の効果】
【0010】
本発明によれば、撮影に適切なタイミングで被写体に焦点を合わせることが可能となる。
【図面の簡単な説明】
(【0011】以降は省略されています)
この特許をJ-PlatPat(特許庁公式サイト)で参照する
関連特許
キヤノン株式会社
トナー
29日前
キヤノン株式会社
電子機器
21日前
キヤノン株式会社
現像装置
29日前
キヤノン株式会社
光学装置
26日前
キヤノン株式会社
電子機器
26日前
キヤノン株式会社
撮像装置
26日前
キヤノン株式会社
電子機器
23日前
キヤノン株式会社
撮像装置
23日前
キヤノン株式会社
電子機器
2日前
キヤノン株式会社
定着装置
21日前
キヤノン株式会社
定着装置
21日前
キヤノン株式会社
定着装置
21日前
キヤノン株式会社
発光装置
5日前
キヤノン株式会社
表示装置
5日前
キヤノン株式会社
撮像装置
14日前
キヤノン株式会社
電子機器
14日前
キヤノン株式会社
記録装置
14日前
キヤノン株式会社
収容装置
6日前
キヤノン株式会社
定着装置
6日前
キヤノン株式会社
電子機器
6日前
キヤノン株式会社
電子機器
6日前
キヤノン株式会社
撮像装置
6日前
キヤノン株式会社
撮像装置
13日前
キヤノン株式会社
記録装置
13日前
キヤノン株式会社
撮像装置
12日前
キヤノン株式会社
電子機器
29日前
キヤノン株式会社
定着装置
12日前
キヤノン株式会社
電子機器
今日
キヤノン株式会社
撮像装置
1か月前
キヤノン株式会社
撮像装置
1か月前
キヤノン株式会社
容器構造体
1か月前
キヤノン株式会社
半導体装置
今日
キヤノン株式会社
容器構造体
1か月前
キヤノン株式会社
画像形成装置
21日前
キヤノン株式会社
光学測定装置
21日前
キヤノン株式会社
光学測定装置
21日前
続きを見る
他の特許を見る