TOP
|
特許
|
意匠
|
商標
特許ウォッチ
Twitter
他の特許を見る
公開番号
2025137083
公報種別
公開特許公報(A)
公開日
2025-09-19
出願番号
2024036079
出願日
2024-03-08
発明の名称
作業車両
出願人
ヤンマーホールディングス株式会社
代理人
弁理士法人 佐野特許事務所
主分類
E02F
9/20 20060101AFI20250911BHJP(水工;基礎;土砂の移送)
要約
【課題】外部給電可能な状態における走行機体の安全性及び利便性を確保することができる技術を提供する。
【解決手段】バッテリが配置される走行機体を備える作業車両であって、バッテリから走行機体の外部に電力を供給可能な第1外部給電モード及び第2外部給電モードを有する。第1外部給電モードにおいては、走行機体の動作が禁止され、第2外部給電モードにおいては、走行機体の動作が許可される。
【選択図】図9B
特許請求の範囲
【請求項1】
バッテリが配置される走行機体を備える作業車両であって、
前記バッテリから前記走行機体の外部に電力を供給可能な第1外部給電モード及び第2外部給電モードを有し、
前記第1外部給電モードにおいては、前記走行機体の動作が禁止され、
前記第2外部給電モードにおいては、前記走行機体の動作が許可される、作業車両。
続きを表示(約 460 文字)
【請求項2】
前記走行機体の動作は、前記走行機体の走行を含む、請求項1に記載の作業車両。
【請求項3】
前記走行機体に連結される作業機を備え、
前記走行機体は、
前記作業機を昇降する昇降アクチュエータと、
前記作業機を駆動する駆動アクチュエータと、を有し、
前記走行機体の動作は、前記昇降アクチュエータの駆動と前記駆動アクチュエータの駆動とのうち少なくとも一方を含む、請求項1に記載の作業車両。
【請求項4】
前記走行機体を操作する遠隔操作装置を備え、
前記第1外部給電モードにおいては、前記遠隔操作装置による前記走行機体の操作が禁止される、請求項1に記載の作業車両。
【請求項5】
前記第1外部給電モードにおいては、前記走行機体の電力消費が抑制される、請求項1に記載の作業車両。
【請求項6】
前記第1外部給電モードの解除の設定を行う解除操作部を備える、請求項1から5のいずれかに記載の作業車両。
発明の詳細な説明
【技術分野】
【0001】
本発明は、作業車両に関する。
続きを表示(約 1,500 文字)
【背景技術】
【0002】
草刈走行を行う走行機体を備え、送信機(遠隔操作装置)を用いて人為操作可能な草刈機が従来技術として知られている(例えば特許文献1参照)。
【先行技術文献】
【特許文献】
【0003】
特開2019-106941号公報
【発明の概要】
【発明が解決しようとする課題】
【0004】
ところで、近年では、電力を蓄えるバッテリを走行機体に配置し、このバッテリに蓄えられた電力をエネルギー源として駆動する電動式の作業車両も提案されている。電動式の作業車両の中には、バッテリに蓄えられた電力を走行機体の外部に供給する外部給電機能が設けられているものもあり、走行機体が(移動式の)電源としても利用され得る。
【0005】
走行機体が電源として用いられるときには、電源を利用する利用者が走行機体の付近に位置することが考えられるが、この場合に、例えば遠隔操作装置等の誤操作によって走行機体が動作すると、走行機体と人とが接触する虞がある。一方、外部給電可能な状態において、走行機体の動作を制限すると、ユーザが不便に感じる可能性がある。
【0006】
本発明は、上記の問題点を解決するためになされたものであり、その目的は、外部給電可能な状態における走行機体の安全性及び利便性を確保することができる技術を提供することにある。
【課題を解決するための手段】
【0007】
本発明の一側面に係る作業車両は、バッテリが配置される走行機体を備える作業車両であって、前記バッテリから前記走行機体の外部に電力を供給可能な第1外部給電モード及び第2外部給電モードを有し、前記第1外部給電モードにおいては、前記走行機体の動作が禁止され、前記第2外部給電モードにおいては、前記走行機体の動作が許可される。
【発明の効果】
【0008】
上記の構成によれば、外部給電可能な状態における走行機体の安全性及び利便性を確保することができる。
【図面の簡単な説明】
【0009】
本発明の実施の一形態に係る作業車両の概略の構成を示す図である。
上記作業車両の遠隔操作装置の構成を示す平面図である。
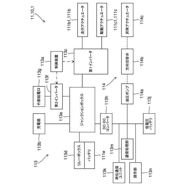
上記作業車両の電気系及び油圧系の構成を模式的に示すブロック図である。
上記作業車両に設けられる制御装置の構成を模式的に示すブロック図である。
上記作業車両の走行機体に設けられる操作部に表示されるモード選択画面の構成を示す図である。
上記モード選択画面の構成を示す図である。
上記操作部に表示される状態設定画面の構成を示す図である。
上記状態設定画面の構成を示す図である。
上記走行機体の外部給電機能の開始から終了までの流れのうちの上流側を示すフローチャートである。
上記外部給電機能の開始から終了までの流れのうちの下流側を示すフローチャートである。
上記外部給電機能の第1外部給電モードにおいて上記走行機体の動作指示があった場合の上記走行機体の動作の一例を説明する説明図である。
上記外部給電機能の第2外部給電モードにおいて上記走行機体の動作指示があった場合の上記走行機体の動作の一例を説明する説明図である。
上記第1外部給電モードにおいて実行される省電力制御を説明する説明図である。
【発明を実施するための形態】
【0010】
本発明の実施の形態について、図面に基づいて説明すれば、以下の通りである。
(【0011】以降は省略されています)
この特許をJ-PlatPat(特許庁公式サイト)で参照する
関連特許
個人
鋼管
13日前
FKS株式会社
擁壁
2日前
株式会社クボタ
作業車
今日
株式会社奥村組
ケーソン工法
5日前
株式会社クボタ
作業車
今日
株式会社奥村組
ケーソン刃口金物
5日前
株式会社武井工業所
積みブロック
22日前
株式会社大林組
袋体付き排水パイプ
12日前
株式会社大林組
袋体付き排水パイプ
12日前
株式会社熊谷組
密度計測方法
今日
大和ハウス工業株式会社
杭抜き先端具
6日前
日立建機株式会社
作業機械
2日前
ヤマト発動機株式会社
浮遊型消波装置
2日前
日立建機株式会社
作業機械
20日前
ゼニヤ海洋サービス株式会社
通船ゲート
12日前
株式会社フジタ
掘削機
21日前
鹿島建設株式会社
接続方法および接続構造
12日前
JFEスチール株式会社
鋼管矢板の継手構造
2日前
JFEスチール株式会社
鋼管矢板の継手構造
14日前
JFEスチール株式会社
鋼管矢板の継手構造
14日前
有限会社 櫂設計事務所
掘削・撹拌具
28日前
株式会社フジタ
建築物とその施工方法
12日前
株式会社大林組
建物の構築方法及び建物
12日前
株式会社武井工業所
積みブロック用基礎ブロック
22日前
株式会社小松製作所
作業機械
22日前
株式会社熊谷組
杭頭処理構造、杭頭処理方法
2日前
住友建機株式会社
作業機械、操作支援システム
6日前
日立建機株式会社
作業機械
6日前
住友重機械工業株式会社
作業機械用のシステム
6日前
日立建機株式会社
作業機械
12日前
日立建機株式会社
建設機械
2日前
日本コンクリート工業株式会社
堤防の補強構造
12日前
株式会社フジタ
情報取得システム
2日前
株式会社トラバース
地盤改良ユニット及び地盤改良機
21日前
鹿島建設株式会社
柱建て込み方法
6日前
株式会社三誠
鋼管の継手構造、及び鋼管杭
2日前
続きを見る
他の特許を見る