TOP
|
特許
|
意匠
|
商標
特許ウォッチ
Twitter
他の特許を見る
10個以上の画像は省略されています。
公開番号
2025137182
公報種別
公開特許公報(A)
公開日
2025-09-19
出願番号
2024036237
出願日
2024-03-08
発明の名称
制御装置、収納システム、端末装置及びプログラム
出願人
株式会社オカムラ
,
株式会社富士精工本社
代理人
個人
主分類
B65G
1/00 20060101AFI20250911BHJP(運搬;包装;貯蔵;薄板状または線条材料の取扱い)
要約
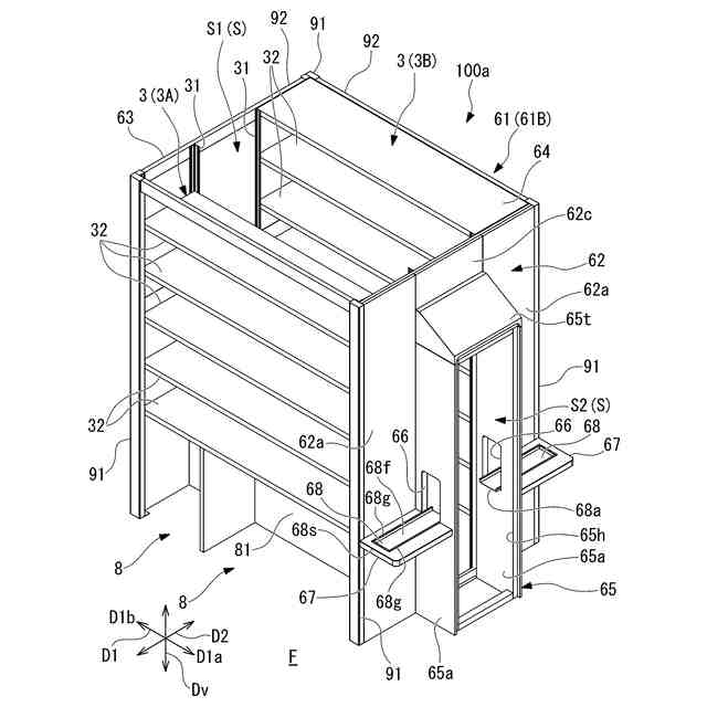
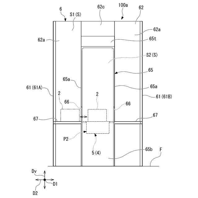
【課題】収納効率を高め、利用者にとっての利便性を高める収納装置を提供する。
【解決手段】制御装置は、収容物を収容可能な収納ボックスを収納する収納装置、及び、収納装置から取り出された収納ボックスを搬送する搬送車を制御する。制御装置は、収納装置が収納している収納ボックスのうち利用者が使用する収納ボックスを、収納装置内において収納ボックスを搬送する搬送装置により収納装置外に排出して搬送車へ又は利用者が収納ボックスを受け取り可能な載置台へ移送するよう収納装置に対して指示する移送指示処理と、移送指示処理における指示に応じて収納ボックスが搬送車へ移送された場合に、利用者が利用する場所を搬送先として移動するよう搬送車に対して指示する搬送指示処理とを行う制御部、を備える。
【選択図】図1
特許請求の範囲
【請求項1】
収容物を収容可能な収納ボックスを収納する収納装置、及び、前記収納ボックスを搬送する搬送車を制御する制御装置であって、
前記収納装置が収納している前記収納ボックスのうち利用者が使用する収納ボックスを、前記収納装置内において前記収納ボックスを搬送する搬送装置により前記収納装置外に排出して前記搬送車へ又は前記利用者が前記収納ボックスを受け取り可能な載置台へ移送するよう前記収納装置に対して指示する移送指示処理と、前記指示に応じて前記収納ボックスが前記搬送車へ移送された場合に、前記利用者が利用する場所を搬送先として移動するよう前記搬送車に対して指示する搬送指示処理とを行う制御部、
を備える制御装置。
続きを表示(約 1,200 文字)
【請求項2】
前記制御部は、端末装置に表示された地図情報において前記搬送先として指定された場所の情報を受信する、
請求項1に記載の制御装置。
【請求項3】
前記制御部は、前記利用者により入力された予約時刻に、前記搬送車への移送を指示する前記移送指示処理を開始する、
請求項1に記載の制御装置。
【請求項4】
前記制御部は、検出された前記利用者の位置の情報に基づき決定した時刻に、前記搬送車への移送を指示する前記移送指示処理を開始する、
請求項1に記載の制御装置。
【請求項5】
前記制御部は、所定の場所に設置されたセンサが前記利用者を検出した場合に、又は、前記センサが前記利用者を検出してから所定時間経過した場合に、前記搬送車への移送を指示する前記移送指示処理を開始する、
請求項1に記載の制御装置。
【請求項6】
前記制御部は、前記利用者が前記場所の利用を開始した場合に、前記利用者が予め指定した前記場所の利用開始時刻になった場合に、あるいは、前記利用開始時刻から所定時間前の又は経過した時刻になった場合に、前記搬送車への移送を指示する前記移送指示処理を開始する、
請求項1に記載の制御装置。
【請求項7】
前記制御部は、利用者のタスクの開始予定時刻になった場合、あるいは、前記開始予定時刻から所定時間前の又は経過した時刻になった場合に、前記移送指示処理を開始し、前記利用者が前記タスクに使用する前記収納ボックスを前記搬送車へ移送するよう指示する、
請求項1に記載の制御装置。
【請求項8】
前記制御部は、利用者のタスクのステータスの情報が未完を示す場合、前記移送指示処理において、前記利用者が前記タスクに使用する前記収納ボックスを前記搬送車へ移送するよう指示する、
請求項1に記載の制御装置。
【請求項9】
会議室で行われた過去の会議の出席者の情報と、前記会議の際に使用された前記収納ボックスの情報とを記憶する記憶部を有し、
前記制御部は、前記搬送先が前記出席者との会議を行う会議室である場合に、前記出席者との過去の会議の際に使用された前記収納ボックスの情報を前記記憶部から読み出し、前記移送指示処理において、読み出した前記情報が示す前記収納ボックスを前記搬送車へ移送するよう指示する、
請求項1に記載の制御装置。
【請求項10】
前記制御部は、前記移送指示処理において、前記利用者が使用する複数の前記収納ボックスを複数台の前記搬送車へ移送するよう指示し、前記搬送指示処理において、複数の前記搬送車のうち先頭の搬送車を除いた搬送車に、先に前記搬送先に移動した他の搬送車に追従して移動するよう指示する、
請求項1に記載の制御装置。
(【請求項11】以降は省略されています)
発明の詳細な説明
【技術分野】
【0001】
本発明は、制御装置、収納システム、端末装置及びプログラムに関する。
続きを表示(約 1,400 文字)
【背景技術】
【0002】
従来、オフィス等の執務空間においては、業務を行う際、予め、利用者ごとに割り当てられたデスクを利用していた。これに対し,近年、複数のデスクの中から、空いているデスクを利用者が自由に選択して利用する、いわゆるフリーアドレス化が図られることがある。
【0003】
この場合、利用者は、自らが使用する書類、文具、ノート型PC(パーソナルコンピュータ)等の使用物を、ロッカーや収納棚等の収納什器に収納しておく。デスクを利用する際、利用者は、使用物を収納什器から取出し、利用するデスクまで運ぶ。デスクの利用を終了する際、利用者は、使用物をデスクから収納什器に戻す。
【0004】
一方、オフィスで使用する書類を格納する自動書庫には、複数の書庫を有し、利用頻度によって書類をそれら書庫に分散して格納するものがある(例えば、特許文献1参照)。この自動書庫では、搬送機が書庫間の書類を搬送することにより分散格納を実現している。また、オフィス内のミーティングスペースにワーカが存在する場合に、自律移動装置がそのミーティングスペースにおいて飲食物を搬送して提供するシステムがある(例えば、特許文献2参照)。
【先行技術文献】
【特許文献】
【0005】
特開平6-327520号公報
特開2022-64775号公報
【発明の概要】
【発明が解決しようとする課題】
【0006】
利用者は、使用物を収納什器から出し入れする際、自らに割り当てられた収納什器の位置まで赴く必要がある。収納什器は、執務空間の有効利用を図るため、執務空間の壁面に沿った位置等に設けられることも多い。このため、収納什器からデスクまでの距離が長くなり、使用物を運ぶのに手間が掛かることもある。従来技術はこのような煩雑な作業を軽減するものではない。
【0007】
本発明は、利用者にとっての収納什器利用の利便性を高めることができる制御装置、収納システム、端末装置及びプログラムを提供することを目的とする。
【課題を解決するための手段】
【0008】
上記課題を解決するために、本発明は以下の態様を採用した。
(1)本発明の一態様は、収容物を収容可能な収納ボックスを収納する収納装置、及び、前記収納ボックスを搬送する搬送車を制御する制御装置であって、前記収納装置が収納している前記収納ボックスのうち利用者が使用する収納ボックスを、前記収納装置内において前記収納ボックスを搬送する搬送装置により前記収納装置外に排出して前記搬送車へ又は前記利用者が前記収納ボックスを受け取り可能な載置台へ移送するよう前記収納装置に対して指示する移送指示処理と、前記指示に応じて前記収納ボックスが前記搬送車へ移送された場合に、前記利用者が利用する場所を搬送先として移動するよう前記搬送車に対して指示する搬送指示処理とを行う制御部、を備える。
【0009】
(2)上記(1)の態様に係る制御装置において、前記制御部は、端末装置に表示された地図情報において前記搬送先として指定された場所の情報を受信する。
【0010】
(3)上記(1)の態様に係る収納装置において、前記制御部は、前記利用者により入力された予約時刻に、前記搬送車への移送を指示する前記移送指示処理を開始する。
(【0011】以降は省略されています)
この特許をJ-PlatPat(特許庁公式サイト)で参照する
関連特許
株式会社オカムラ
収納装置
15日前
株式会社オカムラ
収納装置
15日前
株式会社オカムラ
収納装置
15日前
株式会社オカムラ
収納装置
15日前
株式会社オカムラ
天板付什器
1か月前
株式会社オカムラ
天板付什器
1か月前
株式会社オカムラ
天板付什器
5日前
株式会社オカムラ
天板付什器
5日前
株式会社オカムラ
防水板装置
16日前
株式会社オカムラ
収納ボックス
15日前
株式会社オカムラ
ショーケース
1か月前
株式会社オカムラ
什器システム
15日前
株式会社オカムラ
天板昇降式什器
15日前
株式会社オカムラ
空間形成用什器
17日前
株式会社オカムラ
移動間仕切装置
8日前
株式会社オカムラ
移動間仕切装置
8日前
株式会社オカムラ
天板昇降式什器
1か月前
株式会社オカムラ
天板昇降式什器
15日前
株式会社オカムラ
間仕切パネル装置
9日前
株式会社オカムラ
故障予知システム
9日前
株式会社オカムラ
モバイルバッテリ
5日前
株式会社オカムラ
オフィス収納装置
15日前
株式会社オカムラ
天板付什器、什器システム
5日前
株式会社オカムラ
天板付什器、什器システム
5日前
株式会社オカムラ
什器ユニットおよび天板付什器
5日前
株式会社オカムラ
天板付き什器、及び、什器ユニット
5日前
株式会社オカムラ
空間形成什器ユニット、及び、空間形成什器
29日前
株式会社オカムラ
制御装置、収納システム、端末装置及びプログラム
15日前
株式会社オカムラ
制御装置、収納システム、端末装置及びプログラム
15日前
株式会社オカムラ
椅子
24日前
株式会社オカムラ
ブース
4日前
株式会社オカムラ
ブース
4日前
株式会社オカムラ
什器システム
1か月前
個人
箱
11か月前
個人
ゴミ箱
11か月前
個人
収容箱
2か月前
続きを見る
他の特許を見る