TOP
|
特許
|
意匠
|
商標
特許ウォッチ
Twitter
他の特許を見る
公開番号
2025140846
公報種別
公開特許公報(A)
公開日
2025-09-29
出願番号
2024040447
出願日
2024-03-14
発明の名称
什器ユニットおよび天板付什器
出願人
株式会社オカムラ
代理人
個人
主分類
A47B
13/00 20060101AFI20250919BHJP(家具;家庭用品または家庭用設備;コーヒーひき;香辛料ひき;真空掃除機一般)
要約
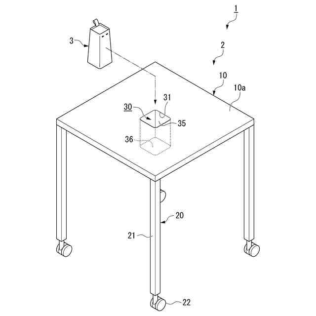
【課題】モバイルバッテリ使用時においても、作業エリアである天板上方の空間を広く使用することができると共に、モバイルバッテリを確実に保持することが可能な什器ユニットを提供する。
【解決手段】什器ユニット1は、上方を向く上面10aを有し、上面10aに開口した収容凹部30が形成された天板10と、床面上に配設されているとともに天板10を支持する支持構造体と、収容凹部30に収容された下部501を有するモバイルバッテリ3と、を備える。
【選択図】図3
特許請求の範囲
【請求項1】
上方を向く作業面を有し、前記作業面に開口した収容凹部が形成された天板と、
床面上に配設されているとともに前記天板を支持する支持構造体と、
前記収容凹部に取り出し可能に収容された下部を有するモバイルバッテリと、
を備える什器ユニット。
続きを表示(約 720 文字)
【請求項2】
前記モバイルバッテリは、前記作業面よりも上方に位置する上部を有し、
電力を出力するポートが前記上部に設けられている、
請求項1に記載の什器ユニット。
【請求項3】
前記ポートが前記上部の側面に設けられている、
請求項2に記載の什器ユニット。
【請求項4】
前記作業面上の前記収容凹部の開口縁と前記モバイルバッテリとの間に隙間が形成されている、
請求項1から請求項3のいずれか1項に記載の什器ユニット。
【請求項5】
前記隙間は、前記モバイルバッテリの周囲の全体に形成されている、
請求項4に記載の什器ユニット。
【請求項6】
前記収容凹部を画成し、前記モバイルバッテリを保持するバッテリ保持部を備え、
前記バッテリ保持部は、前記収容凹部と前記天板の下方空間とを連通させる貫通孔を有する、
請求項1から請求項3のいずれか1項に記載の什器ユニット。
【請求項7】
前記モバイルバッテリの重心は、前記下部に位置する、
請求項1から請求項3のいずれか1項に記載の什器ユニット。
【請求項8】
前記モバイルバッテリは、バッテリセルの残量に関する情報を表示する表示部を有し、
前記表示部は、前記作業面よりも上方に位置する、
請求項1から請求項3のいずれか1項に記載の什器ユニット。
【請求項9】
請求項1から請求項3のいずれか1項に記載の什器ユニットに用いられる天板付什器であって、
前記支持構造体および前記天板を有する天板付什器。
発明の詳細な説明
【技術分野】
【0001】
本発明は、什器ユニットおよび天板付什器に関するものである。
続きを表示(約 1,300 文字)
【背景技術】
【0002】
オフィスや公共施設等の執務空間においては、執務者に作業エリアを提供するために天板付什器が配設されているのが一般的である。また、近年では執務に電子機器を使用することが一般的になっているため、天板付什器においても電子機器に電源を供給可能となっているのが望ましい。
【0003】
こうした状況を考慮し、執務エリアの壁面や床面に設けられた電源コンセントに接続された配線ケーブルを天板付什器に設けられた配線収容空間内に収容し、配線収容空間から天板付什器の天板上に設けられた開口部を介して、天板上に案内可能としたものが多くみられている。また、天板上面に配線収容空間内に配設した配線ケーブルと接続された電源コンセントを設け、電子機器に電源供給可能とする方法も多くみられている(例えば、特許文献1参照)。
【先行技術文献】
【特許文献】
【0004】
特許第7244261号公報
【発明の概要】
【発明が解決しようとする課題】
【0005】
しかしながら、従来の電源の供給方法では、執務エリアの壁面または床面に設けられた電源コンセントと什器とを配線ケーブルで接続する必要がある。このため、什器を執務エリア内の任意の位置に移動させて使用したい場合においては、配線ケーブルの抜き差しが生じることになると共に、配線ケーブルの長さによって配置の自由度が制限されてしまうという問題を有していた。
【0006】
こうした問題を鑑み、大容量のモバイルバッテリを使用して電子機器に電源を供給する方法も採用されている。しかしながら、モバイルバッテリを天板上に載置すると天板上の作業エリアが狭められると共に、作業時の意図しない接触によってモバイルバッテリが天板上から落下するおそれがある。
【0007】
そこで本発明は、モバイルバッテリ使用時においても、作業エリアである天板上方の空間を広く使用することができると共に、モバイルバッテリを確実に保持することが可能な什器ユニットおよび天板付什器を提供するものである。
【課題を解決するための手段】
【0008】
本発明の第1の態様に係る什器ユニットは、上方を向く作業面を有し、前記作業面に開口した収容凹部が形成された天板と、床面上に配設されているとともに前記天板を支持する支持構造体と、前記収容凹部に取り出し可能に収容された下部を有するモバイルバッテリと、を備える。
【0009】
第1の態様によれば、天板および支持構造体を有する天板付什器にモバイルバッテリを確実に保持させることができるとともに、モバイルバッテリのうち少なくとも下部が収容凹部に収容されるので天板上にモバイルバッテリを載置する場合と比較して天板上方の空間を広く使用することができる。
【0010】
本発明の第2の態様に係る什器ユニットは、上記第1の態様に係る什器ユニットにおいて、前記モバイルバッテリは、前記作業面よりも上方に位置する上部を有し、電力を出力するポートが前記上部に設けられていてもよい。
(【0011】以降は省略されています)
この特許をJ-PlatPat(特許庁公式サイト)で参照する
関連特許
株式会社オカムラ
椅子
2か月前
株式会社オカムラ
台車
1か月前
株式会社オカムラ
台車
1か月前
株式会社オカムラ
台車
1か月前
株式会社オカムラ
収納装置
12日前
株式会社オカムラ
収納装置
12日前
株式会社オカムラ
収納装置
12日前
株式会社オカムラ
収納装置
12日前
株式会社オカムラ
天板付什器
2日前
株式会社オカムラ
天板付什器
2日前
株式会社オカムラ
天板付什器
1か月前
株式会社オカムラ
防水板装置
13日前
株式会社オカムラ
天板付什器
1か月前
株式会社オカムラ
収納ボックス
12日前
株式会社オカムラ
什器システム
12日前
株式会社オカムラ
管理システム
1か月前
株式会社オカムラ
ショーケース
1か月前
株式会社オカムラ
天板昇降式什器
28日前
株式会社オカムラ
移動間仕切装置
5日前
株式会社オカムラ
天板昇降式什器
12日前
株式会社オカムラ
天板昇降式什器
12日前
株式会社オカムラ
空間形成用什器
14日前
株式会社オカムラ
移動間仕切装置
5日前
株式会社オカムラ
間仕切パネル装置
6日前
株式会社オカムラ
モバイルバッテリ
2日前
株式会社オカムラ
オフィス収納装置
12日前
株式会社オカムラ
故障予知システム
6日前
株式会社オカムラ
ショッピングカート
1か月前
株式会社オカムラ
ショッピングカート
1か月前
株式会社オカムラ
ショッピングカート
1か月前
株式会社オカムラ
ショッピングカート
1か月前
株式会社オカムラ
天板付什器、什器システム
2日前
株式会社オカムラ
天板付什器、什器システム
2日前
株式会社オカムラ
パネル体および間仕切り装置
2か月前
株式会社オカムラ
什器ユニットおよび天板付什器
2日前
株式会社オカムラ
天板付き什器、及び、什器ユニット
2日前
続きを見る
他の特許を見る