TOP
|
特許
|
意匠
|
商標
特許ウォッチ
Twitter
他の特許を見る
10個以上の画像は省略されています。
公開番号
2025141170
公報種別
公開特許公報(A)
公開日
2025-09-29
出願番号
2024040981
出願日
2024-03-15
発明の名称
天板付什器、什器システム
出願人
株式会社オカムラ
代理人
個人
主分類
A47B
13/02 20060101AFI20250919BHJP(家具;家庭用品または家庭用設備;コーヒーひき;香辛料ひき;真空掃除機一般)
要約
【課題】天板付什器に対して幅方向、前後方向で隣接する対象物と、天板付什器の天板との間に、隙間を容易に形成することができる天板付什器、什器システムを提供する。
【解決手段】天板付き什器は、床面上に設けられる支持構造体と、支持構造体により下方から支持される天板と、を有する。支持構造体は、上方から見た際、天板に対して幅方向の外側に突出し、当該天板付什器に幅方向に隣接する第一の対象物に対して当接可能な第一当接部と、上方から見た際、天板に対して水平面内で幅方向に交差する前後方向の一方側に突出し、当該天板付什器に前後方向の一方側に隣接する第二の対象物に対して当接可能な第二当接部と、を有する。
【選択図】図1
特許請求の範囲
【請求項1】
床面上に設けられる支持構造体と、
前記支持構造体により下方から支持される天板と、を有する天板付什器であって、
前記支持構造体は、
上方から見た際、前記天板に対して幅方向の外側に突出し、当該天板付什器に前記幅方向に隣接する第一の対象物に対して当接可能な第一当接部と、
上方から見た際、前記天板に対して水平面内で前記幅方向に交差する前後方向の一方側に突出し、当該天板付什器に前記前後方向の一方側に隣接する第二の対象物に対して当接可能な第二当接部と、を有する
天板付什器。
続きを表示(約 770 文字)
【請求項2】
前記支持構造体は、
前記天板から下方に延びる上部支持体と、
前記上部支持体の下端から、前記前後方向に延びる下部支持体と、を備え、
前記第一当接部、および前記第二当接部は、前記下部支持体に設けられている
請求項1に記載の天板付什器。
【請求項3】
前記第一当接部は、前記下部支持体の前記前後方向の全長にわたって延びている
請求項2に記載の天板付什器。
【請求項4】
前記下部支持体は、
前記上部支持体の下端部に着脱可能に接続される接続部と、
前記接続部から前記前後方向の少なくとも一方に延びる下部延在部と、を一体に有し、
前記第一当接部、および前記第二当接部は、前記下部延在部に形成されている
請求項2又は3に記載の天板付什器。
【請求項5】
前記支持構造体は、前記幅方向に間隔をあけて一対設けられ、
前記支持構造体の各々の前記下部延在部における前記幅方向の内側の縁部は、前記接続部における前記幅方向の内側を向く内向面に対し、前記幅方向の外側に偏って配置されている
請求項4に記載の天板付什器。
【請求項6】
前記上部支持体は、上下方向に伸縮可能である
請求項2に記載の天板付什器。
【請求項7】
請求項1又は2に記載の天板付什器と、
前記床面上で前記天板付什器に対して前記幅方向に隣り合って配置され、前記第一当接部が当接する第一被当接部を有する第一の対象物と、
前記床面上で前記天板付什器に対して前記前後方向に隣り合って配置され、前記第二当接部が当接する第二被当接部を有する第二の対象物と、を備える
什器システム。
発明の詳細な説明
【技術分野】
【0001】
本発明は、天板付什器、什器システムに関する。
続きを表示(約 2,300 文字)
【背景技術】
【0002】
オフィスや公共施設等において、各種作業を行うことのできる作業面を有した天板を備えた天板付什器(例えば、デスクやテーブル等)が用いられている。このような天板付什器において、天板と、天板付什器と隣り合って配置された他の什器や壁等との間に、隙間をあけて配置することがある。このような場合、天板付什器の位置がずれると、天板と、他の什器や壁等との間の隙間が変動してしまう。
【0003】
このため、例えば、特許文献1には、天板付什器の脚体の下部支持体の下面に設けられ、下部支持体から側方に突出する位置決め部材を備える構成が開示されている。この構成において、下部支持体から側方に突出させた位置決め部材を、他の什器の下部支持体や壁等に突き当てることで、天板と、隣接する他の什器や壁等との間に隙間を形成しつつ、天板付什器と他の什器や壁等との位置関係がずれるのを抑えている。
【先行技術文献】
【特許文献】
【0004】
特許第6508811号公報
【発明の概要】
【発明が解決しようとする課題】
【0005】
しかしながら、特許文献1に開示された構成では、天板付什器の天板と、天板付什器に対して前後方向に向かい合って配置された他の什器や壁等との間に隙間を形成することができない。また、下部支持体に、位置決め部材を取り付けるのに手間が掛かる。
本発明は、天板付什器に対して幅方向、前後方向で隣接する対象物と、天板付什器の天板との間に、隙間を容易に形成することができる天板付什器、什器システムを提供することを目的とする。
【課題を解決するための手段】
【0006】
上記課題を解決するために、本発明は以下の態様を採用した。
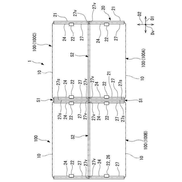
(1)本発明の一態様に係る天板付什器は、床面上に設けられる支持構造体と、前記支持構造体により下方から支持される天板と、を有する天板付什器であって、前記支持構造体は、上方から見た際、前記天板に対して幅方向の外側に突出し、当該天板付什器に前記幅方向に隣接する第一の対象物に対して当接可能な第一当接部と、上方から見た際、前記天板に対して水平面内で前記幅方向に交差する前後方向の一方側に突出し、当該天板付什器に前記前後方向の一方側に隣接する第二の対象物に対して当接可能な第二当接部と、を有する。
本態様によれば、第一当接部と第一の対象物とを当接させることで、天板と第一の対象物との間に、配線などを挿通可能な隙間を形成できる。また、第二当接部と第二の対象物とを当接させることで、天板と第一の対象物との間に、配線などを挿通可能な隙間を形成できる。しかも、第一当接部、第二当接部を設けるために、支持構造体に別部材を取り付ける必要も無い。したがって、天板付什器に対して幅方向、前後方向で隣接する対象物と、天板付什器の天板との間に、隙間を容易に形成することができる。
【0007】
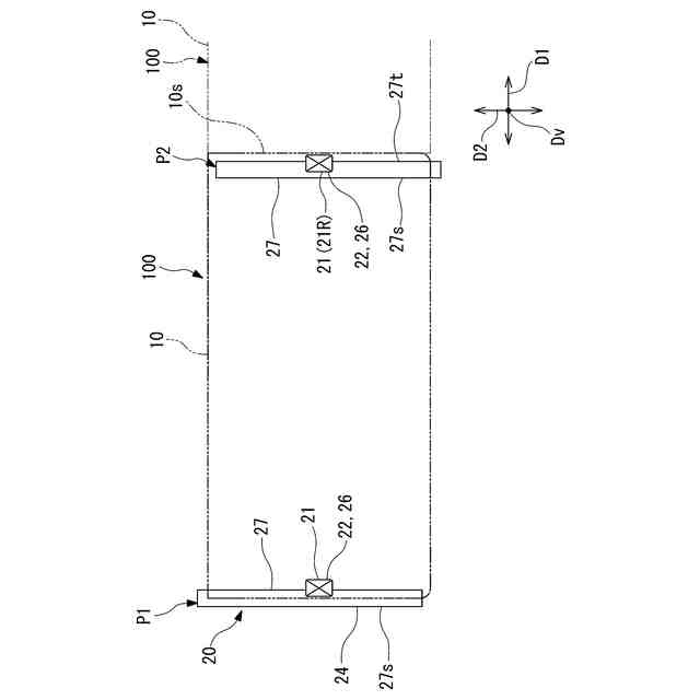
(2)上記(1)の態様に係る天板付什器において、前記支持構造体は、前記天板から下方に延びる上部支持体と、前記上部支持体の下端から、前記前後方向に延びる下部支持体と、を備え、前記第一当接部、および前記第二当接部は、前記下部支持体に設けられていることが好ましい。
本態様によれば、下部支持体に設けられた第一当接部、および第二当接部を、第一の対象物、および第二の対象物に当接させることで、天板付什器に対して幅方向、前後方向で隣接する対象物と、天板付什器の天板との間に、隙間を形成できる。
【0008】
(3)上記(2)の態様に係る天板付什器において、前記第一当接部は、前記下部支持体の前記前後方向の全長にわたって延びていることが好ましい。
本態様によれば、第一当接部と第一の対象物の接触領域が前後方向に長くなり、天板付什器を第一の対象物対象物に対して安定的に位置決めできる。
【0009】
(4)上記(2)または(3)に係る天板付什器において、前記下部支持体は、
前記上部支持体の下端部に着脱可能に接続される接続部と、
前記接続部から前記前後方向の少なくとも一方に延びる下部延在部と、を一体に有し、
前記第一当接部、および前記第二当接部は、前記下部延在部に形成されていることが好ましい。
本態様によれば、下部支持体の接続部を、上部支持体の下端部に接続することで、天板付什器の支持構造体を組み立てることができる。
【0010】
(5)上記(4)の態様に係る天板付什器において、前記支持構造体は、前記幅方向に間隔をあけて一対設けられ、前記支持構造体の各々の前記下部延在部における前記幅方向の内側の縁部は、前記接続部における前記幅方向の内側を向く内向面に対し、前記幅方向の外側に偏って配置されていることが好ましい。
本態様によれば、上部支持体の下端部に接続部を接続した状態で、下部延在部の幅方向の内側の縁部が、上部支持体の内向面に対し、幅方向の外側に偏って配置することとなる。これにより、一対の支持構造体の上部支持体同士の幅方向の間隔に対し、下部延在部同士の幅方向の間隔が広くなる。したがって、天板の下方の空間において、椅子等に着座した利用者の下肢を納める空間が広くなり、利用者にとっての快適性が向上する。
(【0011】以降は省略されています)
この特許をJ-PlatPat(特許庁公式サイト)で参照する
関連特許
株式会社オカムラ
台車
1か月前
株式会社オカムラ
台車
1か月前
株式会社オカムラ
台車
1か月前
株式会社オカムラ
収納装置
16日前
株式会社オカムラ
収納装置
16日前
株式会社オカムラ
収納装置
16日前
株式会社オカムラ
収納装置
16日前
株式会社オカムラ
天板付什器
1か月前
株式会社オカムラ
防水板装置
17日前
株式会社オカムラ
天板付什器
1か月前
株式会社オカムラ
天板付什器
6日前
株式会社オカムラ
天板付什器
6日前
株式会社オカムラ
収納ボックス
16日前
株式会社オカムラ
管理システム
1か月前
株式会社オカムラ
ショーケース
1か月前
株式会社オカムラ
什器システム
16日前
株式会社オカムラ
天板昇降式什器
1か月前
株式会社オカムラ
天板昇降式什器
16日前
株式会社オカムラ
移動間仕切装置
9日前
株式会社オカムラ
空間形成用什器
18日前
株式会社オカムラ
移動間仕切装置
9日前
株式会社オカムラ
天板昇降式什器
16日前
株式会社オカムラ
オフィス収納装置
16日前
株式会社オカムラ
故障予知システム
10日前
株式会社オカムラ
間仕切パネル装置
10日前
株式会社オカムラ
モバイルバッテリ
6日前
株式会社オカムラ
ショッピングカート
1か月前
株式会社オカムラ
ショッピングカート
1か月前
株式会社オカムラ
ショッピングカート
1か月前
株式会社オカムラ
ショッピングカート
1か月前
株式会社オカムラ
天板付什器、什器システム
6日前
株式会社オカムラ
天板付什器、什器システム
6日前
株式会社オカムラ
什器ユニットおよび天板付什器
6日前
株式会社オカムラ
天板付き什器、及び、什器ユニット
6日前
株式会社オカムラ
空間形成什器ユニット、及び、空間形成什器
1か月前
株式会社オカムラ
制御装置、収納システム、端末装置及びプログラム
16日前
続きを見る
他の特許を見る