TOP
|
特許
|
意匠
|
商標
特許ウォッチ
Twitter
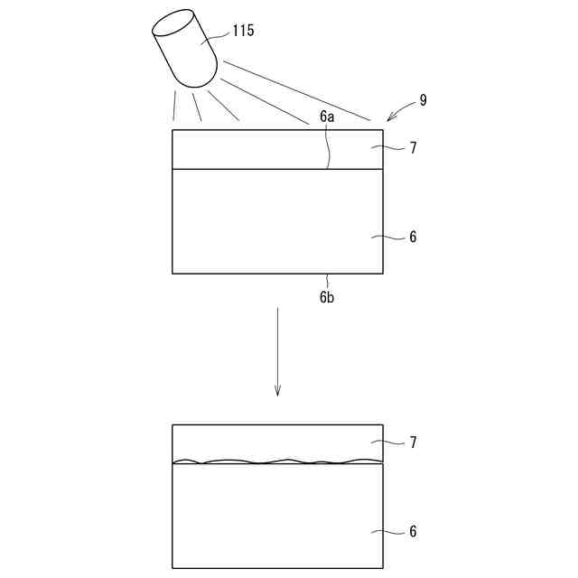
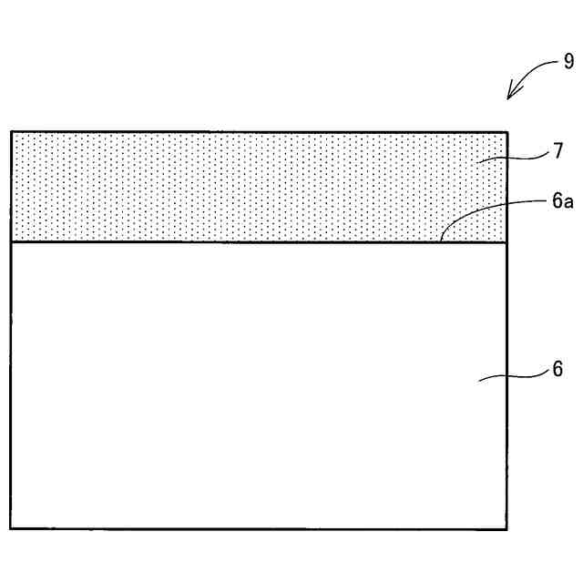
他の特許を見る
公開番号
2025137186
公報種別
公開特許公報(A)
公開日
2025-09-19
出願番号
2024036242
出願日
2024-03-08
発明の名称
層形成方法、基材再生方法、及び印刷物製造方法
出願人
ブラザー工業株式会社
代理人
個人
,
個人
主分類
B41M
5/00 20060101AFI20250911BHJP(印刷;線画機;タイプライター;スタンプ)
要約
【課題】光重合開始剤を含むことによって、発生する臭気の問題がなく、印刷物の劣化を抑制し、且つ、基材の再利用が容易であり、しかも人や環境へのリスクを小さくできる層形成方法を提供する。
【解決手段】層形成方法は、水に可溶であり、電子線の照射によって重合反応が進行する重合性化合物と水とを含有する水性組成物をシート6に塗布または吐出する塗布工程と、シート6に塗布又は吐出された上記水性組成物を乾燥する乾燥工程と、を備える。上記水性組成物中に紫外線で励起する光重合開始剤を含まない。上記水性組成物による剥離可能な塗膜層7をシート6に形成する。
【選択図】図3
特許請求の範囲
【請求項1】
水に可溶であり、電子線の照射によって重合反応が進行する重合性化合物と水とを含有する水性組成物を基材に塗布または吐出する塗布工程と、
上記基材に塗布又は吐出された上記水性組成物を乾燥する乾燥工程と、を備え、
上記水性組成物中に紫外線で励起する光重合開始剤を含まず、
上記水性組成物による剥離可能な塗膜層を上記基材に形成する層形成方法。
続きを表示(約 830 文字)
【請求項2】
上記塗布工程においてインクジェットヘッドにより上記水性組成物を上記基材に吐出する請求項1に記載の層形成方法。
【請求項3】
上記塗膜層は、印刷層であることを特徴とする請求項1に記載の層形成方法。
【請求項4】
上記水性組成物は、色材を含む水性インクであり、
上記塗布工程は、上記基材に上記水性インクを塗布又は吐出する印刷工程である請求項1に記載の層形成方法。
【請求項5】
上記基材に塗布又は吐出された上記塗膜層上に印刷インクを吐出又は塗布する印刷工程を更に備え、
上記乾燥工程は、上記印刷工程の後または上記塗布工程と上記印刷工程との間に実行する請求項1に記載の層形成方法。
【請求項6】
上記水性組成物は、上記塗膜層を形成するバインダー樹脂を含んでおり、
上記乾燥工程は、上記塗布工程において上記基材に塗布又は吐出された上記水性組成物を50℃から220℃の範囲内の温度で乾燥させる工程である請求項1から5のいずれかに記載の層形成方法。
【請求項7】
上記水性組成物は、上記塗膜層を形成するバインダー樹脂を含んでおり、
上記乾燥工程は、上記塗布工程において上記基材に塗布又は吐出された上記水性組成物を50℃から150℃の範囲内の温度で乾燥させる工程である請求項1から5のいずれかに記載の層形成方法。
【請求項8】
上記水性組成物は、上記塗膜層を形成するバインダー樹脂を含んでおり、上記バインダー樹脂が上記水に分散したエマルジョンの状態である請求項1から5のいずれかに記載の層形成方法。
【請求項9】
上記基材は、非浸透性基材である請求項8に記載の層形成方法。
【請求項10】
上記基材は、透明基材である請求項9に記載の層形成方法。
(【請求項11】以降は省略されています)
発明の詳細な説明
【技術分野】
【0001】
本開示は、剥離可能な塗膜層を基材に形成する層形成方法、基材再生方法、及び印刷物製造方法に関する。
続きを表示(約 2,600 文字)
【背景技術】
【0002】
近年、環境意識の高まりによりリサイクルが注目されている。印刷分野ではパッケージ等に印刷が施された商品の使用後に、パッケージ等からインクを取り除き、パッケージ等を構成する基材をリサイクルする必要性が叫ばれている。一例として、プラスチックを使用したパッケージ又はプラスチックボトル等のプラスチック製品は海洋における環境汚染問題となっている。例えば、プラスチックは自然界で分解しにくいことから、一部は分別・回収されており、リサイクルされている。しかしながら、印刷等が施されたプラスチック製品がリサイクル過程において混入すると、リサイクル品が着色されることから、再利用できないケースが存在する。このような印刷等が施されたプラスチック製品は、再利用されず廃棄されることがある。廃棄されたプラスチック製品が最終的に海洋に行き着いた場合、プラスチック製品は海水中で分解されてマイクロプラスチックとなる。魚類などの海洋生物がマイクロプラスチックを摂取すれば、海洋生物の体内中で濃縮される。このとき、人間がこのような海洋生物を食料として摂取すると、人間の健康にも影響することが懸念される。このような問題はプラスチックに限らず、印刷が施される他の素材の基材に対しても言える問題と考えられる。
【0003】
印刷等が施された基材をリサイクルする観点から、基材から印刷物を除去する方法が従来から検討されている。例えば、特許文献1の記録媒体形成方法は、疎水性の透明な記録媒体の表面に、紫外線硬化型の成分を含有する粘着剤層と基材層とからなる除去可能な膜を形成する工程と、除去可能な膜の基材層の表面上に画像を形成する工程と、を備える。上記記録媒体形成方法では、作業者は、透明な記録媒体を再利用する際に、除去可能な膜に紫外線を照射して紫外線硬化型の成分を重合反応させることにより、除去可能な膜を収縮させる。その結果、除去可能な膜の透明な記録媒体への密着力が低下し、除去可能な膜が透明な記録媒体から除去される。
【先行技術文献】
【特許文献】
【0004】
特開2000-98648号公報
【発明の概要】
【発明が解決しようとする課題】
【0005】
上記記録媒体形成方法では、除去可能な膜の粘着剤層が、疎水性の油系の組成物で構成されている。この油系の組成物が作業者に暴露するリスクや、油系の組成物が環境に悪影響を及ぼすリスクがある。また、粘着剤層が疎水性であるため、疎水性の透明な記録媒体と粘着剤層との密着性は高くなる一方で、リサイクル過程において紫外線を照射しても、粘着剤層が透明な記録媒体から除去し難くなるおそれがある。
【0006】
また、この粘着剤層中に光重合開始剤が存在しているが、当該光重合開始剤が透明な記録媒体へ浸食してしまう可能性がある。よって、仮に、粘着剤層が透明な記録媒体から除去できたとしても、この浸食が、記録媒体の特性の変化を引き起してしまい、透明な記録媒体を再利用できなくなるおそれがあった。また、粘着剤層中に光重合開始剤が存在すると、自然光にて粘着剤層は収縮し得るため、意図せず粘着剤層を含む記録媒体が劣化してしまう可能性がある。加えて、光重合開始剤は、印刷物の臭気を発生させる懸念がある。
【0007】
本発明の目的は、光重合開始剤を含むことによって、発生する臭気の問題がなく、印刷物の劣化を抑制し、且つ、基材の再利用が容易であり、しかも人や環境へのリスクを小さくできる層形成方法、基材再生方法、及び印刷物製造方法を提供することである。
【課題を解決するための手段】
【0008】
(1)本発明は、層形成方法に関する。層形成方法は、水に可溶であり、電子線の照射によって重合反応が進行する重合性化合物と水とを含有する水性組成物を基材に塗布または吐出する塗布工程と、上記基材に塗布又は吐出された上記水性組成物を乾燥する乾燥工程と、を備える。上記水性組成物中に紫外線で励起する光重合開始剤を含まない。上記水性組成物による剥離可能な塗膜層を上記基材に形成する。
【0009】
水性組成物中に紫外線で励起する光重合開始剤が含まれていなくても、作業者は、塗膜層に電子線を照射して重合性化合物を重合反応させることにより、塗膜層を収縮させることができる。その結果、塗膜層の基材への密着力が低下するので、作業者は、塗膜層を基材から剥離させて基材を再利用することができる。剥離可能な塗膜層は水性組成物の塗膜層であることから、人や環境へのリスクを小さくできる。しかも、例えば、プラスチックのような疎水性の基材に塗膜層が形成された場合であっても、塗膜層及び基材間の密着性を適切に制御でき、過度な密着を低減できる。このため、当該層形成方法により基材に印刷をした後のリサイクル過程において、塗膜層に電子線を照射することで、塗膜層を基材から容易に剥離することができる。したがって、基材の再利用が容易である。また、光重合開始剤を含むことによって発生する基材の特性の変化が抑制されるので、塗膜層を基材から剥離した後の基材の再利用性を向上させることができる。従って、プラスチックを含め、多種多様な基材に対する印刷を可能とし、印刷後のリサイクル性を向上させることができる。水性組成物中に紫外線で励起する光重合開始剤を含まないので、光重合開始剤を含むことによって発生する、乾燥後の印刷物の臭気が抑制される。また、水性組成物中に紫外線で励起する光重合開始剤を含まないことで、乾燥後の塗膜層が自然光によって収縮しないので、水性組成物中に光重合開始剤を含む場合と比べて、印刷物の劣化が抑制される。電子線の照射によって重合性化合物が重合反応するときに、発熱しないので、基材へのダメージが抑制される。電子線は、紫外線と比べて透過性が高いので、塗膜層が膜厚であっても重合性化合物を重合反応させやすい。
【0010】
(2)上記塗布工程においてインクジェットヘッドにより上記水性組成物を上記基材に吐出してもよい。
(【0011】以降は省略されています)
この特許をJ-PlatPat(特許庁公式サイト)で参照する
関連特許
ブラザー工業株式会社
プリンタ
今日
個人
箔熱転写装置
1か月前
シヤチハタ株式会社
印判
4か月前
東レ株式会社
凸版印刷版原版
10か月前
シヤチハタ株式会社
反転式印判
9か月前
キヤノン株式会社
記録装置
28日前
三光株式会社
感熱記録材料
6か月前
独立行政法人 国立印刷局
印刷物
7か月前
日本製紙株式会社
感熱記録体
7か月前
株式会社リコー
液体吐出装置
2か月前
株式会社リコー
液体吐出装置
5か月前
株式会社リコー
液体吐出装置
4か月前
株式会社リコー
画像形成装置
12日前
株式会社リコー
液体吐出装置
8か月前
独立行政法人 国立印刷局
貼付装置
1か月前
株式会社リコー
画像形成装置
1か月前
独立行政法人 国立印刷局
記録媒体
8か月前
株式会社リコー
液体吐出装置
4か月前
株式会社リコー
液体吐出装置
7か月前
株式会社リコー
液体吐出装置
6か月前
株式会社リコー
画像形成装置
16日前
株式会社リコー
印刷システム
16日前
独立行政法人 国立印刷局
貼付機構
2か月前
株式会社リコー
液体吐出装置
7か月前
ブラザー工業株式会社
プリンタ
6か月前
ブラザー工業株式会社
プリンタ
9か月前
ブラザー工業株式会社
液体吐出ヘッド
28日前
独立行政法人 国立印刷局
潜像形成体
12日前
ブラザー工業株式会社
プリンタ
6か月前
キヤノン株式会社
画像記録装置
28日前
キヤノン株式会社
画像形成装置
5か月前
フジコピアン株式会社
中間転写シート
10か月前
キヤノン株式会社
印刷制御装置
10か月前
キヤノン株式会社
画像形成装置
7か月前
理想科学工業株式会社
印刷装置
6か月前
キヤノン株式会社
画像形成装置
8か月前
続きを見る
他の特許を見る