TOP
|
特許
|
意匠
|
商標
特許ウォッチ
Twitter
他の特許を見る
10個以上の画像は省略されています。
公開番号
2025137234
公報種別
公開特許公報(A)
公開日
2025-09-19
出願番号
2024036309
出願日
2024-03-08
発明の名称
ホース
出願人
株式会社ブリヂストン
代理人
弁理士法人太陽国際特許事務所
主分類
F16L
11/08 20060101AFI20250911BHJP(機械要素または単位;機械または装置の効果的機能を生じ維持するための一般的手段)
要約
【課題】従来技術と比較して、ホースの耐圧性を高めつつ、ホースの耐久性を高める。
【解決手段】外側補強層のスチールコードの外接断面積に対するフィラメントの合計断面積の比率の値が、内側補強層のスチールコードの前記比率の値よりも相対的に大きくなるように、比率が異なるスチールコードが外側補強層及び内側補強層それぞれに配置されている。
【選択図】図11
特許請求の範囲
【請求項1】
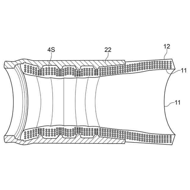
内管と、内管の外側表面に積層された複数の補強層と、当該複数の補強層の表面に形成された外面層を備えたホースであって、
前記複数の補強層のうち前記外面層に近い側の外側補強層は、複数のフィラメントを撚り合わせたスチールコードを金属補強材とするスチールコード補強層を含んで構成されていると共に、前記複数の補強層のうち前記内管に近い側の内側補強層は、前記スチールコード補強層を含んで構成されており、
前記外側補強層のスチールコードの外接断面積に対する前記フィラメントの合計断面積の比率の値が、前記内側補強層のスチールコードの前記比率の値よりも相対的に大きくなるように、前記比率が異なるスチールコードが前記外側補強層及び前記内側補強層それぞれに配置されている、
ホース。
続きを表示(約 210 文字)
【請求項2】
隣り合って積層される両補強層は、前記スチールコード補強層であり、
隣り合って積層される両スチールコード補強層のうち、前記外面層に近い側のスチールコード補強層のスチールコードの前記比率の値が、前記内管に近い側のスチールコード補強層のスチールコードの前記比率の値よりも相対的に大きくなるように、前記比率が異なるスチールコードが積層方向に隣り合って配置されている、
請求項1に記載のホース。
発明の詳細な説明
【技術分野】
【0001】
本開示は、ホースに関する。
続きを表示(約 940 文字)
【背景技術】
【0002】
建設機械、工作機械、自動車のパワーステアリング、測定機器等には、可撓性を兼ね備えた高圧耐性の高圧ホースが使用されている。
【0003】
高圧ホースは、一般的に、内側のゴム層の外周に、複数層の補強層が積層されて構成されている。補強層の補強材には、単線のワイヤ、単線のスチールフィラメント、ナイロン、ポリエステル等の繊維が使用されることが多い。
【0004】
高圧ホースの補強材には、タイヤほどの高強度と柔軟性の両立が求められない理由などにより、スチールフィラメントを撚り合わせるという工数と手間を要するスチールコードは、一般的に使用されてこなかったのが実情である。
【0005】
しかしながら、建設機械等に使用される油圧ホースには、近年の油圧システムの一層の高圧化に伴い、一層の高圧耐圧性が要求されている。
【0006】
一層の高圧耐圧性が要求されている高圧ホースに、それに応じた高強度と柔軟性を付与するためには、単線のワイヤ(スチールフィラメント)では限界がある。このためタイヤの補強に使用されているスチールフィラメントを撚り合わせたスチールコードを、高圧ホースに適用することが望まれている。
【0007】
特許文献1には、引っ張り荷重に応じた伸びを抑制するために、ホースの耐圧補強層の表面に、編組して形成したスチールコードの層を使用する態様が記載されている。
【0008】
また特許文献2には、ホースの衝撃耐久性を向上させるために、各層のスチールコードの巻き付け方向を互いに異なる方向にする態様が記載されている。
【先行技術文献】
【特許文献】
【0009】
特開2006-220290号公報
国際公開WO2018/164082
【発明の概要】
【発明が解決しようとする課題】
【0010】
本開示は、従来技術と比較して、ホースの耐圧性を高めつつ、ホースの耐久性を高めることを課題とする。
【課題を解決するための手段】
(【0011】以降は省略されています)
この特許をJ-PlatPat(特許庁公式サイト)で参照する
関連特許
株式会社ブリヂストン
ホース
14日前
株式会社ブリヂストン
タイヤ
今日
株式会社ブリヂストン
情報処理装置、情報処理方法、及び情報処理プログラム
2日前
個人
鍋虫ねじ
1か月前
個人
ホース保持具
5か月前
個人
紛体用仕切弁
1か月前
個人
回転伝達機構
1か月前
個人
トーションバー
6か月前
個人
差動歯車用歯形
3か月前
個人
ジョイント
14日前
個人
地震の揺れ回避装置
2か月前
株式会社不二工機
電磁弁
3か月前
個人
ナット
15日前
株式会社不二工機
電磁弁
4か月前
個人
回転式配管用支持具
7か月前
個人
ボルトナットセット
6か月前
個人
固着具と成形品部材
8か月前
個人
吐出量監視装置
1か月前
株式会社オンダ製作所
継手
7か月前
カヤバ株式会社
緩衝器
2か月前
カヤバ株式会社
ダンパ
3か月前
柿沼金属精機株式会社
分岐管
1か月前
カヤバ株式会社
ダンパ
3か月前
株式会社ミクニ
弁装置
7か月前
株式会社三協丸筒
枠体
6か月前
カヤバ株式会社
緩衝器
2か月前
カヤバ株式会社
緩衝器
6か月前
株式会社ミクニ
弁装置
7か月前
個人
ベルトテンショナ
7か月前
株式会社ノーリツ
分配弁
4か月前
株式会社ノーリツ
分配弁
4か月前
株式会社ノーリツ
分配弁
4か月前
協和工業株式会社
空気弁
7か月前
株式会社不二工機
逆止弁
8か月前
アズビル株式会社
回転弁
8日前
日東精工株式会社
樹脂被覆ねじ
6か月前
続きを見る
他の特許を見る