TOP
|
特許
|
意匠
|
商標
特許ウォッチ
Twitter
他の特許を見る
公開番号
2025138545
公報種別
公開特許公報(A)
公開日
2025-09-25
出願番号
2024139953,2024037381
出願日
2024-08-21,2024-03-11
発明の名称
模型素体及びその製造方法
出願人
株式会社バンダイ
代理人
弁理士法人大塚国際特許事務所
主分類
A63H
9/00 20060101AFI20250917BHJP(スポーツ;ゲーム;娯楽)
要約
【課題】本発明は、例えば、異なる素材を組み合わせて成形した新規の模型素体及びその製造方法を提供する。
【解決手段】本模型素体は、異なる色の合成樹脂で形成される複数のランナーと、複数のランナーに接続された複数のパーツとを備える。複数のパーツは、単色の合成樹脂で形成される第1パーツと、多色の合成樹脂が組み合わされて形成される第2パーツとを含む。
【選択図】図1
特許請求の範囲
【請求項1】
模型素体であって、
異なる色の合成樹脂で形成される複数のランナーと、
前記複数のランナーに接続された複数のパーツと
を備え、
前記複数のパーツは、
単色の合成樹脂で形成される第1パーツと、
多色の合成樹脂が組み合わされて形成される第2パーツとを含むことを特徴とする模型素体。
続きを表示(約 1,000 文字)
【請求項2】
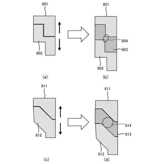
前記第2パーツは、第1色の合成樹脂で一次成形された後に金型の一部が所定方向に移動することにより確保された隙間に第2色の合成樹脂で二次成形されて形成されることを特徴とする請求項1に記載の模型素体。
【請求項3】
前記第2パーツは、前記第1色の合成樹脂と前記第2色の合成樹脂とが重なる部分において、前記金型の一部が移動した前記所定方向の側に前記第2色の合成樹脂が形成されていることを特徴とする請求項2に記載の模型素体。
【請求項4】
前記一次成形においては、前記金型の一部が固定されていることを特徴とする請求項3に記載の模型素体。
【請求項5】
前記二次成形においては、前記金型の一部の固定が解除され、前記第2色の合成樹脂の射出圧で該金型の一部が前記所定方向に移動することを特徴とする請求項4に記載の模型素体。
【請求項6】
前記金型の一部に形成される段差部分は、傾斜を含んで形成されることを特徴とする請求項5に記載の模型素体。
【請求項7】
前記第2パーツにおいて、前記第2色の合成樹脂はサブマリンゲートを介して成形されることを特徴とする請求項6に記載の模型素体。
【請求項8】
前記複数のランナーのうち、前記第1色の合成樹脂によって形成されるランナーと、前記第2色の合成樹脂によって形成されるランナーとのそれぞれは、前記複数のパーツの少なくとも1つを取り囲むように形成される第1ランナーと、該第1ランナーから枝分かれして前記複数のパーツの何れかのパーツに至る第2ランナーとから形成され、
前記第1色の合成樹脂によって形成される第1ランナーと、前記第2色の合成樹脂によって形成される第1ランナーとが接続されるとともに、前記第1色の合成樹脂によって形成される第2ランナーと、前記第2色の合成樹脂によって形成される第2ランナーとが接続されることを特徴とする請求項2乃至7の何れか1項に記載の模型素体。
【請求項9】
複数の前記第2パーツが形成されることを特徴とする請求項1乃至7の何れか1項に記載の模型素体。
【請求項10】
前記第2パーツはコアバック型又はキャビバック型により形成されることを特徴とする請求項1乃至7の何れか1項に記載の模型素体。
(【請求項11】以降は省略されています)
発明の詳細な説明
【技術分野】
【0001】
本発明は、模型素体及びその製造方法に関する。
続きを表示(約 1,600 文字)
【背景技術】
【0002】
模型玩具には、それぞれが異なる合成樹脂を使用した複数種類のパーツが用いられている。これにより、例えば複数の異なる色のパーツを組み合わせた模型玩具を実現することができる。これらのパーツは複数のパーツがランナーに接続されて形成される模型素体として形成され、組み立てる際にランナーから各パーツを取り外して使用される。
【0003】
上記模型素体は金型に合成樹脂を流し込んで成形することで製造される。このような模型素体には、1つの合成樹脂を用いて1つの模型素体を成形するものや、複数の異なる合成樹脂を用いて1つの模型素体を成形するものがある。複数の異なる合成樹脂を用いて1つの模型素体を成形する場合、異なる色のパーツを含む1つの模型素体を形成することができる。特許文献1には、合成樹脂製の模型構成部材を同一の合成樹脂ごとにまとめた複数のランナーを有する模型素体が提案されている。特許文献2には、一つの成形型で成形された成形物を取り出して次の成形型に移送し、これを包み込んだ形でインサート成形していき、一つの完成された多色成形物を一体成形する多色成形装置が提案されている。
【先行技術文献】
【特許文献】
【0004】
実公平06-7745号公報
特公平07-102590号公報
【発明の概要】
【発明が解決しようとする課題】
【0005】
上記従来技術では多色の模型素体を形成することができ、さらにインサート型や回転型の成形を行うことにより1つのパーツを多色で形成することも可能である。しかし、インサート型や回転型の成形では一次成形、二次成形など複数の成形工程ごとに金型を切り替える必要があり相当の手間を必要とする。
【0006】
本発明は、例えば、異なる素材を組み合わせて成形した新規の模型素体及びその製造方法を提供する。
【課題を解決するための手段】
【0007】
本発明は、例えば、模型素体であって、異なる色の合成樹脂で形成される複数のランナーと、前記複数のランナーに接続された複数のパーツとを備え、前記複数のパーツは、単色の合成樹脂で形成される第1パーツと、多色の合成樹脂が組み合わされて形成される第2パーツとを含むことを特徴とする。
【0008】
また、本発明は、例えば、単色の合成樹脂で形成される第1パーツと、多色の合成樹脂が組み合わされて形成される第2パーツとを含む模型素体の製造方法であって、第1色の合成樹脂を金型に射出して成形する一次成形工程と、前記金型の一部を固定するストッパーを解除する解除工程と、前記第1色とは異なる第2色の合成樹脂を前記金型に射出して成形する二次成形工程とを含み、前記二次成形工程による前記第2色の合成樹脂の射出圧により、前記金型の一部が所定方向に移動することにより確保された隙間に該第2色の合成樹脂が流入して前記第2パーツが成形されることを特徴とする。
【発明の効果】
【0009】
本発明によれば、例えば、異なる素材を組み合わせて成形した新規の模型素体及びその製造方法を提供することができる。
【図面の簡単な説明】
【0010】
一実施形態に係る模型素体の全体正面を示す図。
一実施形態に係る多色パーツを示す斜視図。
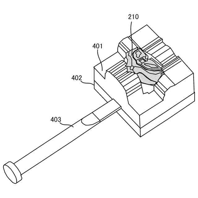
一実施形態に係る多色パーツの製造手順を示す図。
一実施形態に係る金型の一部を固定するストッパーを示す図。
一実施形態に係る多色パーツの断面を示す図。
一実施形態に係る可動コマの断面を示す図。
【発明を実施するための形態】
(【0011】以降は省略されています)
この特許をJ-PlatPat(特許庁公式サイト)で参照する
関連特許
株式会社バンダイ
玩具
1か月前
株式会社バンダイ
玩具
2日前
株式会社バンダイ
玩具
今日
株式会社バンダイ
玩具
28日前
株式会社バンダイ
玩具
7日前
株式会社バンダイ
発光玩具
14日前
株式会社バンダイ
模型部品
8日前
株式会社バンダイナムコエンターテインメント
コンピュータシステム
4日前
株式会社バンダイナムコエンターテインメント
コンピュータシステム
今日
株式会社バンダイ
模型部品及び模型玩具
1日前
株式会社バンダイナムコエンターテインメント
コンピュータシステム
4日前
株式会社バンダイ
模型部品及び模型玩具
今日
株式会社バンダイ
模型玩具、及び模型部品
1日前
株式会社バンダイ
模型玩具、及び模型部品
4日前
株式会社バンダイ
模型玩具、及び模型部品
今日
株式会社バンダイ
プログラム及び通信端末
24日前
株式会社バンダイ
プログラム及びゲーム装置
24日前
株式会社バンダイ
プログラム及びゲーム装置
24日前
株式会社バンダイ
プログラム及びゲーム装置
24日前
株式会社バンダイ
模型素体及びその製造方法
8日前
株式会社バンダイ
プログラム及びゲーム装置
24日前
株式会社バンダイ
模型部品、および模型玩具
今日
株式会社バンダイ
プログラム、及びゲーム装置
今日
株式会社バンダイ
プログラム、及びゲーム装置
25日前
株式会社バンダイ
プログラム、及びゲーム装置
25日前
株式会社バンダイ
プログラム、及びゲーム装置
今日
株式会社バンダイ
プログラム、及びゲーム装置
14日前
株式会社バンダイ
プログラム、及びゲーム装置
14日前
株式会社バンダイ
プログラム、及びゲーム装置
14日前
株式会社バンダイ
プログラム、及びゲーム装置
今日
株式会社バンダイ
プログラム、及びゲーム装置
今日
株式会社バンダイ
プログラム、及びゲーム装置
9日前
株式会社バンダイ
プログラム、及びゲーム装置
今日
株式会社バンダイナムコエンターテインメント
ゲームシステム及びプログラム
2日前
株式会社バンダイ
模型玩具用部品、および模型玩具
1日前
株式会社バンダイナムコエクスペリエンス
コンピュータシステムおよびプログラム
1日前
続きを見る
他の特許を見る