TOP
|
特許
|
意匠
|
商標
特許ウォッチ
Twitter
他の特許を見る
10個以上の画像は省略されています。
公開番号
2025138677
公報種別
公開特許公報(A)
公開日
2025-09-25
出願番号
2025094802,2022547291
出願日
2025-06-06,2021-02-01
発明の名称
ガラスリボンを製造する方法及び装置
出願人
コーニング インコーポレイテッド
代理人
個人
,
個人
,
個人
,
個人
主分類
C03B
17/06 20060101AFI20250917BHJP(ガラス;鉱物またはスラグウール)
要約
【課題】圧縮ブロックを備えるガラス製造装置を用いてガラスリボンを製造する装置を提供する。
【解決手段】凹部を定める容器面を備える第1の端部と、第2の端部とを備える成形容器と、前記凹部内に位置決めされた圧縮ブロックであって、該圧縮ブロックが、前記容器面に接触する接触面を備え、前記圧縮ブロックが前記成形容器に力を印加するように構成される圧縮ブロックと、前記圧縮ブロックを支持する支持面を備え、前記容器面から離間して支持開口部を定める第2の面を備える支持装置と、前記第2の面に取り付けられ前記支持装置と前記容器面の間の前記支持開口部内に位置決めされた絶縁ブロックであって、前記支持装置を前記成形容器から断熱するように構成された断熱材料を備える絶縁ブロックと、を備えている、ことを特徴とするガラス製造装置が提供される。
【選択図】図3
特許請求の範囲
【請求項1】
凹部を定める容器面を備える第1の端部と第2の端部とを備える成形容器と、
前記凹部内に位置決めされ、第1の面と前記容器面に接触する接触面とを備え、前記成形容器に力を印加するように構成された圧縮ブロックであって、前記第1の面が非平面形状を備える前記圧縮ブロックと、
前記圧縮ブロックを支持する支持面を備える支持装置であって、前記支持面が前記第1の面の一部分と接触している支持装置と、を備えている、
ことを特徴とするガラス製造装置。
続きを表示(約 1,700 文字)
【請求項2】
前記第1の面は、第1の面部分、第2の面部分、及び第3の面部分を備え、前記第1の面部分は前記支持面と接触し平面形状を備える、
請求項1に記載のガラス製造装置。
【請求項3】
前記第2の面部分と前記第3の面部分は、前記第1の面部分の両側に位置決めされ、前記第2の面部分は前記第1の面部分に対して約1度から約3度である第1の角度を形成し、前記第3の面部分は前記第1の面部分に対して約1度から約3度である第2の角度を形成する、
請求項2に記載のガラス製造装置。
【請求項4】
前記成形容器は、該成形容器の長手方向に対して平行である流れ方向に沿って溶融材料を受け入れるように構成され、前記圧縮ブロックは、前記流れ方向及び前記長手方向に対して平行である力方向に沿って前記力を印加するように構成される、
請求項1ないし3のいずれか1項に記載のガラス製造装置。
【請求項5】
前記圧縮ブロックは、前記接触面と前記第1の面とを接続する縁面を備え、該縁面は、丸い形状を備える、
請求項1ないし4のいずれか1項に記載のガラス製造装置。
【請求項6】
前記支持面は、支持平面に沿って延び、前記圧縮ブロックは、該支持平面の第1の側にある、
請求項1ないし5のいずれか1項に記載のガラス製造装置。
【請求項7】
前記支持装置は、前記容器面から離間して支持開口部を定める第2の面と、
前記第2の面に取り付けられて前記支持装置と前記容器面の間の前記支持開口部内に位置決めされた絶縁ブロックであって、該支持装置を前記成形容器から断熱するように構成された断熱材料を備える前記絶縁ブロック、又は
前記第2の面に取り付けられて前記支持装置と前記容器面の間の前記支持開口部内に位置決めされた加熱要素であって、前記成形容器の一部分の温度を上げるように構成された導電材料を備える前記加熱要素、
のうちの1又は2以上とを備える、
請求項1ないし6のいずれか1項に記載のガラス製造装置。
【請求項8】
凹部を定める容器面を備える第1の端部と、第2の端部とを備える成形容器と、
前記凹部内に位置決めされた圧縮ブロックであって、前記圧縮ブロックが前記容器面に接触する接触面を備え、前記圧縮ブロックが前記成形容器に力を印加するように構成される圧縮ブロックと、
前記圧縮ブロックを支持して支持平面に沿って延びる支持面を備える支持装置であって、前記圧縮ブロックが前記支持平面の第1の側に位置決めされる支持装置と、を備えている、
ことを特徴とするガラス製造装置。
【請求項9】
前記支持装置は、前記容器面から離間して支持開口部を定める第2の面と、
前記第2の面に取り付けられて前記支持装置と前記容器面の間の前記支持開口部内に位置決めされた絶縁ブロックであって、該絶縁ブロックが、前記支持平面の第2の側に位置決めされて前記圧縮ブロックから離間し、該絶縁ブロックが、該支持装置を前記成形容器から断熱するように構成された断熱材料を備える前記絶縁ブロック、又は
前記第2の面に取り付けられて前記支持装置と前記容器面の間の前記支持開口部内に位置決めされた加熱要素であって、前記加熱要素が前記支持平面の第2の側に位置決めされて前記圧縮ブロックから離間し、前記加熱要素が前記成形容器の一部分の温度を上げるように構成された導電材料を備える前記加熱要素、
のうちの1又は2以上と、を備えている、
請求項8に記載のガラス製造装置。
【請求項10】
前記圧縮ブロックは、前記接触面に対して実質的に垂直である第2の接触面を備え、前記接触面は前記容器面の第1の容器面部分と接触しており、前記第2の接触面は前記容器面の第3の容器面部分と接触している、
請求項8または9に記載のガラス製造装置。
(【請求項11】以降は省略されています)
発明の詳細な説明
【技術分野】
【0001】
〔関連出願への相互参照〕
この出願は、その内容が依存し、かつその全てが引用によって本明細書に組み込まれている2020年2月3日出願の米国仮特許出願第62/969,282号の「35 U.S.C.§119」の下での優先権の利益を主張するものである。
続きを表示(約 1,400 文字)
【0002】
本発明の開示は、一般的にガラスリボンを製造する方法に関連し、より具体的には、圧縮ブロックを備えるガラス製造装置を用いてガラスリボンを製造する方法に関する。
【背景技術】
【0003】
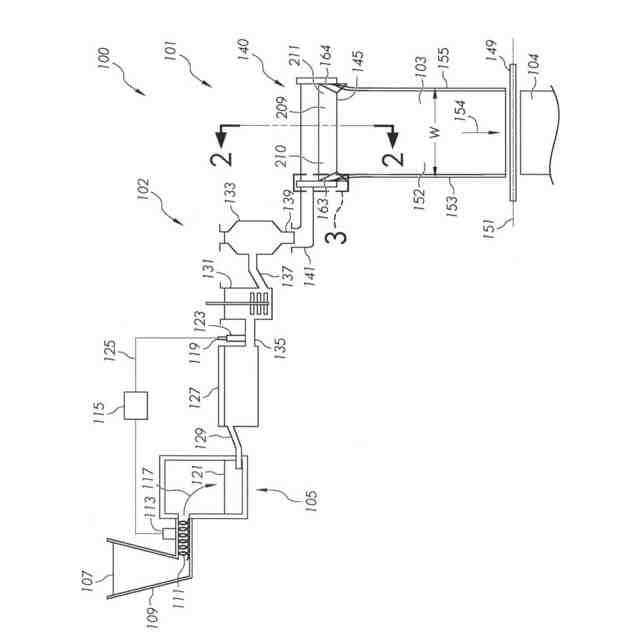
ガラス製造装置を用いて溶融材料をガラスリボンに製造することは公知である。ガラス製造装置の成形容器の弛みを低減するために、圧縮装置を用いて成形容器の端部に力を印加することができる。しかし、力の印加は、経時的に成形容器に及び/又は圧縮装置に損傷を引き起こす可能性がある。
【発明の概要】
【課題を解決するための手段】
【0004】
以下は、「発明を実施するための形態」で説明する一部の実施形態の基本的な理解を提供するために本発明の開示の簡単な要約を提示するものである。
【0005】
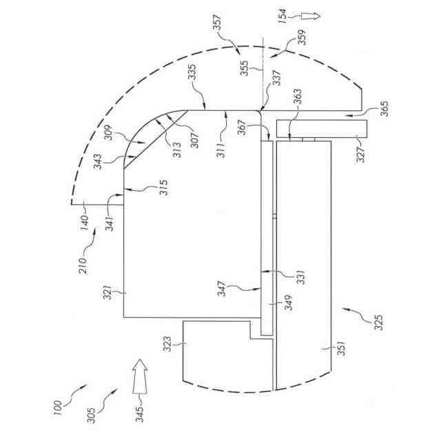
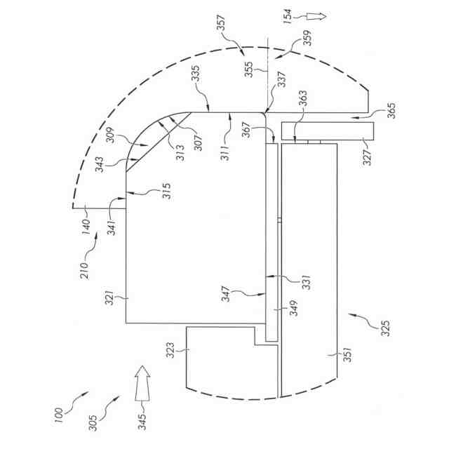
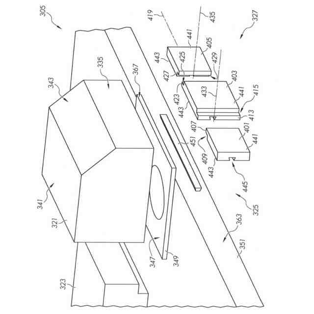
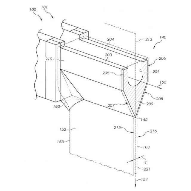
一部の実施形態では、ガラス製造装置は、成形容器の端部に力を印加することができる圧縮装置を備えることができる。圧縮装置は、成形容器の容器面と接触することができる圧縮ブロックを備えることができる。圧縮ブロックは、支持装置に対して移動することができ、摩擦低減材料が、圧縮ブロックと支持装置の間に付加され、摩擦を低減して成形容器に向う圧縮ブロックの移動を容易にする。圧縮装置は、支持装置に取り付けることができる絶縁ブロック又は加熱要素のうちの一方又は両方を備えることができる。従って、圧縮ブロックは、絶縁ブロック及び加熱要素とは独立に移動することができ、すなわち、絶縁ブロック及び/又は加熱要素が定位置に留まることを可能にする。
【0006】
一部の実施形態により、ガラス製造装置は、第1の端部と第2の端部とを備えることができる成形容器を備えることができる。第1の端部は、凹部を定める容器面を備えることができる。ガラス製造装置は、凹部内に位置決めされて第1の面と容器面に接触する接触面とを備える圧縮ブロックを備えることができる。圧縮ブロックは、成形容器に力を印加するように構成することができる。第1の面は、非平面形状を備えることができる。ガラス製造装置は、圧縮ブロックを支持する支持面を備えることができる支持装置を備えることができる。支持面は、第1の面の一部分と接触状態にある場合がある。
【0007】
一部の実施形態では、第1の面は、第1の面部分と、第2の面部分と、第3の面部分とを備えることができる。第1の面部分は、支持面と接触状態にある場合があり、かつ平面形状を備えることができる。
【0008】
一部の実施形態では、第2の面部分と第3の面部分は、第1の面部分の両側に位置決めすることができる。第2の面部分は、第1の面部分に対して約1度から約3度である第1の角度を形成することができる。第3の面部分は、第1の面部分に対して約1度から約3度である第2の角度を形成することができる。
【0009】
一部の実施形態では、成形容器は、成形容器の長手方向に対して平行である場合がある流れ方向に沿って溶融材料を受け入れることができる。圧縮ブロックは、流れ方向及び長手方向に対して平行である場合がある力方向に沿って力を印加することができる。
【0010】
一部の実施形態では、圧縮ブロックは、接触面と第1の面とを接続することができる縁面を備えることができる。縁面は、丸い形状を備えることができる。
(【0011】以降は省略されています)
この特許をJ-PlatPat(特許庁公式サイト)で参照する
関連特許
日本電気硝子株式会社
ガラス材
4か月前
個人
ガラス製品の製造方法
3か月前
株式会社フジクラ
シール装置
4か月前
日本電気硝子株式会社
ガラスの製造方法
3か月前
日本電気硝子株式会社
ガラス繊維用組成物
4か月前
日本電気硝子株式会社
ガラス繊維用組成物
3か月前
日本板硝子株式会社
自動車用窓ガラス
5か月前
株式会社オハラ
光学ガラス
4か月前
AGC株式会社
ガラス板の製造方法
5か月前
信越化学工業株式会社
ガラス母材の延伸方法
2か月前
日本電気硝子株式会社
ガラスの製造方法
1か月前
日本電気硝子株式会社
フィーダー
4か月前
AGC株式会社
車両用窓ガラスとその製造方法
今日
AGC株式会社
感光性ガラス
21日前
AGC株式会社
複層ガラス、高地対応複層ガラス
14日前
信越化学工業株式会社
光ファイバ母材の製造方法
2か月前
AGC株式会社
ガラスペースト
4か月前
日本板硝子株式会社
ビル用複層ガラス
1か月前
日本電気硝子株式会社
ガラス製造装置
今日
AGC株式会社
合わせガラス
1か月前
AGC株式会社
複層ガラス、及び複層ガラスの製造方法
5か月前
白金科技股分有限公司
微小球およびその調製方法
2か月前
日本板硝子株式会社
車両用合わせガラス体
2か月前
信越化学工業株式会社
石英ガラス棒およびその製造方法
6日前
株式会社オハラ
光学ガラスおよび光学素子
4か月前
AGC株式会社
複層ガラス、及び複層ガラスの製造方法
5か月前
日本電気硝子株式会社
ガラス板の製造方法
13日前
日本電気硝子株式会社
ガラス物品の製造方法
27日前
AGC株式会社
洗浄部材の位置決め方法
4か月前
東洋ガラス株式会社
ガラス製造装置
4か月前
AGC株式会社
成形装置、及び成形方法
2か月前
信越化学工業株式会社
光ファイバ用多孔質母材の搬送装置
4か月前
日本電気硝子株式会社
ガラス物品の製造方法
5か月前
AGC株式会社
ガラス及びその製造方法
2か月前
日本板硝子株式会社
車両用調光合わせガラス
2か月前
日本電気硝子株式会社
ガラス粉末、封着材料及び封着材料ペースト
5か月前
続きを見る
他の特許を見る