TOP
|
特許
|
意匠
|
商標
特許ウォッチ
Twitter
他の特許を見る
10個以上の画像は省略されています。
公開番号
2025138718
公報種別
公開特許公報(A)
公開日
2025-09-25
出願番号
2025105631,2023578348
出願日
2025-06-23,2022-02-07
発明の名称
金属粉末形成方法
出願人
日産自動車株式会社
代理人
個人
,
個人
,
個人
主分類
B22F
9/04 20060101AFI20250917BHJP(鋳造;粉末冶金)
要約
【課題】被加工材を切削することにより形成される金属粉末に含まれる金属粒子の形状を制御する。
【解決手段】金属粉末形成方法は、金属製の被加工材の表面を切削することで金属粉末を形成する金属粉末形成方法であって、被加工材の第1表面に複数の凸部を有する第2表面を形成する塑性加工工程と、複数の凸部を切削することによって金属粉末を形成する切削工程と、を備える。
【選択図】図1
特許請求の範囲
【請求項1】
金属製の被加工材の表面を切削することで金属粉末を形成する金属粉末形成方法であって、
前記被加工材の第1表面に複数の凸部を有する第2表面を転造工具で形成する転造工程と、
前記複数の凸部を切削工具で切削することによって金属粉末を形成する切削工程と、
を備え、
前記被加工材の前記第1表面は、第1軸の周りに軸対称な形状を有しており、
前記被加工材を前記第1軸周りに回転させながら前記転造工程を行いつつ、前記切削工程を行い、
前記転造工程では、前記転造工具を前記第1軸周りに回転している前記被加工材の前記第1表面に押し付けて、当該第1表面に、一方向に延びる複数の第1溝と、前記複数の第1溝と交差する方向に延びる複数の第2溝と、前記複数の第1溝及び前記複数の第2溝がそれぞれ延びる方向に配列された前記複数の凸部と、を形成する、金属粉末形成方法。
続きを表示(約 440 文字)
【請求項2】
前記転造工具は、前記複数の凸部に対応する複数の凹部が外周面に形成されたローラ型工具である、請求項1に記載の金属粉末形成方法。
【請求項3】
前記転造工具は、第1転造工具と、第2転造工具と、を備え、
前記第1転造工具により前記複数の第1溝が形成され、
前記第2転造工具により前記複数の第2溝が形成される、請求項1に記載の金属粉末形成方法。
【請求項4】
前記転造工程で転造された前記複数の凸部を前記切削工程で切削した後の前記被加工材の第3表面に、更に前記複数の凸部を形成する第2転造工程を行い、当該第2転造工程で形成された前記複数の凸部を、前記切削工具で切削することによって前記金属粉末を形成する第2切削工程を行う、請求項1~3のいずれか一項に記載の金属粉末形成方法。
【請求項5】
前記転造工具の加工型の表面には摺動膜が形成されている、請求項1~4のいずれか一項に記載の金属粉末形成方法。
発明の詳細な説明
【技術分野】
【0001】
本発明は、金属粉末形成方法に関するものである。
続きを表示(約 2,700 文字)
【背景技術】
【0002】
下記特許文献1が開示する成形体の製造方法では、成形材料は、金属を切削して得られ鱗片状に形成された金属微粒子と、樹脂とを含有する。この成形材料は、この成形材料に含まれる鱗片状の金属微粒子の最大長より短い。また、金属微粒子を同じ向きで金型内に射出可能な射出口から金型に吐出されて成形体が形成される。これにより、金属微粒子の方向が揃えられ、伝熱性や電気伝導性に配向性を有する成形体を製造することができる。
【先行技術文献】
【特許文献】
【0003】
特開2017-206728号公報
【発明の概要】
【発明が解決しようとする課題】
【0004】
ところで、従来の金属を切削加工して金属粉末を得る方法では、形成された金属粉末には、多様な形状、粒径、アスペクト比等を備えた金属粒子が含まれていた。即ち、形成される金属粉末に含まれる金属粒子の形状を制御できない場合が有った。そのため、形成された金属粉末には、その後の成形加工に用いることができない金属粒子が含まれており、当該金属粉末から所望の形状等を備えた金属粒子を選別する場合が有った。
【0005】
本発明の目的は、被加工材を切削することにより形成される金属粉末に含まれる金属粒子の形状を制御することである。
【課題を解決するための手段】
【0006】
本発明の一態様に係る金属粉末形成方法は、金属製の被加工材の表面を切削することで金属粉末を形成する金属粉末形成方法であって、被加工材の第1表面に複数の凸部を有する第2表面を形成する塑性加工工程と、複数の凸部を切削することによって金属粉末を形成する切削工程と、を備える。
【発明の効果】
【0007】
本発明によれば、被加工材を切削することにより形成される金属粉末に含まれる金属粒子の形状を制御することができる。
【図面の簡単な説明】
【0008】
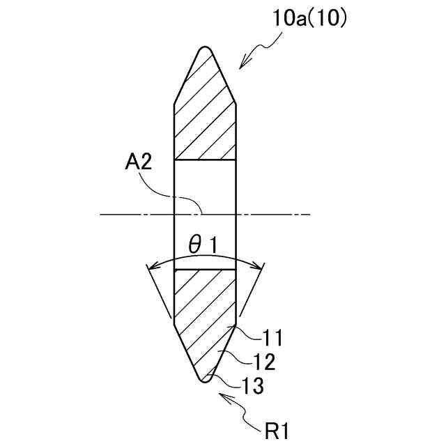
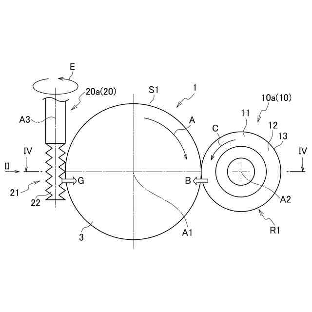
第1実施形態に係る金属粉末形成方法における、被加工材と、転造工具と、切削工具との配設関係を示す模式的側面図である。
第1実施形態に係る金属粉末形成方法について説明するための図であって、図1のII矢視図に相当する模式的側面図である。
第1実施形態に係る転造工具を示す模式的側面図である。
第1実施形態に係る転造工具を示す、図3AのIIIB-IIIB線に沿った模式的断面図である。
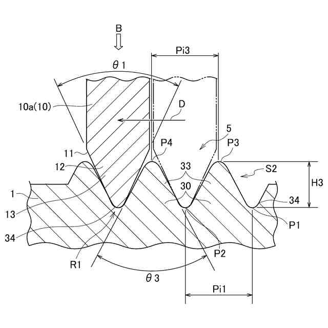
第1実施形態に係る転造工程について説明するための図であり、図1のIV-IV線に沿った模式的部分断面図である。
第1実施形態、及び第2実施形態に係る切削工具を示す模式的側面図である。
第1実施形態、及び第2実施形態に係る切削工程について説明するための図であり、図2のVI-VI線に沿った模式的部分断面図である。
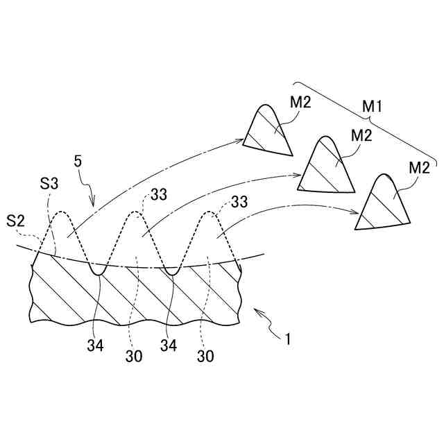
第1実施形態、及び第2実施形態に係る切削工程について説明するための図であり、被加工材から金属粉末が形成される態様の一例を示す模式的部分断面図である。
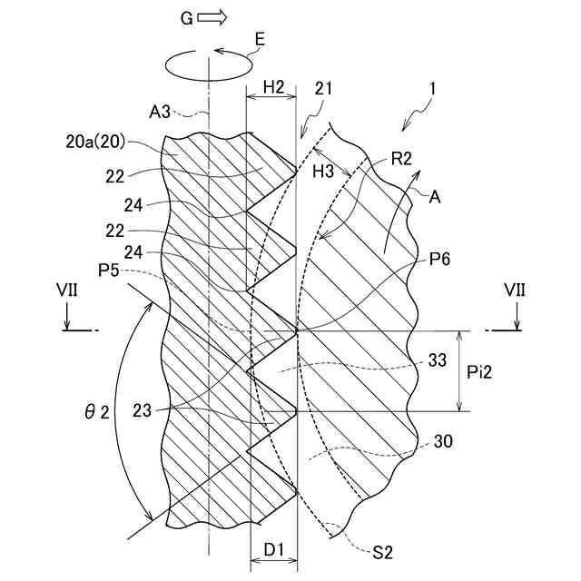
第2実施形態に係る転造工具を示す模式的側面図である。
第2実施形態に係る転造工具を示す、図8AのVIIIB-VIIIB線に沿った模式的断面図である。
第2実施形態に係る転造工程について説明するための図であり、図4に相当する模式的部分断面図である。
第2実施形態に係る金属粉末形成方法の作用効果について説明するための図であり、転造工程において除荷された後の複数の凸部を示す、図9に相当する模式的部分断面図である。
第3実施形態に係る金属粉末形成方法における、被加工材と、転造工具と、切削工具との配設関係を示す模式的側面図である。
第3実施形態に係る金属粉末形成方法について説明するための図であって、図11のXII矢視図に相当する模式的平面図である。
第3実施形態に係る切削工程について説明するための図であって、図12のXIII矢視図に相当する模式的部分側面図である。
第3実施形態に係る切削工程について説明するための図であり、被加工材から金属粉末が形成される態様の一例を示す模式的部分斜視図である。
実施形態に係る球状化工程について説明するための図であり、第1板部材と、第2板部材と、金属粉末との配設関係を示す模式的側面図である。
実施形態に係る球状化工程における、第1板部材に対する第2板部材の動作を示す模式的平面図である。
【発明を実施するための形態】
【0009】
実施形態に係る金属粉末形成方法により形成される金属粉末M1の平均アスペクト比、又は平均粒径は、粒子画像分析装置(製品名;モフォロギ4、Malvern Panalytical社製)を用いて測定した。より具体的には、数千~数万個の金属粒子M2を含む金属粉末M1を、粉体分散ユニットを用いてガラス盤上に分散させ、所定倍率の対物レンズで撮影し、画像解析ソフトを用いて平均アスペクト比、又は平均粒径を算出した。なお、対物レンズの倍率は金属粉末M1の形状等に応じて適宜設定することができる。なお、アスペクト比とは、所定の方向からの撮像における、粒子の長軸の長さと短軸の長さとの比率である。また、粒径は粒子の円相当径である。円相当径は、撮影された粒子の投影面積と等しい面積を有する円の直径である。以下の説明では、金属粉末M1の平均アスペクト比及び平均粒径の各々を、単にアスペクト比及び粒径と称する。
【0010】
実施形態に係る金属粉末形成方法では、例えば1μm以上500μm以下の粒径を備える金属粉末M1を形成することができる。また、金属粉末M1は、図示しない金属3Dプリンタで成形材料として用いられてもよい。その場合には、金属粉末M1の粒径は、例えば1μm以上100μm以下であってもよい。また、金属粉末M1のモード径は25μm以上75μm以下であってもよい。なお、モード径とは測定試料に最も高い頻度で含まれている粒径、又は粒径の範囲である。金属粉末M1は、例えばパウダーベッド式3Dプリントにおいてパウダーベッドに供給される粉末材料として用いることができる。なお、金属粉末M1は他の方式の金属3Dプリンタで使用されてもよい。例えば熱溶解積層方式(FDM方式;Fused Deposition Modeling)の3Dプリンタにおいて、熱可塑性樹脂に混合する粉末材料として用いられてもよい。
(【0011】以降は省略されています)
この特許をJ-PlatPat(特許庁公式サイト)で参照する
関連特許
日産自動車株式会社
伝動部材
今日
日産自動車株式会社
電子部品
13日前
日産自動車株式会社
電子機器
24日前
日産自動車株式会社
ステータ
今日
日産自動車株式会社
全天球撮像装置
23日前
日産自動車株式会社
ステータ及びその製造方法
13日前
日産自動車株式会社
ステータ及びその製造方法
13日前
日産自動車株式会社
製品検査方法及び製品検査装置
1日前
日産自動車株式会社
情報処理方法及び情報処理装置
13日前
日産自動車株式会社
情報処理方法及び情報処理装置
24日前
日産自動車株式会社
内燃機関およびその排気系設計方法
29日前
日産自動車株式会社
電池パック及び電池パックの製造方法
今日
日産自動車株式会社
内燃機関の再始動制御方法および装置
22日前
日産自動車株式会社
充放電制御方法及び充放電制御システム
1日前
日産自動車株式会社
経路選出装置、経路選出方法及びプログラム
1日前
日産自動車株式会社
経路選出装置、経路選出方法及びプログラム
1日前
日産自動車株式会社
車両データ処理装置及び車両データ処理方法
29日前
日産自動車株式会社
ブレーキ異音検知方法、装置およびプログラム
24日前
日産自動車株式会社
ピッチ挙動制御方法、及び、ピッチ挙動制御装置
27日前
日産自動車株式会社
燃料タンクおよびマフラを含む構造体、および車両
14日前
日産自動車株式会社
車両用内燃機関のトルクダウン制御方法および装置
14日前
日産自動車株式会社
車両制御装置、車両制御システム、車両制御方法及びプログラム
21日前
日産自動車株式会社
金属粉末形成方法
7日前
日産自動車株式会社
移動計画策定装置、移動管理システム、移動計画策定方法及びプログラム
23日前
TOPPANエッジ株式会社
駐車管理システム、駐車管理方法および情報処理装置
3日前
個人
鋼の連続鋳造用鋳型
1か月前
個人
ピストンの低圧鋳造金型
5か月前
UBEマシナリー株式会社
成形機
9か月前
友鉄工業株式会社
錫プレート成形方法
15日前
トヨタ自動車株式会社
押湯入子
1か月前
三菱電機株式会社
三次元造形装置
8か月前
株式会社 寿原テクノス
金型装置
8か月前
大阪硅曹株式会社
無機中子用水性塗型剤
1か月前
株式会社エスアールシー
インゴット
8か月前
株式会社プロテリアル
合金粉末の製造方法
5か月前
芝浦機械株式会社
成形機
7か月前
続きを見る
他の特許を見る