TOP
|
特許
|
意匠
|
商標
特許ウォッチ
Twitter
他の特許を見る
公開番号
2025142519
公報種別
公開特許公報(A)
公開日
2025-10-01
出願番号
2024041930
出願日
2024-03-18
発明の名称
経路選出装置、経路選出方法及びプログラム
出願人
日産自動車株式会社
代理人
個人
,
個人
,
個人
,
個人
,
個人
,
個人
主分類
G01C
21/34 20060101AFI20250924BHJP(測定;試験)
要約
【課題】車両の異常に対応しつつも、ある程度のユーザビリティも確保することができる経路を選出する。
【解決手段】車両制御装置の制御部150は、車両の状態を示す車両情報に基づいて、目的地に向けて走行している車両の異常を検出する異常検出部1501と、検出した異常の内容に基づいて、車両が走行に支障をきたすまでの走行可能範囲を算出する走行可能範囲算出部1502と、算出した走行可能範囲に基づいて、現在位置から到達可能な修理地点を特定する修理地点特定部1503と、現在位置から修理地点を経由して目的地に到達する経路を複数算出する経路算出部1504と、経路算出部1504が算出した複数の経路の中から、車両の乗員であるユーザに適した経路を車両の現在の走行経路の代替経路として選出する経路選出部1505とを備える。
【選択図】図3
特許請求の範囲
【請求項1】
車両の現在位置を取得する位置情報取得部と、制御部と、を備える経路選出装置であって、
前記制御部は、
前記車両の状態を示す車両情報に基づいて、目的地に向けて走行している前記車両の異常を検出する異常検出部と、
検出した前記異常の内容に基づいて、前記車両が走行に支障をきたすまでの走行可能範囲を算出する走行可能範囲算出部と、
算出した前記走行可能範囲に基づいて、前記現在位置から到達可能な修理地点を特定する修理地点特定部と、
前記現在位置から前記修理地点を経由して前記目的地に到達する経路を複数算出する経路算出部と、
前記経路算出部が算出した複数の前記経路の中から、前記車両の乗員であるユーザに適した経路を前記車両の現在の走行経路の代替経路として選出する経路選出部と、を備える、
経路選出装置。
続きを表示(約 1,000 文字)
【請求項2】
前記経路選出部は、前記経路上もしくは前記経路近傍の環境情報と前記ユーザの属性とに基づいて、前記経路毎にスコアを算出し、前記スコアが最大の前記経路を前記代替経路として選出する、
請求項1に記載の経路選出装置。
【請求項3】
前記経路選出部は、前記走行可能範囲の時間経過に伴う低下度が閾値以上である場合に、前記現在位置と前記修理地点との距離が最小の前記経路を前記代替経路として選出する、
請求項1に記載の経路選出装置。
【請求項4】
前記経路選出部は、前記車両の現在の経路との一致度が最大の前記経路を前記代替経路として選出する、
請求項1に記載の経路選出装置。
【請求項5】
前記制御部は、前記修理地点特定部が前記修理地点を特定できなかった場合に、乗り代え用の車両を要求する代車要求部を備える、
請求項1に記載の経路選出装置。
【請求項6】
車両の状態を示す車両情報に基づいて、目的地に向けて走行している前記車両の異常を検出し、
検出した前記異常の内容に基づいて、前記車両が走行に支障をきたすまでの走行可能範囲を算出し、
算出した前記走行可能範囲に基づいて、前記車両の現在位置から到達可能な修理地点を特定し、
前記現在位置から前記修理地点を経由して前記目的地に到達する経路を複数算出し、
算出した複数の前記経路の中から、前記車両の乗員であるユーザに適した経路を前記車両の現在の走行経路の代替経路として選出する、
経路選出方法。
【請求項7】
コンピュータを、
車両の状態を示す車両情報に基づいて、目的地に向けて走行している前記車両の異常を検出する異常検出部、
検出した前記異常の内容に基づいて、前記車両が走行に支障をきたすまでの走行可能範囲を算出する走行可能範囲算出部、
算出した前記走行可能範囲に基づいて、前記車両の現在位置から到達可能な修理地点を特定する修理地点特定部、
前記現在位置から前記修理地点を経由して前記目的地に到達する経路を複数算出する経路算出部、
前記経路算出部が算出した複数の前記経路の中から、前記車両の乗員であるユーザに適した経路を前記車両の現在の走行経路の代替経路として選出する経路選出部、
として機能させるプログラム。
発明の詳細な説明
【技術分野】
【0001】
本発明は、経路選出装置、経路選出方法及びプログラムに関する。
続きを表示(約 1,900 文字)
【背景技術】
【0002】
ユーザにとっての使いやすさ、使い勝手、合目的性などといったユーザビリティを確保できる車両の経路を生成する技術が知られている。例えば、特許文献1には、ユーザからのリクエストに基づいて、出発地から目的地まで車両が走行する複数の経路を算出し、経路上もしくは経路の近傍の環境情報およびユーザ情報に基づいて、経路ごとにスコアを算出し、スコアの高い経路から順に優先して、推奨経路として選出する経路選出装置について記載されている。
【先行技術文献】
【特許文献】
【0003】
特開2020-159942号公報
【発明の概要】
【発明が解決しようとする課題】
【0004】
走行している車両に異常が発生した場合、異常の程度によっては、運転手であるユーザは、走行経路を変更して整備工場などの修理地点まで車両を移動させなければならない。従って、特許文献1に記載の発明によって生成された推奨経路を走行している車両であっても、このような異常が発生した場合は、走行経路は推奨経路から逸脱してしまうこととなり、ユーザビリティを確保できなくなってしまう虞がある。
【0005】
本発明は、上記実情に鑑みてなされたものであり、車両の異常に対応しつつも、ある程度のユーザビリティも確保することができる経路を選出することができる経路選出装置、経路選出方法及びプログラムを提供することを目的とする。
【課題を解決するための手段】
【0006】
上記目的を達成するために、本発明に係る経路選出装置は、車両の現在位置を取得する位置情報取得部と、制御部と、を備える。制御部は、異常検出部と、走行可能範囲算出部と、修理地点特定部と、経路算出部と、経路選出部と、を備える。異常検出部は、車両の状態を示す車両情報に基づいて、目的地に向けて走行している車両の異常を検出する。走行可能範囲算出部は、検出した異常の内容に基づいて、車両が走行に支障をきたすまでの走行可能範囲を算出する。修理地点特定部は、算出した走行可能範囲に基づいて、現在位置から到達可能な修理地点を特定する。経路算出部は、現在位置から修理地点を経由して目的地に到達する経路を複数算出する。経路選出部は、経路算出部が算出した複数の経路の中から、車両の乗員であるユーザに適した経路を車両の現在の走行経路の代替経路として選出する。
【発明の効果】
【0007】
本発明によれば、車両の走行可能範囲に基づいて特定された現在位置から到達可能な修理地点を経由して目的地に到達する経路が複数算出される。そして、算出された複数の経路の中から、ユーザに適した経路が代替経路として選出されるため、車両の異常に対応しつつも、ある程度のユーザビリティも確保することができる経路を選出することが可能となる。
【図面の簡単な説明】
【0008】
本発明の実施の形態に係る移動管理システムを示す概略図である。
実施の形態に係る車両制御装置のハードウェア構成例を示すブロック図である。
実施の形態に係る制御部の機能構成例を示す図である。
配車依頼画面を示す図である。
実施の形態に係る走行前処理のフローチャートである。
実施の形態に係る経路選出処理のフローチャートである。
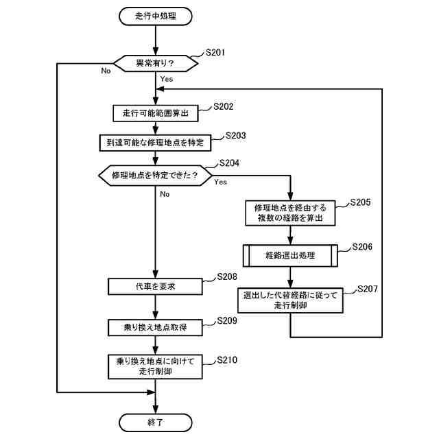
実施の形態に係る走行中処理のフローチャートである。
変形例に係る経路選出処理のフローチャートである。
【発明を実施するための形態】
【0009】
図面を参照しながら、本発明の実施の形態に係る経路選出装置及び移動管理システムについて説明する。各図面においては、同一又は同等の部分に同一の符号を付す。
【0010】
(実施の形態)
本発明の実施の形態に係る移動管理システム1は、ユーザを車両により移動させるモビリティサービスシステムである。例えば、移動管理システム1は、車両により出発地から目的地までユーザを移動させるシステムである。移動管理システム1で使用される車両は、自律走行するものに限定されず、ブレーキ補助、操舵補助等を行う運転支援の制御を行うものであってもよく、あるいは、カーナビゲーション等の航行支援を行うものであってもよい。また、移動管理システム1は、運転支援又は航行支援技術を用いたライドシェアシステム、カーシェアリングシステム等であってもよい。本実施の形態においては、移動管理システム1が自律走行する車両を使用する配車システムである場合について説明する。
(【0011】以降は省略されています)
この特許をJ-PlatPat(特許庁公式サイト)で参照する
関連特許
日産自動車株式会社
電子部品
16日前
日産自動車株式会社
内燃機関
2日前
日産自動車株式会社
内燃機関
2日前
日産自動車株式会社
伝動部材
3日前
日産自動車株式会社
ステータ
3日前
日産自動車株式会社
ターボ過給機付き内燃機関
2日前
日産自動車株式会社
ステータ及びその製造方法
16日前
日産自動車株式会社
ステータ及びその製造方法
16日前
日産自動車株式会社
故障判定方法及び故障判定装置
2日前
日産自動車株式会社
車両のエアサスペンション装置
2日前
日産自動車株式会社
製品検査方法及び製品検査装置
4日前
日産自動車株式会社
打ち抜き金型用薄鋼帯搬送装置
2日前
日産自動車株式会社
情報処理方法及び情報処理装置
16日前
日産自動車株式会社
内燃機関の回転数表示方法および装置
2日前
日産自動車株式会社
電池パック及び電池パックの製造方法
3日前
日産自動車株式会社
充放電制御方法及び充放電制御システム
4日前
日産自動車株式会社
経路選出装置、経路選出方法及びプログラム
4日前
日産自動車株式会社
経路選出装置、経路選出方法及びプログラム
4日前
日産自動車株式会社
燃料タンクおよびマフラを含む構造体、および車両
17日前
日産自動車株式会社
車両用内燃機関のトルクダウン制御方法および装置
17日前
日産自動車株式会社
金属粉末形成方法
10日前
TOPPANエッジ株式会社
駐車管理システム、駐車管理方法および情報処理装置
6日前
個人
計量スプーン
26日前
個人
微小振動検出装置
1か月前
株式会社イシダ
X線検査装置
1か月前
日本精機株式会社
位置検出装置
4日前
日本精機株式会社
位置検出装置
4日前
日本精機株式会社
位置検出装置
4日前
大和製衡株式会社
組合せ秤
9日前
大和製衡株式会社
組合せ秤
9日前
アズビル株式会社
圧力センサ
3日前
トヨタ自動車株式会社
検査装置
6日前
株式会社ユーシン
操作検出装置
6日前
ダイハツ工業株式会社
測定用具
1か月前
エイブリック株式会社
磁気センサ回路
3日前
アンリツ株式会社
分光器
1か月前
続きを見る
他の特許を見る