TOP
|
特許
|
意匠
|
商標
特許ウォッチ
Twitter
他の特許を見る
10個以上の画像は省略されています。
公開番号
2025142637
公報種別
公開特許公報(A)
公開日
2025-10-01
出願番号
2024042100
出願日
2024-03-18
発明の名称
経路選出装置、経路選出方法及びプログラム
出願人
日産自動車株式会社
代理人
個人
,
個人
,
個人
,
個人
,
個人
,
個人
主分類
G01C
21/34 20060101AFI20250924BHJP(測定;試験)
要約
【課題】車両に異常が検出された場合に、目的地への到達可能性が高い経路を選出する。
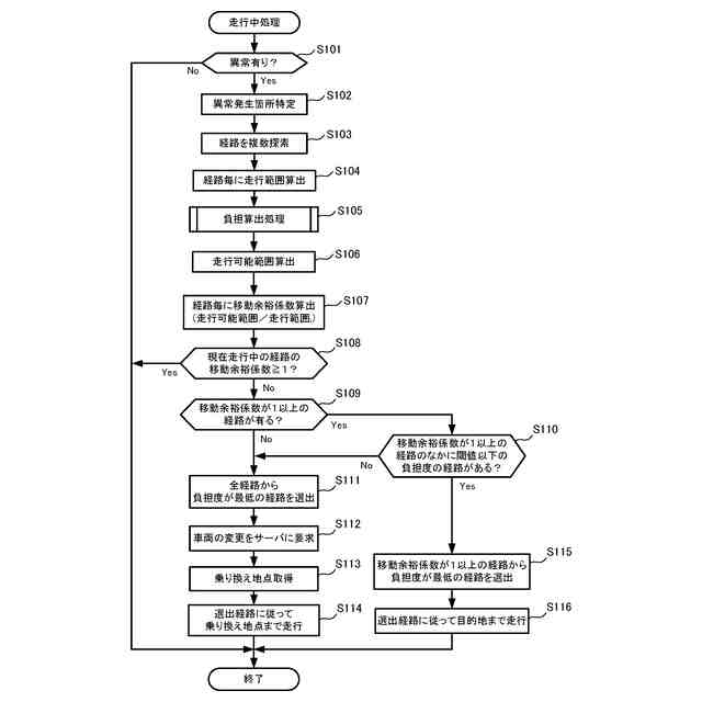
【解決手段】異常検出部1501が車両の状態を示す車両情報に基づいて、目的地に向けて走行している車両の異常を検出し、異常発生箇所特定部1502が検出された異常の異常発生箇所を特定し、走行可能範囲算出部1505が異常の内容に基づいて、車両が走行に支障をきたすまでの走行可能範囲を算出し、経路探索部1503が車両の現在位置から目的地までの複数の経路を探索し、各経路の目的地までの走行範囲を算出し、各経路について、経路を走行した場合の異常発生箇所に対する負担度を算出する。経路選出部1506は、走行範囲に対する前記走行可能範囲の比率である走行余裕係数が所定値以上である経路のなかから、負担度が低い経路を、車両の走行経路として優先的に選出する。
【選択図】図3
特許請求の範囲
【請求項1】
車両の現在位置を取得する位置情報取得部と、制御部と、を備える経路選出装置であって、
前記制御部は、
前記車両の状態を示す車両情報に基づいて、目的地に向けて走行している前記車両の異常を検出する異常検出部と、
前記検出された異常の異常発生箇所を特定する異常発生箇所特定部と、
前記異常の内容に基づいて、前記車両が走行に支障をきたすまでの走行可能範囲を算出する走行可能範囲算出部と、
前記現在位置から前記目的地までの複数の経路を探索し、各前記経路の前記目的地までの走行範囲を算出する経路探索部と、
各前記経路について、前記経路を走行した場合の前記異常発生箇所に対する負担度を算出する負担度算出部と、
前記走行範囲に対する前記走行可能範囲の比率である走行余裕係数が所定値以上である前記経路のなかから、前記負担度が低い経路を、前記車両の走行経路として優先的に選出する経路選出部と、
を備える経路選出装置。
続きを表示(約 1,100 文字)
【請求項2】
前記経路選出部が選出した経路を走行した場合の前記目的地までの予想到着時間が、異常検出前の予想到着時間よりも遅れる場合に、前記選出した経路に対するユーザからの承認を受ける、
請求項1に記載の経路選出装置。
【請求項3】
前記制御部は、
前記承認を受け付けた場合に、前記ユーザに特典を付与する特典付与部を備える、
請求項2に記載の経路選出装置。
【請求項4】
前記経路選出部は、前記走行余裕係数が前記所定値以上である前記経路のなかに、前記負担度が閾値より低い経路がない場合に、前記経路選出部が探索した全ての前記経路のなかから、前記負担度が最も低い経路を、前記走行経路として選出する、
請求項1に記載の経路選出装置。
【請求項5】
前記制御部は、
前記走行余裕係数が前記所定値以上である前記経路がない場合に、乗り代え用の他の車両を要求する代車要求部を備える、
請求項1に記載の経路選出装置。
【請求項6】
車両の状態を示す車両情報に基づいて、目的地に向けて走行している前記車両の異常を検出し、
前記異常の異常発生箇所を特定し、
前記異常の内容に基づいて、前記車両が走行に支障をきたすまでの走行可能範囲を算出し、
前記車両の現在位置から前記目的地までの複数の経路を探索し、各前記経路の前記目的地までの走行範囲を算出し、
各前記経路について、前記経路を走行した場合の前記異常発生箇所に対する負担度を算出し、
前記走行範囲に対する前記走行可能範囲の比率である走行余裕係数が所定値以上である前記経路のなかから、前記負担度が低い経路を、前記車両の走行経路として優先的に選出する、
経路選出方法。
【請求項7】
コンピュータを、
車両の状態を示す車両情報に基づいて、目的地に向けて走行している前記車両の異常を検出する異常検出部、
前記検出された異常の異常発生箇所を特定する異常発生箇所特定部、
前記異常の内容に基づいて、前記車両が走行に支障をきたすまでの走行可能範囲を算出する走行可能範囲算出部、
前記車両の現在位置から前記目的地までの複数の経路を探索し、各前記経路の前記目的地までの走行範囲を算出する経路探索部、
各前記経路について、前記経路を走行した場合の前記異常発生箇所に対する負担度を算出する負担度算出部、
前記走行範囲に対する前記走行可能範囲の比率である走行余裕係数が所定値以上である前記経路のなかから、前記負担度が低い経路を、前記車両の走行経路として優先的に選出する経路選出部、
として機能させるプログラム。
発明の詳細な説明
【技術分野】
【0001】
本発明は、経路選出装置、経路選出方法及びプログラムに関する。
続きを表示(約 1,900 文字)
【背景技術】
【0002】
自律走行する車両が故障した場合に、車両の故障レベルに応じて車両の制御を変更する技術がある。例えば、特許文献1に記載の車両制御装置は、故障が検出されて、車両が移動不可能である場合に、車両の外部に警告し、車両が移動可能であるが自律走行によって目的地に到達不可能であると判断される場合は、車両を停車可能な位置に停止させる制御を行う。一方、故障が検出されても車両が目的地に到達可能であると判断される場合、特許文献1に記載の車両制御装置は、車両を目的地へ移動させた後、整備工場へ移動させる。
【先行技術文献】
【特許文献】
【0003】
特開2020-082918号公報
【発明の概要】
【発明が解決しようとする課題】
【0004】
特許文献1に記載の車両制御装置において、故障検出時に目的地に到達可能であると判断された場合でも、故障箇所によっては、走行している経路の路面状況、カーブの多さ、交通状況等の影響を強く受け、車両が途中で走行不能となって目的地まで到達できない虞がある。
【0005】
本発明は上記実情に鑑みてなされたものであり、車両に異常が検出された場合に、目的地への到達可能性が高い経路を選出することが可能な経路選出装置、経路選出方法及びプログラムを提供することを目的とする。
【課題を解決するための手段】
【0006】
上記目的を達成するために、本発明に係る経路選出装置は、車両の現在位置を取得する位置情報取得部と、制御部と、を備える。制御部は、車両の状態を示す車両情報に基づいて、目的地に向けて走行している車両の異常を検出する異常検出部と、検出された異常の異常発生箇所を特定する異常発生箇所特定部と、異常の内容に基づいて、車両が走行に支障をきたすまでの走行可能範囲を算出する走行可能範囲算出部と、現在位置から目的地までの複数の経路を探索し、各経路の目的地までの走行範囲を算出する経路探索部と、各経路について、経路を走行した場合の異常発生箇所に対する負担度を算出する負担度算出部と、走行範囲に対する走行可能範囲の比率である走行余裕係数が所定値以上である経路のなかから、負担度が低い経路を、車両の走行経路として優先的に選出する経路選出部と、を備える。
【発明の効果】
【0007】
本発明によれば、車両に異常が検出された場合に、目的地への到達可能性が高い経路を選出することが可能となる。
【図面の簡単な説明】
【0008】
本発明の実施の形態に係る移動管理システムを示す概略図である。
実施の形態に係る車両制御装置のハードウェア構成例を示すブロック図である。
実施の形態に係る制御部の機能構成例を示す図である。
実施の形態に係る走行中処理のフローチャートである。
実施の形態に係る負担算出処理のフローチャートである。
実施の形態に係る特徴ベクトルの具体例を示す図である。
実施の形態に係る重み係数ベクトルの具体例を示す図である。
実施の形態に係る負担度算出の具体例を示す図である。
実施の形態に係る経路選出の具体例を示す図である。
変形例に係る経路承認画面の一例を示す図である。
【発明を実施するための形態】
【0009】
図面を参照しながら、本発明の実施の形態に係る経路選出装置1及び移動管理システムについて説明する。各図面においては、同一又は同等の部分に同一の符号を付す。
【0010】
(実施の形態)
本発明の実施の形態に係る移動管理システム1は、ユーザを車両により移動させるモビリティサービスシステムである。例えば、移動管理システム1は、車両により出発地から目的地までユーザを移動させるシステムである。移動管理システム1で使用される車両は、自律走行するものに限定されず、ブレーキ補助、操舵補助等を行う運転支援の制御を行うものであってもよく、あるいは、カーナビゲーション等の航行支援を行うものであってもよい。また、移動管理システム1は、運転支援又は航行支援技術を用いたライドシェアシステム、カーシェアリングシステム等であってもよい。本実施の形態においては、移動管理システム1が自律走行する車両を使用する配車システムである場合について説明する。
(【0011】以降は省略されています)
この特許をJ-PlatPat(特許庁公式サイト)で参照する
関連特許
日産自動車株式会社
電子部品
16日前
日産自動車株式会社
内燃機関
2日前
日産自動車株式会社
内燃機関
2日前
日産自動車株式会社
伝動部材
3日前
日産自動車株式会社
ステータ
3日前
日産自動車株式会社
ターボ過給機付き内燃機関
2日前
日産自動車株式会社
ステータ及びその製造方法
16日前
日産自動車株式会社
ステータ及びその製造方法
16日前
日産自動車株式会社
故障判定方法及び故障判定装置
2日前
日産自動車株式会社
車両のエアサスペンション装置
2日前
日産自動車株式会社
製品検査方法及び製品検査装置
4日前
日産自動車株式会社
打ち抜き金型用薄鋼帯搬送装置
2日前
日産自動車株式会社
情報処理方法及び情報処理装置
16日前
日産自動車株式会社
内燃機関の回転数表示方法および装置
2日前
日産自動車株式会社
電池パック及び電池パックの製造方法
3日前
日産自動車株式会社
充放電制御方法及び充放電制御システム
4日前
日産自動車株式会社
経路選出装置、経路選出方法及びプログラム
4日前
日産自動車株式会社
経路選出装置、経路選出方法及びプログラム
4日前
日産自動車株式会社
燃料タンクおよびマフラを含む構造体、および車両
17日前
日産自動車株式会社
車両用内燃機関のトルクダウン制御方法および装置
17日前
日産自動車株式会社
金属粉末形成方法
10日前
TOPPANエッジ株式会社
駐車管理システム、駐車管理方法および情報処理装置
6日前
個人
計量スプーン
26日前
個人
微小振動検出装置
1か月前
株式会社イシダ
X線検査装置
1か月前
日本精機株式会社
位置検出装置
4日前
日本精機株式会社
位置検出装置
4日前
日本精機株式会社
位置検出装置
4日前
大和製衡株式会社
組合せ秤
9日前
大和製衡株式会社
組合せ秤
9日前
アズビル株式会社
圧力センサ
3日前
トヨタ自動車株式会社
表示装置
18日前
トヨタ自動車株式会社
検査装置
6日前
株式会社東芝
センサ
1か月前
株式会社ユーシン
操作検出装置
6日前
ダイハツ工業株式会社
測定用具
1か月前
続きを見る
他の特許を見る