TOP
|
特許
|
意匠
|
商標
特許ウォッチ
Twitter
他の特許を見る
10個以上の画像は省略されています。
公開番号
2025139063
公報種別
公開特許公報(A)
公開日
2025-09-26
出願番号
2024037793
出願日
2024-03-12
発明の名称
感応膜用組成物、感応膜、におい検出素子、および、においセンサー
出願人
住友ベークライト株式会社
,
太陽誘電株式会社
代理人
個人
主分類
C08L
45/00 20060101AFI20250918BHJP(有機高分子化合物;その製造または化学的加工;それに基づく組成物)
要約
【課題】検出可能なにおい成分の種類が多く、かつ、耐熱性が向上した感応膜を得ることが可能な感応膜用組成物を提供する。
【解決手段】におい検出素子の感応膜に用いることが可能な感応膜用組成物であって、環状オレフィン系樹脂(A)を含み、前記環状オレフィン系樹脂(A)は、式(1)で示される構造単位と、式(2)で示される構造単位と、を含む、感応膜用組成物。
<com:Image com:imageContentCategory="Drawing"> <com:ImageFormatCategory>TIFF</com:ImageFormatCategory> <com:FileName>2025139063000016.tif</com:FileName> <com:HeightMeasure com:measureUnitCode="Mm">28</com:HeightMeasure> <com:WidthMeasure com:measureUnitCode="Mm">153</com:WidthMeasure> </com:Image>
<com:Image com:imageContentCategory="Drawing"> <com:ImageFormatCategory>TIFF</com:ImageFormatCategory> <com:FileName>2025139063000017.tif</com:FileName> <com:HeightMeasure com:measureUnitCode="Mm">47</com:HeightMeasure> <com:WidthMeasure com:measureUnitCode="Mm">153</com:WidthMeasure> </com:Image>
【選択図】図1
特許請求の範囲
【請求項1】
におい検出素子の感応膜に用いることが可能な感応膜用組成物であって、
環状オレフィン系樹脂(A)を含み、
前記環状オレフィン系樹脂(A)は、下記式(1)で示される構造単位と、下記式(2)で示される構造単位と、を含む、感応膜用組成物。
TIFF
2025139063000012.tif
28
153
(前記式(1)中、R
11
はヒドロキシ基を含む基およびカルボキシル基を含む基からなる群から選択されるいずれかを示す)
TIFF
2025139063000013.tif
47
153
続きを表示(約 900 文字)
【請求項2】
前記環状オレフィン系樹脂(A)中の前記式(1)で示される構造単位の含有量は、前記環状オレフィン系樹脂(A)中の全ての構造単位の合計を100モル%としたとき、10モル%以上70モル%以下である、請求項1に記載の感応膜用組成物。
【請求項3】
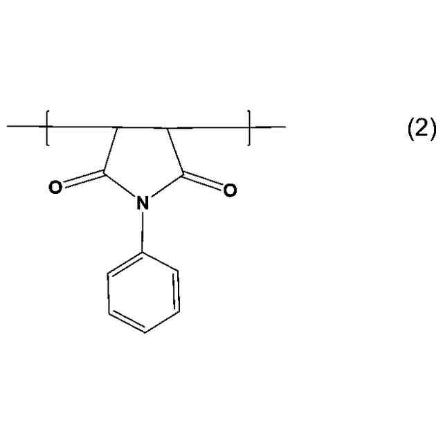
前記環状オレフィン系樹脂(A)中の前記式(2)で示される構造単位の含有量は、前記環状オレフィン系樹脂(A)中の全ての構造単位の合計を100モル%としたとき、30モル%以上90モル%以下である、請求項1または2に記載の感応膜用組成物。
【請求項4】
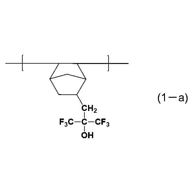
前記式(1)で示される構造単位は、下記式(1-a)で示される構造単位および下記式(1-b)で示される構造単位からなる群から選択される少なくとも一種を含む、請求項1または2に記載の感応膜用組成物。
TIFF
2025139063000014.tif
38
153
TIFF
2025139063000015.tif
27
153
【請求項5】
前記感応膜用組成物中の前記環状オレフィン系樹脂(A)の含有量は、前記感応膜用組成物中の不揮発成分の合計を100質量%としたとき、50質量%以上である、請求項1または2に記載の感応膜用組成物。
【請求項6】
前記環状オレフィン系樹脂(A)の重量平均分子量(Mw)が3,000以上200,000以下である、請求項1または2に記載の感応膜用組成物。
【請求項7】
前記感応膜用組成物の5%質量減少温度が300℃以上である、請求項1または2に記載の感応膜用組成物。
【請求項8】
におい検出素子の感応膜であって、請求項1または2に記載の感応膜用組成物を含む、感応膜。
【請求項9】
厚みが10nm以上1000nm以下である、請求項8に記載の感応膜。
【請求項10】
請求項8に記載の感応膜を備える、におい検出素子。
(【請求項11】以降は省略されています)
発明の詳細な説明
【技術分野】
【0001】
本発明は、感応膜用組成物、感応膜、におい検出素子、および、においセンサーに関する。
続きを表示(約 2,300 文字)
【背景技術】
【0002】
におい検出素子は、におい物質を吸着させるための感応膜を備える。
におい検出素子の感応膜に関する技術として、例えば、特許文献1に記載の技術が挙げられる。
【0003】
特許文献1には、感応膜とトランスデューサからなるガス検出装置において、感応膜として使用する有機高分子膜が2つ以上の異なる単量体からなる共重合体を主成分とすることを特徴とするガス検出装置が記載されている。
特許文献1には、感応膜へのガス分子の吸着現象を利用してガスの検出を行うガス検出装置の感応膜において、高感度で応答速度の速い感応膜を提供すると記載されている。
【先行技術文献】
【特許文献】
【0004】
特開2001-013055号公報
【発明の概要】
【発明が解決しようとする課題】
【0005】
本発明は、検出可能なにおい成分の種類が多く、かつ、耐熱性が向上した感応膜を得ることが可能な感応膜用組成物を提供するものである。
【課題を解決するための手段】
【0006】
本発明によれば、以下に示す感応膜用組成物、感応膜、におい検出素子、および、においセンサーが提供される。
【0007】
[1]
におい検出素子の感応膜に用いることが可能な感応膜用組成物であって、
環状オレフィン系樹脂(A)を含み、
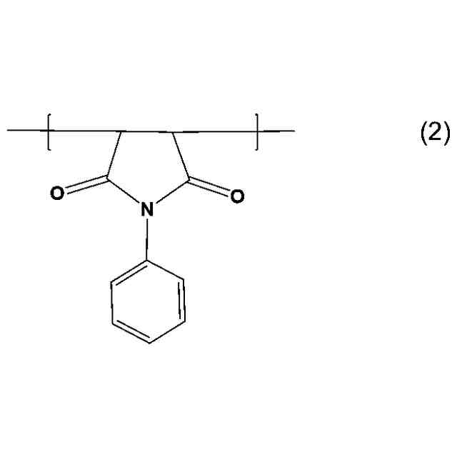
前記環状オレフィン系樹脂(A)は、下記式(1)で示される構造単位と、下記式(2)で示される構造単位と、を含む、感応膜用組成物。
TIFF
2025139063000002.tif
28
153
(前記式(1)中、R
11
はヒドロキシ基を含む基およびカルボキシル基を含む基からなる群から選択されるいずれかを示す)
TIFF
2025139063000003.tif
47
153
[2]
前記環状オレフィン系樹脂(A)中の前記式(1)で示される構造単位の含有量は、前記環状オレフィン系樹脂(A)中の全ての構造単位の合計を100モル%としたとき、10モル%以上70モル%以下である、前記[1]に記載の感応膜用組成物。
[3]
前記環状オレフィン系樹脂(A)中の前記式(2)で示される構造単位の含有量は、前記環状オレフィン系樹脂(A)中の全ての構造単位の合計を100モル%としたとき、30モル%以上90モル%以下である、前記[1]または[2]に記載の感応膜用組成物。
[4]
前記式(1)で示される構造単位は、下記式(1-a)で示される構造単位および下記式(1-b)で示される構造単位からなる群から選択される少なくとも一種を含む、前記[1]~[3]のいずれかに記載の感応膜用組成物。
TIFF
2025139063000004.tif
38
153
TIFF
2025139063000005.tif
27
153
[5]
前記感応膜用組成物中の前記環状オレフィン系樹脂(A)の含有量は、前記感応膜用組成物中の不揮発成分の合計を100質量%としたとき、50質量%以上である、前記[1]~[4]のいずれかに記載の感応膜用組成物。
[6]
前記環状オレフィン系樹脂(A)の重量平均分子量(Mw)が3,000以上200,000以下である、前記[1]~[5]のいずれかに記載の感応膜用組成物。
[7]
前記感応膜用組成物の5%質量減少温度が300℃以上である、前記[1]~[6]のいずれかに記載の感応膜用組成物。
[8]
におい検出素子の感応膜であって、前記[1]~[7]のいずれかに記載の感応膜用組成物を含む、感応膜。
[9]
厚みが10nm以上1000nm以下である、前記[8]に記載の感応膜。
[10]
前記[8]または[9]に記載の感応膜を備える、におい検出素子。
[11]
におい検出素子を2つ以上備え、
前記におい検出素子は、第1のにおい検出素子と、第2のにおい検出素子と、を備え、
前記第2のにおい検出素子は、前記第1のにおい検出素子とは異なる種類のガスを検出することが可能であり、
前記第1のにおい検出素子および前記第2のにおい検出素子からなる群から選択される少なくとも1つが前記[10]に記載のにおい検出素子である、においセンサー。
【発明の効果】
【0008】
本発明によれば、検出可能なにおい成分の種類が多く、かつ、耐熱性が向上した感応膜を得ることが可能な感応膜用組成物を提供できる。
【図面の簡単な説明】
【0009】
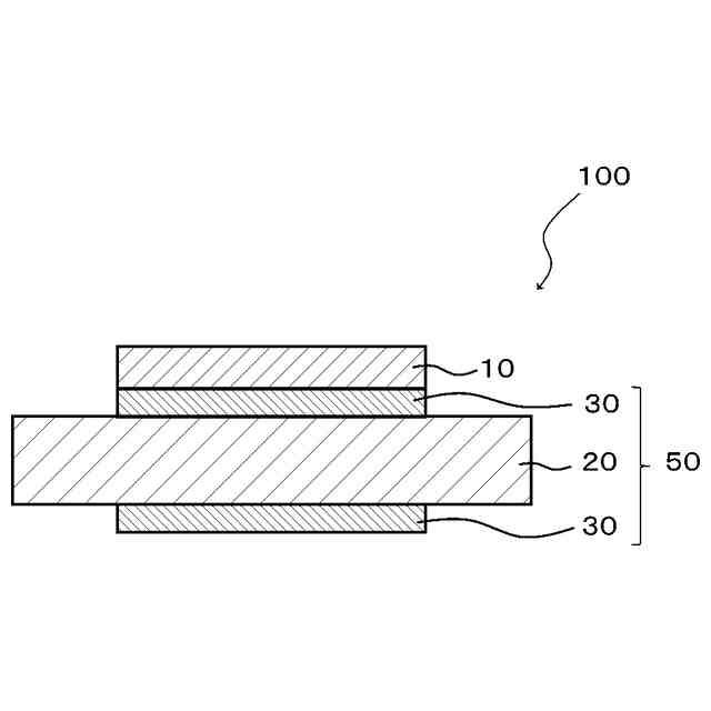
本実施形態のにおい検出素子の構造の一例を模式的に示した断面図である。
実施例におけるガス検出試験方法を説明するための図である。
【発明を実施するための形態】
【0010】
以下、本発明の実施形態について、図面を用いて説明する。なお、図面は簡略図で、実際の寸法比率とは一致していない。数値範囲の「A~B」は特に断りがなければ、A以上B以下を表す。
(【0011】以降は省略されています)
この特許をJ-PlatPat(特許庁公式サイト)で参照する
関連特許
ユニチカ株式会社
透明シート
1か月前
ユニチカ株式会社
透明シート
4日前
株式会社カネカ
硬化性組成物
2か月前
株式会社コバヤシ
成形体
1日前
東レ株式会社
熱硬化性樹脂組成物
1か月前
丸住製紙株式会社
変性パルプ
4日前
東レ株式会社
ポリエステルフィルム
3か月前
東レ株式会社
ポリエステルフィルム
8日前
住友精化株式会社
吸水剤の製造方法
14日前
東レ株式会社
引抜成形品の製造方法
1か月前
東レ株式会社
ポリプロピレンフィルム
今日
花王株式会社
樹脂組成物
2か月前
東ソー株式会社
樹脂組成物および蓋材
22日前
横浜ゴム株式会社
重荷重タイヤ
今日
東レ株式会社
ポリオレフィン微多孔膜
2か月前
東ソー株式会社
樹脂組成物および蓋材
22日前
愛知電機株式会社
加熱処理設備
3か月前
日本特殊陶業株式会社
樹脂成形体
14日前
株式会社スリーボンド
硬化性樹脂組成物
今日
アイカ工業株式会社
光硬化性樹脂組成物
今日
株式会社コバヤシ
光硬化性組成物
2か月前
UBE株式会社
衝撃吸収材
4日前
住友化学株式会社
樹脂組成物
今日
株式会社カネカ
硬化性組成物
1か月前
株式会社大阪ソーダ
熱可塑性材料用組成物
2か月前
富士フイルム株式会社
組成物
3か月前
株式会社カネカ
硬化性組成物
14日前
東ソー株式会社
温度応答性ビーズの製造方法
16日前
株式会社村田製作所
樹脂組成物
2か月前
ユニチカ株式会社
ポリアミド系樹脂フィルム
今日
株式会社クラレ
水性エマルジョン及び接着剤
3か月前
東レ株式会社
ポリエステル組成物の製造方法
7日前
東亞合成株式会社
硬化性組成物
2か月前
デンカ株式会社
磁性ビーズの製造方法
今日
アキレス株式会社
燻蒸用生分解性樹脂シート
1か月前
伯東株式会社
ビニル化合物中の重合防止方法
1か月前
続きを見る
他の特許を見る