TOP
|
特許
|
意匠
|
商標
特許ウォッチ
Twitter
他の特許を見る
10個以上の画像は省略されています。
公開番号
2025139081
公報種別
公開特許公報(A)
公開日
2025-09-26
出願番号
2024037821
出願日
2024-03-12
発明の名称
エレベータのかごドア開閉装置及びエレベータ
出願人
フジテック株式会社
代理人
個人
主分類
B66B
13/08 20060101AFI20250918BHJP(巻上装置;揚重装置;牽引装置)
要約
【課題】かごドア開閉装置の据付工事において、かごドア開閉装置における各種の構成要素の破損等に対する配慮を低減することができるエレベータのかごドア開閉装置及びエレベータを提供する。
【解決手段】サポートフレーム4は、後面にて左右方向に間隔を空けて1対のブラケット50,50を備え、1対のブラケット50,50のそれぞれは、サポートフレーム4に取り付けられる本体部500と、本体部500の上部から後方に突出する後方突出部501とを備え、本体部500の下端50a及び後方突出部501の先端50bを接地させることにより、サポートフレーム4の台座として機能する。これにより、サポートフレーム4上の各種の構成要素の破損等が防止される。
【選択図】図20
特許請求の範囲
【請求項1】
かごドアを左右方向にスライド可能に支持するドアレールと、
駆動モータと、
ドアレールの上方において左右方向に間隔を空けて設けられ、かごドアと作動的に連結される駆動ベルトが巻き掛けられる第1プーリ及び第2プーリと、
前面にドアレールを備えるとともに、駆動モータ、第1プーリ及び第2プーリを支持するサポートフレームとを備え、
サポートフレームは、後面にて左右方向に間隔を空けて1対のブラケットを備え、
1対のブラケットのそれぞれは、
サポートフレームに取り付けられる本体部と、
本体部の上部から後方に突出する後方突出部とを備え、
本体部の下端及び後方突出部の先端を接地させることにより、サポートフレームの台座として機能する
エレベータのかごドア開閉装置。
続きを表示(約 690 文字)
【請求項2】
第1プーリは、駆動モータに直結され、
駆動モータ、第1プーリ及び第2プーリは、サポートフレームの上方の開放空間に配置され、ブラケットを介してサポートフレームに取り付けられる
請求項1に記載のエレベータのかごドア開閉装置。
【請求項3】
1対のブラケットのそれぞれは、サポートフレームの上下方向の長さよりも長い上下方向の長さを有する
請求項1又は請求項2に記載のエレベータのかごドア開閉装置。
【請求項4】
1対のブラケットのそれぞれは、上下方向に位置変更可能となるように、サポートフレームに取り付けられる
請求項1又は請求項2に記載のエレベータのかごドア開閉装置。
【請求項5】
1対のブラケットのそれぞれは、固定具を用いて、サポートフレームに取り付けられ、
固定具は、ボルト・ナットの締結具であり、
1対のブラケットのそれぞれは、ボルトの軸部の挿通孔として、上下方向に長いスライド長孔を有する
請求項4に記載のエレベータのかごドア開閉装置。
【請求項6】
1対のブラケットのそれぞれは、後方突出部における箇所であって、ドアレール、駆動モータ、第1プーリ、第2プーリ及びサポートフレームの一体構造体の重心よりも後方の箇所に、吊具用の被係合部を備える
請求項1又は請求項2に記載のエレベータのかごドア開閉装置。
【請求項7】
請求項1又は請求項2に記載のエレベータのかごドア開閉装置を備える
エレベータ。
発明の詳細な説明
【技術分野】
【0001】
本発明は、エレベータのかごドア開閉装置及びエレベータに関する。
続きを表示(約 1,700 文字)
【背景技術】
【0002】
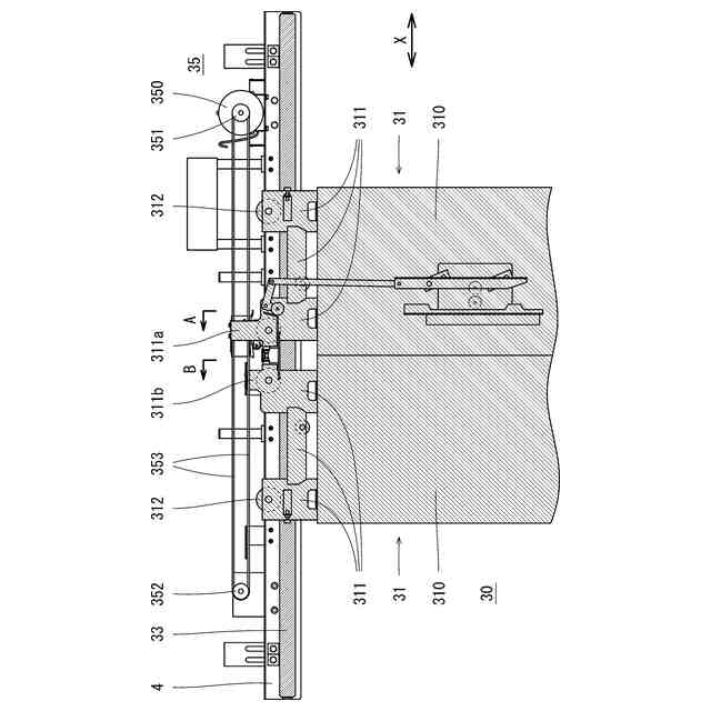
この種のかごドア開閉装置として、i)かごドアを左右方向にスライド可能に支持するドアレール、ii)駆動モータ、iii)ドアレールの上方において左右方向に間隔を空けて設けられ、かごドアと作動的に連結される駆動ベルトが巻き掛けられる第1プーリ及び第2プーリ、iv)ドアレール、駆動モータ、第1プーリ及び第2プーリを支持する板状のサポートフレーム、を備えるかごドア開閉装置が公知である(特許文献1)。
【0003】
この特許文献1は、2つの形態のかごドア開閉装置を開示する。1つの形態のかごドア開閉装置は、図1及び図2に示される。この形態において、第1プーリは、駆動モータから減速ベルトを介して回転が伝達される減速プーリであり、駆動モータは、サポートフレームの上方の開放空間に配置され、第1プーリ及び第2プーリは、サポートフレームの前面に配置される。
【0004】
もう1つの形態のかごドア開閉装置は、図3及び図4に示される。この形態において、第1プーリは、駆動モータに直結され、駆動モータ、第1プーリ及び第2プーリは、サポートフレームの前面に配置される。
【先行技術文献】
【特許文献】
【0005】
特表2011-514298号公報
【発明の概要】
【発明が解決しようとする課題】
【0006】
これらのかごドア開閉装置は、工場内又はエレベータの設置工事の現場において、組み立てられる。すなわち、まず、サポートフレームに、駆動モータ、第1プーリ及び第2プーリが取り付けられ、ドアレール、駆動モータ、第1プーリ、第2プーリ及びサポートフレームの一体構造体が構成される。次に、この一体構造体が(工場内で構成された場合は、設置工事の現場に搬入され、)クレーン等の吊り手段で吊り上げられ、固定具を用いて、かごの前面上部に取り付けられる。
【0007】
この据付工事において、一体構造体は、吊り上げられる前に、一旦、サポートフレームの後面側から建物の床に置かれることがある。この場合、ドアレール、駆動モータ、第1プーリ及び第2プーリという各種の構成要素が傷ついたり、破損しないよう、サポートフレームと床との間に当て木等の台座を挿入、配置するといった配慮が必要となる。
【0008】
そこで、本発明は、かかる事情に鑑みてなされたもので、かごドア開閉装置の据付工事において、かごドア開閉装置における各種の構成要素の破損等に対する配慮を低減することができるエレベータのかごドア開閉装置及びエレベータを提供することを課題とする。
【課題を解決するための手段】
【0009】
本発明に係るエレベータのかごドア開閉装置は、
かごドアを左右方向にスライド可能に支持するドアレールと、
駆動モータと、
ドアレールの上方において左右方向に間隔を空けて設けられ、かごドアと作動的に連結される駆動ベルトが巻き掛けられる第1プーリ及び第2プーリと、
前面にドアレールを備えるとともに、駆動モータ、第1プーリ及び第2プーリを支持するサポートフレームとを備え、
サポートフレームは、後面にて左右方向に間隔を空けて1対のブラケットを備え、
1対のブラケットのそれぞれは、
サポートフレームに取り付けられる本体部と、
本体部の上部から後方に突出する後方突出部とを備え、
本体部の下端及び後方突出部の先端を接地させることにより、サポートフレームの台座として機能する
エレベータのかごドア開閉装置である。
【0010】
また、本発明に係るエレベータのかごドア開閉装置の一態様として、
第1プーリは、駆動モータに直結され、
駆動モータ、第1プーリ及び第2プーリは、サポートフレームの上方の開放空間に配置され、ブラケットを介してサポートフレームに取り付けられる
との構成を採用することができる。
(【0011】以降は省略されています)
この特許をJ-PlatPat(特許庁公式サイト)で参照する
関連特許
フジテック株式会社
金属棒曲げ工具
今日
フジテック株式会社
情報提供システム
今日
フジテック株式会社
行先階登録システム
6日前
フジテック株式会社
カスタマイズシステム
5日前
フジテック株式会社
マンコンベヤシステム
5日前
フジテック株式会社
エレベーターのかご照明装置の調整方法
今日
フジテック株式会社
ロボット管理装置、ロボット、及びプログラム
今日
フジテック株式会社
ロボット管理装置、ロボット、及びプログラム
1日前
フジテック株式会社
ロボット管理装置、ロボット、及びプログラム
1日前
フジテック株式会社
ロボット管理装置、ロボット、及びプログラム
1日前
フジテック株式会社
表示装置、表示制御方法、および、表示制御プログラム
5日前
フジテック株式会社
表示装置、表示制御方法、および、表示制御プログラム
5日前
フジテック株式会社
表示装置、表示制御方法、および、表示制御プログラム
5日前
フジテック株式会社
乗客コンベアのシャフトの異常検出装置及びエレベーター
1日前
フジテック株式会社
行先階登録システム
6日前
フジテック株式会社
マンコンベヤシステム
5日前
フジテック株式会社
エレベータ施工方法、表示装置、表示制御方法、および、表示制御プログラム
5日前
フジテック株式会社
エレベータ施工方法、表示装置、表示制御方法、および、表示制御プログラム
5日前
個人
自走手摺
2か月前
ユニパルス株式会社
吊具
4か月前
個人
海上コンテナ昇降装置
10か月前
ユニパルス株式会社
吊具装置
10か月前
ユニパルス株式会社
荷役装置
9か月前
株式会社豊田自動織機
産業車両
10か月前
株式会社いうら
車椅子用昇降機
2か月前
株式会社豊田自動織機
産業車両
27日前
水戸工業株式会社
吊り具
6か月前
ユニパルス株式会社
リフト装置
4か月前
株式会社豊田自動織機
荷役車両
8か月前
株式会社豊田自動織機
荷役車両
9か月前
愛知製鋼株式会社
受け架台
1か月前
白山工業株式会社
バランサ
6か月前
株式会社伊藤
滑り止め装置
2か月前
株式会社大林組
安全支援システム
1か月前
個人
垂直自動搬送機
28日前
ユニパルス株式会社
荷役助力装置
5か月前
続きを見る
他の特許を見る