TOP
|
特許
|
意匠
|
商標
特許ウォッチ
Twitter
他の特許を見る
公開番号
2025145435
公報種別
公開特許公報(A)
公開日
2025-10-03
出願番号
2024045612
出願日
2024-03-21
発明の名称
表示装置、表示制御方法、および、表示制御プログラム
出願人
フジテック株式会社
代理人
弁理士法人 HARAKENZO WORLD PATENT & TRADEMARK
主分類
G06T
19/00 20110101AFI20250926BHJP(計算;計数)
要約
【課題】施工位置を明確に作業者に認識させることが可能な表示装置を提供する。
【解決手段】仮想オブジェクトとして、現実空間に存在する施工面における施工位置を示す施工位置画像(OB1~OB7)を表示する表示制御部を備え、表示制御部は、施工位置画像として、施工位置を含み施工面に垂直な線を有する画像(OB2・OB3)を表示する。
【選択図】図1
特許請求の範囲
【請求項1】
施工作業対象としての現実空間を視る作業者の視界、または、現実空間を表す画像に対し、前記現実空間の位置に応じた配置で仮想オブジェクトをオーバーレイ表示する表示装置であって、
前記仮想オブジェクトとして、前記現実空間に存在する施工面における施工位置を示す施工位置画像を表示する表示制御部を備え、
前記表示制御部は、前記施工位置画像として、前記施工位置を含み前記施工面に垂直な線および面の少なくとも一方を有する画像を表示する、表示装置。
続きを表示(約 670 文字)
【請求項2】
前記表示制御部は、前記施工面に垂直な線および面の少なくとも一方の画像において、現実空間の実際の施工面である施工実面よりも手前側に表示される部分と、前記施工実面の向こう側に表示される部分とで、色、模様、および、濃度の少なくともいずれか1つを異ならせる、請求項1に記載の表示装置。
【請求項3】
前記表示制御部は、前記施工面よりも所定の距離だけ手前側に、施工に関する文字情報を表示する、請求項1に記載の表示装置。
【請求項4】
前記表示制御部は、前記施工面において、前記施工位置を点画像として表示するとともに、前記点画像の周囲の所定領域には画像を表示しない、請求項1に記載の表示装置。
【請求項5】
施工作業対象としての現実空間を視る作業者の視界、または、現実空間を表す画像に対し、前記現実空間の位置に応じた配置で仮想オブジェクトをオーバーレイ表示する表示制御方法であって、
前記仮想オブジェクトとして、前記現実空間に存在する施工面における取付対象物の施工位置を示す施工位置画像を表示する表示制御ステップを有し、
前記表示制御ステップにおいて、前記施工位置画像として、前記施工位置を含み前記施工面に垂直な線および面の少なくとも一方を有する画像を表示する、表示制御方法。
【請求項6】
請求項1に記載の表示装置としてコンピュータを機能させるための表示制御プログラムであって、前記表示制御部としてコンピュータを機能させるための表示制御プログラム。
発明の詳細な説明
【技術分野】
【0001】
本発明は、現実空間を視る作業者の視界、または、現実空間を表す画像に対し、現実空間の位置に応じた配置で仮想オブジェクトをオーバーレイ表示する表示装置に関する。
続きを表示(約 1,900 文字)
【背景技術】
【0002】
従来、建設作業などにおいて、作業者に装着されるスマートグラスなどの表示装置に、施工作業に必要な情報を現実空間と重ね合わせて表示させた状態で施工作業を行う手法が提案されている。例えば特許文献1には、現実空間をスキャンして空間形状を認識し、図面データを現実空間に合わせてスケーリングして、現実空間にマッピングして表示する投影装置が開示されている。
【先行技術文献】
【特許文献】
【0003】
特開2018-163466号公報
【発明の概要】
【発明が解決しようとする課題】
【0004】
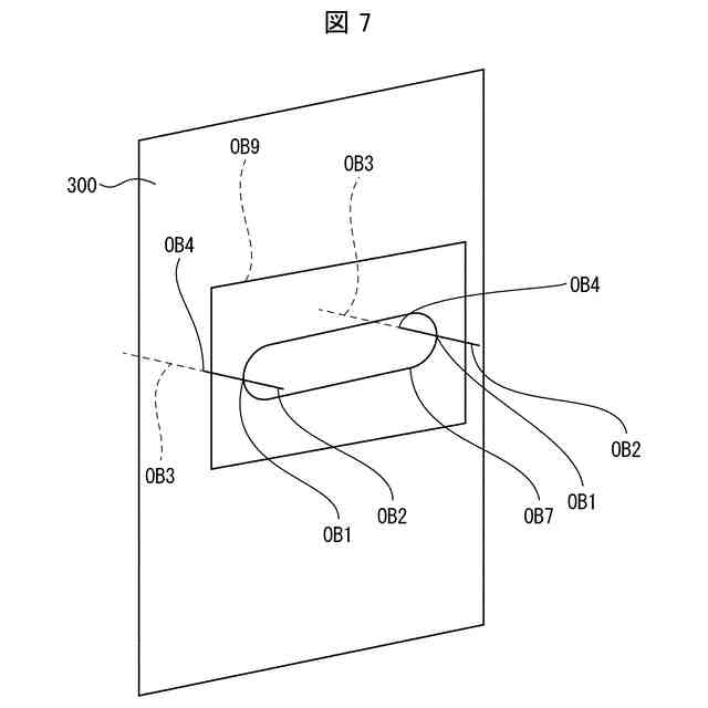
上記の技術を利用して、施工作業対象としての現実空間に施工位置を示す画像をオーバーレイ表示させることが考えられる。ここで、施工位置が点である場合、施工位置を示す画像は、視認性を高めるために、実際の施工位置とは異なる領域にも補助画像として表示することが考えられる。この場合、補助画像と実際の施工位置との区別が作業者にとってわかりにくくなるという問題がある。
【0005】
本発明の一態様は、施工位置を明確に作業者に認識させることが可能な表示装置を提供することを目的とする。
【課題を解決するための手段】
【0006】
上記の課題を解決するために、本発明に係る表示装置は、施工作業対象としての現実空間を視る作業者の視界、または、現実空間を表す画像に対し、前記現実空間の位置に応じた配置で仮想オブジェクトをオーバーレイ表示する表示装置であって、前記仮想オブジェクトとして、前記現実空間に存在する施工面における施工位置を示す施工位置画像を表示する表示制御部を備え、前記表示制御部は、前記施工位置画像として、前記施工位置を含み前記施工面に垂直な線および面の少なくとも一方を有する画像を表示する、構成である。
【0007】
上記の課題を解決するために、本発明に係る表示制御方法は、施工作業対象としての現実空間を視る作業者の視界、または、現実空間を表す画像に対し、前記現実空間の位置に応じた配置で仮想オブジェクトをオーバーレイ表示する表示制御方法であって、前記仮想オブジェクトとして、前記現実空間に存在する施工面における取付対象物の施工位置を示す施工位置画像を表示する表示制御ステップを有し、前記表示制御ステップにおいて、前記施工位置画像として、前記施工位置を含み前記施工面に垂直な線および面の少なくとも一方を有する画像を表示する、方法である。
【0008】
本発明の各態様に係る表示装置は、コンピュータによって実現してもよく、この場合には、コンピュータを前記表示装置が備える各部(ソフトウェア要素)として動作させることにより前記表示装置をコンピュータにて実現させる表示装置の表示制御プログラム、およびそれを記録したコンピュータ読み取り可能な記録媒体も、本発明の範疇に入る。
【発明の効果】
【0009】
本発明によれば、表示装置側で認識している施工面の位置と、現実空間の実際の施工面である施工実面の位置とにずれが生じている場合でも、施工面に垂直な線または面と実際の施工実面との交点に施工を行えばよいことを作業者に認識させることができる。また、垂直な線または面の画像の見え方で、施工面に対して垂直な方向から視認しているかを作業者が認識することができるので、線または面と実際の施工実面とが交わっていない場合でも、施工実面における施工位置を正確に作業者に認識させることができるという効果を奏する。
【図面の簡単な説明】
【0010】
仮想オブジェクトの表示例を示す斜視図である。
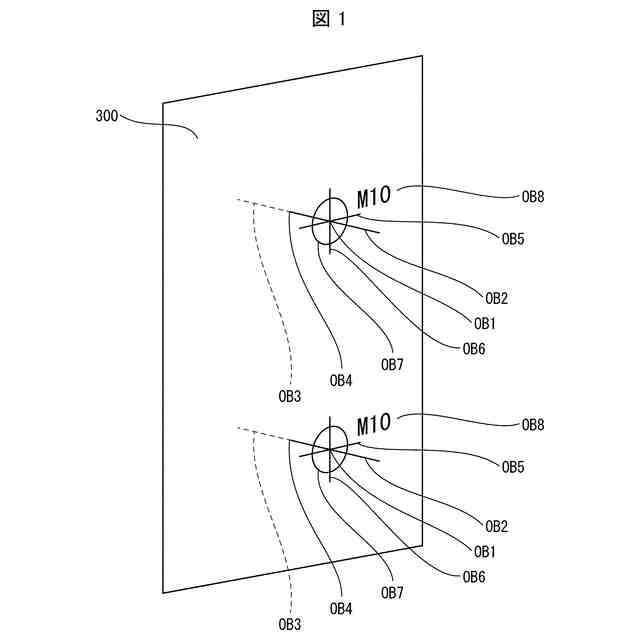
本発明の実施形態に係るスマートグラス1の構成の概略を示すブロック図である。
本実施形態に係るスマートグラス1が安全ヘルメット11に装着された状態を示す図である。
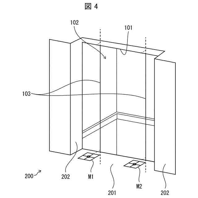
エレベータの施工対象となるエレベータの乗場200および昇降路102の概略を示す斜視図である。
昇降路102の内側から開口部101を見た際の概略を示す斜視図である。
仮想オブジェクトの表示の変形例を示す図である。
仮想オブジェクトの表示の別の変形例を示す図である。
本発明の実施形態に係るエレベータ施工方法の処理の流れを示すフローチャートである。
【発明を実施するための形態】
(【0011】以降は省略されています)
この特許をJ-PlatPat(特許庁公式サイト)で参照する
関連特許
個人
裁判のAI化
2か月前
個人
地球保全システム
6日前
個人
工程設計支援装置
1か月前
個人
フラワーコートA
2か月前
個人
冷凍食品輸出支援構造
1か月前
個人
介護情報提供システム
2か月前
個人
為替ポイント伊達夢貯
1か月前
個人
携帯情報端末装置
1か月前
個人
設計支援システム
2か月前
個人
表変換編集支援システム
26日前
個人
設計支援システム
2か月前
個人
知財出願支援AIシステム
1か月前
個人
結婚相手紹介支援システム
1か月前
個人
行動時間管理システム
28日前
株式会社カクシン
支援装置
2か月前
個人
AIによる情報の売買の仲介
1か月前
個人
パスワード管理支援システム
26日前
株式会社アジラ
進入判定装置
1か月前
個人
パスポートレス入出国システム
1か月前
個人
システム及びプログラム
19日前
日本精機株式会社
施工管理システム
1か月前
株式会社キーエンス
受発注システム
5日前
個人
アンケート支援システム
2か月前
個人
海外支援型農作物活用システム
18日前
株式会社キーエンス
受発注システム
5日前
株式会社キーエンス
受発注システム
5日前
個人
食品レシピ生成システム
5日前
個人
AIキャラクター制御システム
26日前
サクサ株式会社
中継装置
26日前
個人
音声対話型帳票生成支援システム
26日前
個人
SaaS型勤務調整支援システム
26日前
個人
食事受注会計処理システム
1か月前
個人
冷凍加工連携型農場運用システム
1か月前
個人
人格進化型対話応答制御システム
26日前
個人
社会還元・施設向け供給支援構造
26日前
個人
ジェスチャーパッドのガイド部材
2か月前
続きを見る
他の特許を見る