TOP
|
特許
|
意匠
|
商標
特許ウォッチ
Twitter
他の特許を見る
10個以上の画像は省略されています。
公開番号
2025143841
公報種別
公開特許公報(A)
公開日
2025-10-02
出願番号
2024043298
出願日
2024-03-19
発明の名称
行先階登録システム
出願人
フジテック株式会社
代理人
個人
,
個人
,
個人
,
個人
主分類
B66B
1/18 20060101AFI20250925BHJP(巻上装置;揚重装置;牽引装置)
要約
【課題】利用者が、セキュリティゲートを通過した後に登録操作を行わなくても、通過日時に応じた行先階を推測することを可能にする行先階登録システムを提供する。
【解決手段】行先階登録システムは、エレベータへ乗車前の利用者の行先階をセキュリティゲートにおいて登録する。行先階登録システムは、利用者がセキュリティゲートを通過した日時を含む利用者の通過記録データを取得する制御装置を備える。制御装置は、取得された通過記録データと、過去に取得された通過記録データとに基づいて、利用者の行先階を推測する。
【選択図】図2
特許請求の範囲
【請求項1】
エレベータへ乗車前の利用者の行先階をセキュリティゲートにおいて登録する行先階登録システムであって、
前記利用者が前記セキュリティゲートを通過した日時を含む前記利用者の通過記録データを取得する制御装置を備え、
前記制御装置は、前記取得された通過記録データと、過去に取得された前記通過記録データとに基づいて、前記利用者の行先階を推測する、
行先階登録システム。
続きを表示(約 1,100 文字)
【請求項2】
前記制御装置は、
利用者の識別情報と前記識別情報に紐づけられた日時とを含む入力データが入力されると、前記識別情報に対応する行先階を推測するように学習された学習済みモデルに、前記取得された通過記録データを入力し、
前記学習済みモデルから、推測された前記利用者の行先階を示す推測情報を取得し、
前記推測情報に基づいて、前記利用者の行先階を決定する、
請求項1に記載の行先階登録システム。
【請求項3】
前記利用者の操作により、前記推測された行先階を、変更済みの行先階に変更可能な行先階変更装置を更に備え、
前記制御装置は、前記入力データと前記変更済みの行先階を示すデータとを含むデータセットを訓練データセットとして前記学習済みモデルに学習させる、
請求項2に記載の行先階登録システム。
【請求項4】
前記推測情報は、複数の所定階のそれぞれについて、当該所定階が前記利用者の行先階である確率を示す情報である、請求項2又は3に記載の行先階登録システム。
【請求項5】
表示装置と入力装置とを更に備え、
前記制御装置は、
前記複数の所定階に関する確率がいずれも所定の閾値未満である場合、前記表示装置に前記利用者が選択可能な階床を表示させ、
前記入力装置を介して、前記選択可能な階床の中から1つの階床を選択する前記利用者の入力操作を受け付け、
前記入力操作に基づいて、前記利用者の行先階を決定する、
請求項4に記載の行先階登録システム。
【請求項6】
セキュリティゲートを通過したエレベータへ乗車前の利用者の行先階を前記セキュリティゲートにおいて登録する行先階登録方法であって、
前記利用者が前記セキュリティゲートを通過した日時を含む前記利用者の通過記録データを取得するステップと、
前記取得された通過記録データと、過去に取得された前記通過記録データに基づいて、前記利用者の行先階を推測するステップと、
を含む、行先階登録方法。
【請求項7】
エレベータへ乗車前の利用者の行先階をセキュリティゲートにおいて登録する行先階登録システムにおいて用いられる学習モデルに学習をさせる学習方法であって、
前記利用者が前記セキュリティゲートを通過した日時を含む前記利用者の通過記録データと、前記利用者の行先階を示す行先階データとを取得するステップと、
前記通過記録データと前記行先階データとを含むデータセットを訓練データセットとして、前記学習モデルに学習をさせるステップと、
を含む、学習方法。
発明の詳細な説明
【技術分野】
【0001】
本発明は、行先階登録システムに関する。
続きを表示(約 1,800 文字)
【背景技術】
【0002】
特許文献1は、セキュリティゲートのカードリーダにより、利用者のセキュリティカードからID番号などの利用者情報を取得し、取得した利用者情報と記憶部などに記憶されている利用者情報とを比較することにより利用者の認証を行うエレベータシステムを開示している。
【先行技術文献】
【特許文献】
【0003】
特許第7379592号公報
【発明の概要】
【発明が解決しようとする課題】
【0004】
本発明は、利用者が、セキュリティゲートを通過した後に登録操作を行わなくても、通過日時に応じた行先階を推測することを可能にする行先階登録システムを提供する。
【課題を解決するための手段】
【0005】
本発明の一態様に係るエレベータシステムは、エレベータへ乗車前の利用者の行先階をセキュリティゲートにおいて登録する行先階登録システムであって、
前記利用者が前記セキュリティゲートを通過した日時を含む前記利用者の通過記録データを取得する制御装置を備え、
前記制御装置は、前記取得された通過記録データと、過去に取得された前記通過記録データとに基づいて、前記利用者の行先階を推測する。
【発明の効果】
【0006】
本発明によると、利用者が、セキュリティゲートを通過した後に登録操作を行わなくても、通過日時に応じた行先階を推測することができる。
【図面の簡単な説明】
【0007】
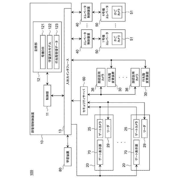
実施の形態1に係るエレベータシステムが適用されるビルの特定階における機器配置を示した概略平面図
エレベータシステムの構成を例示したブロック図
エレベータ制御装置の構成を例示したブロック図
セキュリティゲートの電気的構成を例示したブロック図
セキュリティゲートの外観を例示した斜視図
セキュリティサーバの電気的構成を例示したブロック図
行先階変更装置の電気的構成を例示したブロック図
学習装置の電気的構成を例示したブロック図
利用者DBの構成例を示す図
セキュリティゲートDBの構成例を示す図
行先階変更装置DBの構成例を示す図
号機DBの構成例を示す図
通過記録データの一例を示す図
変更記録データの一例を示す図
行先階管理データの一例を示す図
行先階決定動作を説明するフローチャート
学習済みモデルの構成例を示す概略図
学習動作を説明するフローチャート
第3変形例におけるセキュリティゲートの電気的構成を例示したブロック図
第3変形例におけるゲート表示器及びタッチパネルを例示する図
【発明を実施するための形態】
【0008】
(発明の背景)
セキュリティゲート連動式の行先階登録システムは、何らかの個人認証を行うことで、デフォルト行先階が割り当てられた号機を利用者に案内する。しかし、利用者は、デフォルト行先階とは異なる階に行くことを希望する場合がある。このような場合、利用者は、毎回、エレベータ乗場に設置される行先階登録装置で行先階を登録する必要があった。
【0009】
例えば、オフィスビルの行先階登録システムにおいて、利用者Aのデフォルト行先階として、利用者Aの執務室のある10階が登録されているとする。利用者Aは、出勤時には執務室のある10階に行くが、ビルの外で昼食を取った後には喫煙室のある9階に行くことが多い。すなわち、利用者Aが10階に行くか9階に行くかは、利用者Aがセキュリティゲートを通過した時刻によって変わり得る。昼食後には毎回のように行先階登録装置で行先階を変更しなければならないことは、利用者Aにとって面倒である。
【0010】
そこで、本発明は、上記のような課題に鑑み、利用者が、セキュリティゲートを通過した後に利用者による登録操作を行わなくても、通過日時に応じた行先階を推測することを可能にするエレベータシステムを提供する。これにより、利用者は、セキュリティゲートを通過した後、行先階登録装置で行先階を変更することなくエレベータのかごに乗車することが可能となる。
(【0011】以降は省略されています)
この特許をJ-PlatPat(特許庁公式サイト)で参照する
関連特許
フジテック株式会社
エレベータ
17日前
フジテック株式会社
エレベータ
17日前
フジテック株式会社
エレベータ
7日前
フジテック株式会社
マンコンベヤ
7日前
フジテック株式会社
マンコンベヤ
11日前
フジテック株式会社
マンコンベヤ
7日前
フジテック株式会社
エレベータシステム
7日前
フジテック株式会社
行先階登録システム
4日前
フジテック株式会社
カスタマイズシステム
3日前
フジテック株式会社
マンコンベヤシステム
3日前
フジテック株式会社
情報処理システム、制御方法
7日前
フジテック株式会社
エレベータのかご及びエレベータ
11日前
フジテック株式会社
マンコンベヤ及びマンコンベヤの製造方法
11日前
フジテック株式会社
エレベータのかごドア開閉装置及びエレベータ
10日前
フジテック株式会社
ロボット管理装置、ロボット、及びプログラム
10日前
フジテック株式会社
ロボット管理装置、ロボット、及びプログラム
10日前
フジテック株式会社
ロボット管理装置、ロボット、及びプログラム
10日前
フジテック株式会社
マンコンベヤ手摺ベルト用回転体及びマンコンベヤ
17日前
フジテック株式会社
表示装置、表示制御方法、および、表示制御プログラム
3日前
フジテック株式会社
表示装置、表示制御方法、および、表示制御プログラム
3日前
フジテック株式会社
表示装置、表示制御方法、および、表示制御プログラム
3日前
フジテック株式会社
マンコンベヤ
7日前
フジテック株式会社
行先階登録システム
4日前
フジテック株式会社
マンコンベヤシステム
3日前
フジテック株式会社
エレベータ施工方法、表示装置、表示制御方法、および、表示制御プログラム
3日前
フジテック株式会社
エレベータ施工方法、表示装置、表示制御方法、および、表示制御プログラム
3日前
個人
自走手摺
2か月前
ユニパルス株式会社
吊具
4か月前
個人
海上コンテナ昇降装置
9か月前
ユニパルス株式会社
荷役装置
9か月前
ユニパルス株式会社
吊具装置
10か月前
水戸工業株式会社
吊り具
6か月前
株式会社いうら
車椅子用昇降機
2か月前
株式会社豊田自動織機
産業車両
25日前
株式会社豊田自動織機
荷役車両
9か月前
ユニパルス株式会社
リフト装置
4か月前
続きを見る
他の特許を見る