TOP
|
特許
|
意匠
|
商標
特許ウォッチ
Twitter
他の特許を見る
公開番号
2025145437
公報種別
公開特許公報(A)
公開日
2025-10-03
出願番号
2024045615
出願日
2024-03-21
発明の名称
表示装置、表示制御方法、および、表示制御プログラム
出願人
フジテック株式会社
代理人
弁理士法人 HARAKENZO WORLD PATENT & TRADEMARK
主分類
G06T
19/00 20110101AFI20250926BHJP(計算;計数)
要約
【課題】現実空間の位置に応じた配置で仮想オブジェクトをオーバーレイ表示する表示装置を用いたエレベータの施工作業において、表示されている施工参照情報が、どの階に対応する情報であるのかを明確に作業者に提示することが可能な表示装置を提供する。
【解決手段】スマートグラス(1)は、現実空間の所定の位置に設置されたマーカーを画像認識することによって、エレベータの昇降路を含む現実空間の位置を認識する位置認識部(22)と、マーカーに基づいて、仮想オブジェクトを現実空間にオーバーレイ表示させる表示制御部(21)と、を備え、表示制御部(21)は、所定の階に対応する仮想オブジェクトの表示態様と、所定の階とは異なる階に対応する仮想オブジェクトの表示態様とを異ならせる。
【選択図】図2
特許請求の範囲
【請求項1】
エレベータの昇降路を含む現実空間を視る作業者の視界、または、前記現実空間を表す画像に対し、前記現実空間の位置に応じた配置で仮想オブジェクトをオーバーレイ表示する表示装置であって、
前記現実空間の所定の位置に設置されたマーカーを画像認識することによって、前記エレベータの前記昇降路を含む前記現実空間の位置を認識する位置認識部と、
前記マーカーに基づいて、前記仮想オブジェクトとして前記エレベータの施工に関する施工参照情報を前記現実空間にオーバーレイ表示させる表示制御部と、を備え、
前記表示制御部は、所定の階に対応する前記施工参照情報の表示態様と、前記所定の階とは異なる階に対応する前記施工参照情報の表示態様とを異ならせる、表示装置。
続きを表示(約 900 文字)
【請求項2】
前記表示制御部は、前記作業者が存在している階を前記所定の階として表示する、請求項1に記載の表示装置。
【請求項3】
前記表示制御部は、前記作業者が存在している階に加えて、前記作業者が存在している階の1つ上の階および1つ下の階の少なくともいずれか一方を前記所定の階として表示する、請求項2に記載の表示装置。
【請求項4】
前記表示制御部は、所定の階に対応する前記施工参照情報の前記表示態様と、前記所定の階とは異なる階に対応する前記施工参照情報の前記表示態様とを、濃度、色、および模様の少なくともいずれか一つによって異ならせる、請求項1に記載の表示装置。
【請求項5】
前記位置認識部は、認識した前記マーカーに含まれる情報に基づいて、前記作業者が存在している前記階を特定し、
前記表示制御部は、前記位置認識部によって認識された前記階に応じた前記施工参照情報を表示させる、請求項1に記載の表示装置。
【請求項6】
エレベータの昇降路を含む現実空間を視る作業者の視界、または、前記現実空間を表す画像に対し、前記現実空間の位置に応じた配置で仮想オブジェクトをオーバーレイ表示する表示制御方法であって、
前記現実空間の所定の位置に設置されたマーカーを画像認識することによって、前記エレベータの前記昇降路を含む前記現実空間の位置を認識する位置認識ステップと、
前記マーカーに基づいて、前記仮想オブジェクトとして前記エレベータの施工に関する施工参照情報を前記現実空間にオーバーレイ表示させる表示制御ステップと、を有し、
前記表示制御ステップにおいて、所定の階に対応する前記施工参照情報の表示態様と、前記所定の階とは異なる階に対応する前記施工参照情報の表示態様とを異ならせる、表示制御方法。
【請求項7】
請求項1に記載の表示装置としてコンピュータを機能させるための表示制御プログラムであって、前記位置認識部、および、前記表示制御部としてコンピュータを機能させるための表示制御プログラム。
発明の詳細な説明
【技術分野】
【0001】
本発明は、現実空間を視る作業者の視界、または、現実空間を表す画像に対し、現実空間の位置に応じた配置で仮想オブジェクトをオーバーレイ表示する表示装置に関する。
続きを表示(約 2,000 文字)
【背景技術】
【0002】
従来、建設作業などにおいて、作業者に装着されるスマートグラスなどの表示装置に、施工作業に必要な情報を現実空間と重ね合わせて表示させた状態で施工作業を行う手法が提案されている。例えば特許文献1には、現実空間をスキャンして空間形状を認識し、図面データを現実空間に合わせてスケーリングして、現実空間にマッピングして表示する投影装置が開示されている。
【先行技術文献】
【特許文献】
【0003】
特開2018-163466号公報
【発明の概要】
【発明が解決しようとする課題】
【0004】
建築物の建設途中段階では、エレベータの昇降路と乗場との間には扉が設置されていない状況がある。このような状況において、表示装置が現実空間の位置を認識するためのマーカーを例えば各階に対応して設置する場合、昇降路の空間を介して複数のマーカーが表示装置で認識されることが考えられる。この場合、表示されている施工参照情報が、どの階に対応する情報であるのかが不明確になることが考えられる。
【0005】
本発明の一態様は、現実空間の位置に応じた配置で仮想オブジェクトをオーバーレイ表示する表示装置を用いたエレベータの施工作業において、表示されている施工参照情報が、どの階に対応する情報であるのかを明確に作業者に提示することが可能な表示装置を提供することを目的とする。
【課題を解決するための手段】
【0006】
上記の課題を解決するために、本発明に係る表示装置は、エレベータの昇降路を含む現実空間を視る作業者の視界、または、前記現実空間を表す画像に対し、前記現実空間の位置に応じた配置で仮想オブジェクトをオーバーレイ表示する表示装置であって、前記現実空間の所定の位置に設置されたマーカーを画像認識することによって、前記エレベータの前記昇降路を含む前記現実空間の位置を認識する位置認識部と、前記マーカーに基づいて、前記仮想オブジェクトとして前記エレベータの施工に関する施工参照情報を前記現実空間にオーバーレイ表示させる表示制御部と、を備え、前記表示制御部は、所定の階に対応する前記施工参照情報の表示態様と、前記所定の階とは異なる階に対応する前記施工参照情報の表示態様とを異ならせる、構成である。
【0007】
上記の課題を解決するために、本発明に係る表示制御方法は、エレベータの昇降路を含む現実空間を視る作業者の視界、または、前記現実空間を表す画像に対し、前記現実空間の位置に応じた配置で仮想オブジェクトをオーバーレイ表示する表示制御方法であって、前記現実空間の所定の位置に設置されたマーカーを画像認識することによって、前記エレベータの前記昇降路を含む前記現実空間の位置を認識する位置認識ステップと、前記マーカーに基づいて、前記仮想オブジェクトとして前記エレベータの施工に関する施工参照情報を前記現実空間にオーバーレイ表示させる表示制御ステップと、を有し、前記表示制御ステップにおいて、所定の階に対応する前記施工参照情報の表示態様と、前記所定の階とは異なる階に対応する前記施工参照情報の表示態様とを異ならせる、方法である。
【0008】
本発明の各態様に係る表示装置は、コンピュータによって実現してもよく、この場合には、コンピュータを前記表示装置が備える各部(ソフトウェア要素)として動作させることにより前記表示装置をコンピュータにて実現させる表示装置の表示制御プログラム、およびそれを記録したコンピュータ読み取り可能な記録媒体も、本発明の範疇に入る。
【発明の効果】
【0009】
本発明によれば、表示されている施工参照情報が、所定の階に対応する情報であるのか、それ以外の階に対応する情報であるのかを作業者が容易に判別することができるという効果を奏する。
【図面の簡単な説明】
【0010】
仮想オブジェクトの表示例を示す斜視図である。
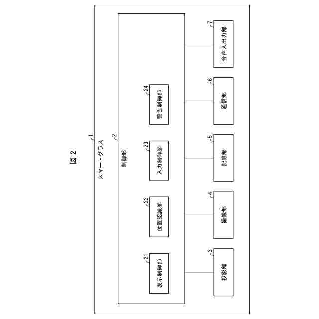
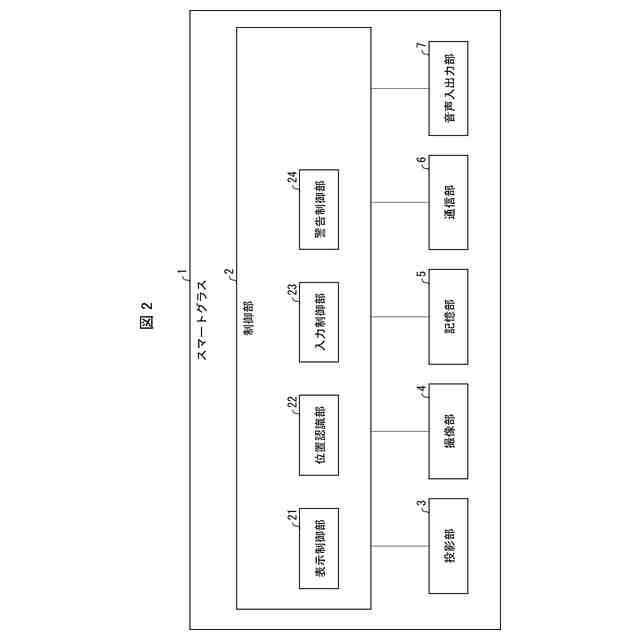
本発明の実施形態に係るスマートグラス1の構成の概略を示すブロック図である。
本実施形態に係るスマートグラス1が安全ヘルメット11に装着された状態を示す図である。
エレベータの施工対象となるエレベータの乗場200および昇降路102の概略を示す斜視図である。
昇降路102の内側から開口部101を見た際の概略を示す斜視図である。
施工参照情報を示す施工参照データDATのデータ構造を示す図である。
本発明の実施形態に係るエレベータ施工方法の処理の流れを示すフローチャートである。
【発明を実施するための形態】
(【0011】以降は省略されています)
この特許をJ-PlatPat(特許庁公式サイト)で参照する
関連特許
フジテック株式会社
エレベータ
8日前
フジテック株式会社
マンコンベヤ
12日前
フジテック株式会社
マンコンベヤ
8日前
フジテック株式会社
マンコンベヤ
8日前
フジテック株式会社
行先階登録システム
5日前
フジテック株式会社
エレベータシステム
8日前
フジテック株式会社
マンコンベヤシステム
4日前
フジテック株式会社
カスタマイズシステム
4日前
フジテック株式会社
情報処理システム、制御方法
8日前
フジテック株式会社
エレベータのかご及びエレベータ
12日前
フジテック株式会社
マンコンベヤ及びマンコンベヤの製造方法
12日前
フジテック株式会社
ロボット管理装置、ロボット、及びプログラム
11日前
フジテック株式会社
ロボット管理装置、ロボット、及びプログラム
11日前
フジテック株式会社
ロボット管理装置、ロボット、及びプログラム
11日前
フジテック株式会社
エレベータのかごドア開閉装置及びエレベータ
11日前
フジテック株式会社
表示装置、表示制御方法、および、表示制御プログラム
4日前
フジテック株式会社
表示装置、表示制御方法、および、表示制御プログラム
4日前
フジテック株式会社
表示装置、表示制御方法、および、表示制御プログラム
4日前
フジテック株式会社
マンコンベヤ
8日前
フジテック株式会社
行先階登録システム
5日前
フジテック株式会社
マンコンベヤシステム
4日前
フジテック株式会社
エレベータ施工方法、表示装置、表示制御方法、および、表示制御プログラム
4日前
フジテック株式会社
エレベータ施工方法、表示装置、表示制御方法、および、表示制御プログラム
4日前
個人
裁判のAI化
2か月前
個人
工程設計支援装置
1か月前
個人
地球保全システム
6日前
個人
情報処理システム
2か月前
個人
フラワーコートA
2か月前
個人
検査システム
3か月前
個人
介護情報提供システム
2か月前
個人
為替ポイント伊達夢貯
1か月前
個人
冷凍食品輸出支援構造
1か月前
個人
表変換編集支援システム
26日前
個人
携帯情報端末装置
1か月前
個人
設計支援システム
2か月前
個人
設計支援システム
2か月前
続きを見る
他の特許を見る